МИНИСТЕРСТВО ТРАНСПОРТА РОССИЙСКОЙ ФЕДЕРАЦИИ
ГОСУДАРСТВЕННАЯ СЛУЖБА
ДОРОЖНОГО ХОЗЯЙСТВА
(РОСАВТОДОР)
ЦЕНТР
ОРГАНИЗАЦИИ ТРУДА И ЭКОНОМИЧЕСКИХ
МЕТОДОВ УПРАВЛЕНИЯ
(ЦЕНТРОРГТРУД)
СБОРНИК КАРТ
ТРУДОВЫХ
ПРОЦЕССОВ НА РЕМОНТ И
СОДЕРЖАНИЕ АВТОМОБИЛЬНЫХ ДОРОГ
Карта трудового процесса
Укладка
черного щебня
щебнераспределителем Д-337А
КТП-1.10.2001
Издание второе, переработанное и дополненное.
(Выпуск 1)
Москва, 2001 г.
Карты трудовых процессов предназначены для совершенствования организации труда рабочих, занятых на ремонте и содержании автомобильных дорог.
Карты определяют прогрессивную технологию работ, рациональное использование рабочего времени, технологическую последовательность выполнения работ на основе передовых приемов и методов труда.
Карты могут быть использованы при разработке организационно-технологической документации при ремонте и содержании автомобильных дорог (ППР и другие), планировании работ, а также в учебных целях при подготовке высококвалифицированных рабочих.
Сборник карт трудовых процессов подготовлен инженерами А.И. Анашко, Е.В. Купцовой, Т.В. Страховой.
Ответственный за выпуск А.А. Морозов.
СОДЕРЖАНИЕ
|
1. Область и эффективность применения карты.. 1 2. Подготовка и условия выполнения процесса. 2 3. Исполнители, предметы и орудия труда. 2 |
|
Карта трудового процесса |
Укладка черного щебня щебнераспределителем Д-337А |
Разработана ГП Центроргтруд Росавтодора |
|
КТП-1.10.2001 |
Взамен КТ-7.05.89 |
1.1. Карта предназначена для рациональной организации труда рабочих при укладке черного щебня слоем 6 см щебнераспределителем Д-337 при ремонте дорожных покрытий.
1.2. Показатели производительности труда:
|
№ п/п |
Наименование показателей |
Единица измерения |
Величина показателей |
|
|
по ЕНиР |
по карте |
|||
|
1. |
Выработка на 1 чел.-день |
м2 |
909 |
941 |
|
2. |
Затраты труда на 100 м2 покрытия |
чел.-час |
0,88 |
0,85 |
Примечание: В затраты труда по карте включено время на подготовительно заключительные работы - 5 % и отдых - 10 %.
Использование методов и приемов труда, рекомендованных картой, позволит повысить выработку на 4 %.
2.1. Работы по устройству покрытий и оснований из горячего щебня следует выполнять весной при температуре воздуха не ниже +5 °С и осенью не ниже +10 °С.
2.2. Поверхность под покрытие должна быть сухой, ровной и чистой.
2.3. Перед укладкой смеси (за 3 - 5 часов) необходимо провести обработку нижнего слоя битумной эмульсией или жидким битумом марки БНД-90/130, БНД-60/90.
2.4. Перед укладкой смеси проверяют наличие паспорта на смесь, в котором указаны ее вид, температура, время отправки и качество.
2.5. Для перевозки горячего черного щебня следует использовать автосамосвалы с металлическим кузовом, внутренние стенки и дно которых во избежание прилипания смеси обработаны мазутом или нефтью с помощью специальных распылителей или вручную.
2.6. Рабочие должны быть обеспечены спецодеждой и спецобувью в соответствии с типовыми нормами.
2.7. К работе допускаются рабочие, прошедшие инструктаж по технике безопасности с учетом специфики работ по данному трудовому процессу.
3.1. Исполнители.
1. Машинист щебнераспределителя 6 разряд (М1) 1
2. Асфальтобетонщик 3 разряд (А1) 1
3. Асфальтобетонщик 2 разряд (А2-3) 2
3.2. Машины, оборудование, инструменты, приспособления, инвентарь.
|
№ п/п |
Наименование |
Кол-во |
|
1 |
2 |
3 |
|
1. |
Щебнераспределитель Д-337А |
1 |
|
2. |
Лопата строительная |
3 |
|
3. |
Грабли металлические |
1 |
|
4. |
Линейка металлическая измерительная |
1 |
|
5. |
Шаблон с уровнем |
1 |
|
6. |
Ведро |
1 |
|
7. |
Кувалда кузнечная |
1 |
|
8. |
Контрольная рейка |
1 |
3.3. Спецодежда и спецобувь.
1. Комбинезон хлопчатобумажный 1
2. Полукомбинезон хлопчатобумажный 3
3. Ботинки кожаные 4 пары
4. Рукавицы комбинированные 1 пара
5. Рукавицы брезентовые 3 пары
6. Наколенники брезентовые 3 пары
7. Жилет сигнальный 3
3.4. Норма расхода материалов: щебень размером 20 - 40 мм - 115т/1000 м2, битум БНД-90/130, БНД-60/90 - 1,05 т/1000 м2.
4.1. Технологический процесс по укладке черного щебня включает следующие операции для машиниста:
- приведение рабочих органов щебнераспределителя в рабочее положение;
- распределение и укладка щерного щебня;
- очистка рабочих органов щебнераспределителя от остатков черного щебня и проверка их после окончания работы.
Для рабочих:
- устройство упорного валика из песка;
- регулирование подхода автомобиля к бункеру;
- прием смеси в бункер;
- распределение смеси в бункере;
- устранение дефектов в уложенном слое;
- обрубка краев свежеуложенного черного щебня со смазкой мест примыкания битумом.
4.2. График трудового процесса

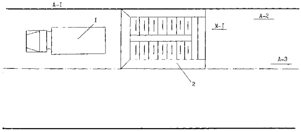
4.3. Схема организации рабочего места

1 - автосамосвал, 2 - щебнераспределитель.
|
№ п/п |
Наименование операций |
Характеристика приемов труда |
|
1 |
2 |
3 |
|
1. |
Приведение рабочих органов щебнераспределителя в рабочее положение |
М1 - заводит двигатель, проверяет наличие топлива. |
|
2. |
Устройство упорного валика из песка |
А2, А3 - устраивают валик из песка. |
|
3. |
Регулирование подхода автомобиля к бункеру |
А1 - подает сигнал автосамосвалу, доставляющему смесь и регулирует подход автосамосвала к бункеру. |
|
4. |
Прием смеси в бункер |
А1 - принимает смесь в бункер распределителя, находясь у приемного бункера, помогает выгрузке, наблюдает за тем, чтобы в бункер не попадали посторонние предметы, могущие вызвать поломку рабочих органов, подает сигнал на отход автосамосвала, ведет учет поступающей смеси. |
|
5. |
Распределение и укладка смеси в бункере |
|
|
6. |
Распределение и укладка смеси |
М1 - питателем из бункера подает смесь к распределительному шнеку. Распределенная смесь предварительно уплотняется трамбующим брусом, а затем заглаживается выглаживающей плитой. |
|
7. |
Очистка рабочих органов щебнераспределителя от остатков смеси |
М1 - после окончания работы очищает рабочие органы щебнераспределителя от остатков черного щебня, проверяет их после окончания работы. |
|
8. |
Устранение дефектов в уложенном слое |
А2А3 - после выявления дефектных мест контрольной рейкой устраняют их, взрыхляют граблями поверхность, лопатами добавляют свежую смесь или снимают излишки и заглаживают. |
|
9. |
Обрубка краев свежеуложенной смеси |
А1, А2, А3 - обрубают кромки черного щебня, места примыкания смазывают битумом и удаляет отходы материала. |