РОССИЙСКОЕ АКЦИОНЕРНОЕ ОБЩЕСТВО ЭНЕРГЕТИКИ
И ЭЛЕКТРИФИКАЦИИ «ЕЭС РОССИИ»
Департамент научно-технической политики и развития
ТИПОВАЯ ИНСТРУКЦИЯ
ПО ЦЕМЕНТАЦИИ ТРЕЩИН В БЕТОНЕ
ГИДРОТЕХНИЧЕСКИХ СООРУЖЕНИЙ
РД 153-34.2-21.625-2003
ОАО «ВНИИГ им. Б.Е. Веденеева»
Санкт-Петербург
2003
Разработано Открытым акционерным обществом «Всероссийский научно-исследовательский институт гидротехники им. Б.Е. Веденеева»
Исполнители B.C. СУЛИМОВ, Л.Ф. ФУРСОВ
Согласовано с ООО «Специальный проектно-изыскательский институт «Гидроспецпроект» 31.07.2002 г.
Генеральный директор С.М. ВОСКРЕСЕНСКИЙ
Утверждено Департаментом научно-технической политики и развития РАО «ЕЭС России» 24.01.2003 г.
Заместитель начальника А.В. БОБЫЛЕВ
Срок первой проверки настоящего РД - 2007 г.
Периодичность проверки - один раз в 5 лет
Ключевые слова: бетонная плотина, трещины, ремонтные материалы, технологические схемы, оборудование, контроль качества
|
Типовая инструкция по цементации трещин в бетоне гидротехнических сооружений |
РД 153-34.2-21.625-2003 Взамен ВСН 14-78 |
Дата введения 2004-01-01
Назначение и область применения
1.1. В настоящей Типовой инструкции изложены основные мероприятия и требования по цементации трещин в бетоне гидротехнических сооружений.
1.2. Цементацию трещин в бетоне гидротехнических сооружений производят с целью восстановления монолитности, устранения фильтрации через трещины и повышения водонепроницаемости сооружения в целом.
1.3. Работы по укреплению и уплотнению бетона, имеющего трещины, должны осуществляться по проекту, составленному на основании проведенного обследования и согласованному с организациями, выполняющими ремонтные работы и эксплуатирующими сооружения.
1.4. Сущность способа цементации заключается в том, что в трещины бетона через пробуренные скважины или установленные на трещинах патрубки нагнетают инъекционный раствор, который после твердения превращается в плотный, водонепроницаемый и нерастворимый в воде материал, заполняющий трещины и пустоты и препятствующий фильтрации через них воды.
1.5. Для повышения водонепроницаемости, уменьшения усадочных явлений, улучшения проникаемости, регулирования сроков схватывания в цементные растворы следует вводить специальные добавки, использовать активированные растворы или домолотые и сепарированные цементы.
1.6. Положения Типовой инструкции при использовании цементных растворов распространяются на уплотнение трещин в теле бетонных плотин, зданий гидроэлектростанций, насосных станций энергетических сооружений, каналов, туннелей с раскрытием трещин в бетоне не менее 0,3 мм. При более тонкой трещиноватости, а также при наличии высоких градиентов фильтрующейся воды следует применять специальные инъекционные композиции на полимерной основе.
1.7. Типовая инструкция не распространяется на цементацию строительных швов столбчатой разрезки в гравитационных и арочных плотинах, на ремонт кавернозного бетона и инъекцию трещин при отрицательных температурах бетонного массива.
Нормативные ссылки
ГОСТ 23732-79. Вода для бетонов и растворов. Технические условия.
ГОСТ 10178-85. Портландцемент и шлакопортландцемент. Технические условия.
ГОСТ 8735-88. Песок для строительных работ. Методы испытаний.
ГОСТ 22266-94. Цементы сульфатостойкие. Технические условия.
ГОСТ 1581-96. Портландцементы тампонажные. Технические условия.
СНиП III-4-80*. Техника безопасности в строительстве.
СНиП 12-03-2001. Безопасность труда в строительстве. Часть 1. Общие требования.
Положение о системе отраслевого надзора за безопасностью гидротехнических сооружений электростанций: РД 34.03.102-94, СПО ОРГРЭС.
Правила технической эксплуатации электрических станций и сетей Российской Федерации: РД 34.20.50-95, СПО ОРГРЭС.
2.1. Натурные наблюдения за состоянием эксплуатируемых гидротехнических сооружений должны вестись в соответствии с действующими нормативными документами и положениями: Положение о системе отраслевого надзора за безопасностью гидротехнических сооружений электростанций: РД 34.03.102-94, СПО ОРГРЭС; Правила технической эксплуатации электрических станций и сетей Российской Федерации: РД 34.20.50-95, СПО ОРГРЭС.
2.2. При обнаружении повреждений бетона сооружения производится обследование сооружения для установления причин повреждений, анализа состояния бетона, степени опасности дефекта, предварительной оценки объемов ремонтных работ.
2.3. При обследовании сооружения необходимо руководствоваться действующими нормативными документами и расчетными исследованиями, определяющими эксплуатационную надежность сооружения. Принимая во внимание требования, предъявляемые к обследованию, в состав комиссии должны входить представители службы эксплуатации сооружения, проектной и научно-исследовательской организаций.
2.4. В ходе обследования производится регистрация повреждений бетона с указанием их характера, размеров и возможных причин появления. При обнаружении трещин, которые могут изменить условия статической работы сооружения или привести к недопустимой фильтрации, могут быть приняты особые решения, включающие перечень необходимых мер для наблюдения за поведением этих трещин в процессе эксплуатации. К таким мерам можно отнести: установку маяков, мессур, в случае недоступности для визуального наблюдения, щелемеров, использование ультразвуковых методов, дренирование трещин и т.п.
Результаты обследования оформляют в виде пояснительной записки с приложением журнала обследований и чертежей освидетельствованных сооружений с нанесением обнаруженных дефектов. На чертежах трещины зарисовывают с указанием мест установки маяков, марок, мессур (Приложение 1).
2.5. При нарастании расхода фильтрации наблюдения учащаются и организация, ведущая наблюдения, должна доводить сведения о процессе фильтрации до проектной и научно-исследовательской организаций.
2.6. При наличии зон дефектного бетона и фильтрующих трещин, находящихся в местах недоступных для визуального наблюдения, производится бурение специальных исследовательских скважин. Расположение скважин в пространстве, их диаметр, глубина и т.п. согласовываются с проектной организацией.
2.7. В общем случае расстояние между исследовательскими скважинами определяется характером трещиноватости бетона, а их глубина должна быть достаточной для испытания всей трещиноватой зоны бетона.
2.8. Бурение исследовательских скважин следует производить с отбором и описанием керна, а также с оценкой водопоглощения пробуренных зон с последующей привязкой обнаруженных трещин к высотным и плановым отметкам.
В дальнейшем исследовательские скважины используют как рабочие инъекционные. В случае, если исследованиями установлено, что инъекцию выполнять не следует, скважины необходимо зацементировать цементно-песчаным раствором.
2.9. При определении водопоглощения трещин следует использовать гидравлические тампоны (одинарные, двойные), позволяющие достаточно четко фиксировать местоположение трещин, зон разуплотнения и т.п.
2.10. При наличии напорных трещин рекомендуется для определения общего расхода воды через скважину использовать устройство, включающее манометр и расходомер. Для замера таким способом необходимо, чтобы скважина была оборудована устьевым тампоном с поворотным краном.
2.11. Результаты выполненных замеров давления и расхода наносятся на схему трещины с целью определения линий тока и получения картины распределения потока воды в трещине.
2.12. В общем случае водопроницаемость бетона определяется путем нагнетания воды в скважину или зону скважины и оценивается величиной удельного водопоглощения (q), вычисляемой по формуле
(л/мин·м2),
где Q - расход воды, поглощаемый скважиной (зоной), л/мин; l - длина опробуемой зоны, м; Н - напор воды, м.
Следует заметить, что величина удельного водопоглощения является интегральной характеристикой и дает лишь качественную оценку фильтрационных свойств бетона тогда, как в большинстве случаев фильтрация происходит по отдельным трещинам, каналам, строительным швам и т.п. Это обстоятельство является определяющим при назначении концепции ремонта и поэтому при невозможности визуального или инструментального обнаружения мест крупных нарушений необходимо изучить исполнительную документацию по условиям укладки бетона, в частности, выяснить местоположение строительных швов, наличие закладных элементов и т.п., т.е. мест, провоцирующих повреждение бетона по зонам с различными составом и характеристиками бетона.
2.13. Опробование исследовательских скважин глубиной более 6 - 8 м следует производить по отдельным зонам. Протяженность зоны должна приниматься от 2 до 5 м, а в случае развитой трещиноватости (наличие системы трещин) бетона она уменьшается до 1 м.
2.14. На основании результатов обследования составляется дефектная ведомость и заключение, в котором делается вывод о возможных причинах появления повреждений и вырабатывается концепция выполнения работ.
2.15. По согласованию с эксплуатирующей и проектной организациями и исполнителем ремонтных работ определяется участок для проведения опытно-производственных исследований по проверке предложенной концепции ремонта. Опытные участки назначаются в местах, имеющих характерные для данного сооружения повреждения бетона.
2.16. Опытно-производственными исследованиями устанавливается порядок производства работ, пригодность выбранных материалов, отрабатывается технология бурения и нагнетания растворов, корректируется их рецептура.
2.17. В стадии подготовки к проведению работ по лечению трещин (в том числе на опытных участках) должны учитываться:
тип сооружения, конструкция, состояние бетона;
характер трещин, величина и глубина их раскрытия, влияние поведения трещин на опасность с точки зрения монолитности и водопроявлений;
величина напора, скорость фильтрационного потока;
температурный режим бетонной кладки,
а также рассматриваться следующие вопросы:
необходимость и техническая возможность лечения трещин;
технология инъектирования;
используемые материалы;
ориентировочный объем работ;
последовательность инъектирования;
перечень необходимого оборудования.
На основании результатов обследования и данных опытно-производственных исследований составляется проект производства работ.
Проект должен содержать:
классификацию дефектов;
объемы работ, смету, календарный график;
схему организации работ;
порядок производства работ;
типовые решения по устранению наиболее характерных повреждений, включающие:
а) способы заделки выходов воды из трещины;
б) план расположения, направление (угол) скважин для нагнетания и дренажа, их диаметр, последовательность обработки, тип бурения;
в) данные о давлении, продолжительность нагнетания, критерий окончания инъекции;
г) перечень и характеристики необходимого стандартного и нестандартного оборудования;
д) требования к инъекционным материалам;
е) контрольные мероприятия;
ж) расположение оборудования и трасс цементационных труб в плане и по высоте сооружения.
В Приложении 3 приведены некоторые типовые схемы лечения трещин в бетоне.
4.1.1. Расположение скважин, их направление и глубина назначаются в проекте (по результатам опытно-производственных работ) и корректируются в процессе выполнения работ с таким расчетом, чтобы в результате инъекции достигались нормативные значения водопроницаемости.
4.1.2. В общем случае инъекционные скважины задаются с наклоном к плоскости трещин (как правило, при значительной глубине бурения). При ремонте тонкостенных железобетонных конструкций бурение может производиться непосредственно в плоскости трещины.
4.1.3. При наличии фильтрующих трещин, в которых затруднены разделка и поверхностное уплотнение их устья, необходимо бурение дренирующих скважин. Количество дренирующих скважин назначается, исходя из водопротока через трещину, таким образом, чтобы снизить градиенты скорости воды и обеспечить качественное уплотнение устья трещин, не допуская размыва материала уплотнения.
4.1.4. В сооружениях, имеющих дренаж в бетоне или по подошве основания, инъекционные скважины задаются с таким расчетом, чтобы в процессе нагнетания уплотняющих материалов была исключена возможность засорения дренажа или должны быть предусмотрены мероприятия по его восстановлению.
4.1.5. Скважины в массивном бетоне глубиной до 5 м и диаметром до 45 мм бурятся легкими ручными перфораторами, скважины большей глубины и большего диаметра - станками ударно-вращательного или колонкового бурения. Бурение исследовательских скважин следует производить только станками колонкового бурения с отбором керна.
4.1.6. Бурение скважин в бетоне должно выполняться с промывкой водой или продувкой воздухом. После окончания бурения скважины должны быть освобождены от бурового шлама посредством тщательной промывки водой.
4.1.7. Бурение скважин (шпуров) небольшой глубины (до 0,3 м) в железобетонных конструкциях допускается производить электроперфораторами.
4.2.1. Для предотвращения излива инъекционного раствора при его нагнетании в трещины, устья последних должны быть герметизированы. Наиболее распространенным является способ, предусматривающий расшивку устья трещин на глубину 3 - 5 см, желательно в «ласточкин хвост», с последующим заполнением полученной штрабы раствором на основе цемента с 1,5 - 2 частями мелкого песка и добавками ускорителей схватывания. Допускается выполнять герметизацию устья трещин специальными композициями на полимерной основе.
4.2.2. Наряду с разделкой устья трещин и уплотнением его цементно-песчаным раствором могут использоваться и другие варианты поверхностной изоляции трещин свинцовой проволокой, либо установка пластырей. Пластыри, представляющие собой деревянные брусья или швеллера с войлочными или резиновыми уплотнениями, должны устанавливаться на предварительно очищенную и выровненную поверхность бетона.
4.2.3. При уплотнении трещиноватой зоны небольших размеров целесообразно использование пластырей, устанавливаемых на предварительно подготовленный массив. Подготовка может включать в себя бурение в массиве неглубоких шпуров с тем, чтобы обеспечить по возможности полную обработку зоны инъекционным раствором.
4.2.4. При значительной площади дефектной зоны производится площадная цементация, включающая бурение шпуров, заделку (зачеканку) устья трещин и нагнетание инъекционного раствора в порядке очередности обработки скважин. Для такой обработки предусматривается использование специальных устьевых или глубинных тампонов-нагнетателей.
4.2.5. При ликвидации точечных очагов фильтрации также следует предусматривать обуривание очага фильтрации с последующим нагнетанием в скважины уплотняющего раствора.
4.2.6. Наряду с рекомендациями п. 4.2.5. ликвидацию малых точечных очагов фильтрации рекомендуется производить, используя тампон-нагнетатель с прижимной плитой.
4.3.1. Нагнетание раствора сначала должно производиться в скважины первой очереди, задаваемые обычно для массивных бетонных сооружений на расстоянии 3 - 6 м (в зависимости от конфигурации и раскрытия трещин) и на расстоянии 1 - 2 м для железобетонных конструкций (обычно трещин, приуроченных к швам бетонирования).
Затем инъектируются скважины второй очереди. Если в результате проведенных работ не удается достигнуть требуемого по проекту снижения водопроницаемости бетона (проверяется гидравлическим опробованием промежуточных скважин между скважинами второй очереди), то инъектируются скважины третьей очереди и т.д.
4.3.2. При использовании цементных растворов для лечения трещин нагнетание следует начинать непосредственно после гидравлического опробования, не прерывая нагнетания воды.
4.3.3. Начальная консистенция подаваемого раствора (В/Ц) определяется величиной удельного водопоглощения и должна задаваться в проекте производства работ. Для ориентировочного назначения консистенции можно пользоваться приведенной ниже табл. 1.
В процессе инъекции и в зависимости от поглощения материала составы растворов могут уточняться.
4.3.4. При вертикальном или наклонном расположении трещин нагнетание раствора следует начинать снизу, используя вышерасположенные скважины для отвода воды и жидкого цементного раствора.
Таблица 1
|
Удельное водопоглощение бетона (q) л/мин·м2 |
В/Ц |
|
Менее 0,1 |
5 - 4 |
|
0,1 - 0,5 |
4 - 3 |
|
0,5 - 1,0 |
3 - 2 |
|
1,0 - 5,0 |
2 - 1 |
|
Более 5,0 |
1 - 0,6 |
4.3.5. Давление нагнетания раствора должно назначаться таким, чтобы обеспечить подъем раствора от скважины первой очереди (нижнего ряда) до скважины второй очереди (вышерасположенный ряд). В этом случае при принудительном движении раствора снизу вверх можно рассчитывать на седиментацию частиц цемента из раствора и уплотнение части трещины, расположенной ниже скважины первой очереди. После появления из скважин вышерасположенного ряда раствора закачиваемой консистенции следует в течение 5 - 7 мин продолжать нагнетание, затем перекрыть подачу раствора, заглушить эти скважины и приступить к нагнетанию в скважины вышерасположенного ряда. Процесс нагнетания продолжают в том же порядке до заполнения всей геометрической емкости трещины и отказа в поглощении раствора, за который можно ориентировочно считать поглощение 1 л в течение 10 мин. После отказа в поглощении производят опрессовку скважины в течение 10 мин при предельном давлении нагнетания.
4.3.6. При цементации массива бетона с сетью трещин может наблюдаться выход раствора из рядом расположенных трещин. В этом случае, если В/Ц раствора выше, чем В/Ц нагнетаемого раствора, заделка выходов раствора из трещин не производится. При выходе из трещин раствора той же консистенции, что и нагнетаемого, давление нагнетания снижается до минимального, при котором еще наблюдается движение раствора по подводящим магистралям, и подается более густой раствор. Если эта мера не дает эффекта, т.е. по-прежнему продолжается выход густого раствора из трещины, места наиболее интенсивных выходов должны быть ликвидированы. Для ликвидации выходов рекомендуется использовать цементные растворы с ускорителями схватывания, деревянные клинья, пластыри и т.п.
4.3.7. При наличии зон дефектного бетона с пересекающими их трещинами после начала нагнетания в трещину иногда наблюдаются многочисленные выходы цементного раствора из локальных нарушений бетонной кладки, что не дает возможности поднять раствор в цементируемой трещине и произвести ее уплотнение. В этом случае рекомендуется остановить нагнетание, продуть сжатым воздухом инъекционные скважины и возобновить процесс цементации после загустевания цементного раствора в порах и локальных нарушениях дефектного бетона. Эта мера наиболее эффективна в случае, когда зона дефектного бетона располагается ниже цементируемой трещины
4.3.8. Одним из часто встречающихся отклонений от нормального хода цементации трещин является неконтролируемый выход раствора через сосредоточенные течи в труднодоступных местах, где невозможно применить традиционные методы заделки. Ликвидация таких выходов может быть выполнена подачей коагулянта (например, жидкого стекла) через специальные скважины, пробуренные до плоскости трещины к месту выхода раствора. При смешении раствора с коагулянтом происходит его быстрое загустевание и кольматация течи.
4.3.9. При невозможности устранения сосредоточенных течей по результатам гидравлического опробования и данным измерения давления и расхода в трещине (пп. 2.11. и 2.12.) назначаются барьерные ряды инъекционных скважин. Порядок расположения скважин и расстояние между ними назначаются, исходя из скоростей потока и вида применяемого инъекционного материала.
4.3.10. Барьерные ряды могут назначаться как со стороны напорного фронта, так и по фронту выхода воды (раствора) из трещины.
4.3.11. В качестве инъекционных композиций рекомендуется введение в их состав ускорителей твердения и коагулянта для сокращения сроков схватывания и твердения растворов. При значительных скоростях фильтрации часто возникает необходимость введения большого количества коагулянтов. В этих случаях для предотвращения схватывания раствора в нагнетательной линии рекомендуется введение раствора и коагулянта через рядом расположенные скважины. При использовании полимерных композиций для создания барьерных рядов предпочтение следует отдавать вязким, неразмывающимся композициям.
4.3.12. Учитывая, что работы по инъектированию трещин имеют свою специфику, заключающуюся в нетрадиционности решений, применяемых для каждого конкретного объекта, необходимо уделять особое внимание детальному обследованию сооружений, выяснению причин появления дефектов с тем, чтобы в проекте производства работ по возможности предусмотреть характерные отклонения от нормального хода инъекции и дать по ним обоснованные технические решения.
5.1. При выполнении ремонтных работ должны использоваться материалы, свойства которых устанавливаются соответственными техническими условиями и ГОСТ.
5.2. Для поверхностной изоляции трещин и их инъектирования следует применять цемент марки 400 по ГОСТ 10178-85.
5.3. Приемка цемента, его хранение и испытание должны производиться в соответствии с ГОСТ 10178-85.
При поставке цемента на склад ведется запись в книге поступления и до получения данных о его испытании цемент расходованию не подлежит.
Полученный цемент должен иметь паспорт с указанием завода-изготовителя, названия и марки цемента, вида и количества добавок, номера партии, даты отправки цемента, а также минералогического и гранулометрического составов.
5.4. Все применяемые цементы должны удовлетворять требованиям ГОСТ 22266-94.
В случае большого водопритока рекомендуется применять тампонажный цемент, удовлетворяющий требованиям ГОСТ 1581-96.
При цементации бетонной кладки рекомендуется использовать цементы тех видов, которые были использованы при приготовлении бетона соответствующей конструкции.
5.5. Вода, применяемая для приготовления инъекционных растворов и химических добавок, должна соответствовать требованиям ГОСТ 23732-79.
5.6. Песок по содержанию органических примесей должен отвечать требованиям ГОСТ 8735-88. Перед употреблением песок должен быть просеян через сито с отверстиями 2,5 мм.
5.7. Для регулирования технологических свойств цементных растворов, повышения их подвижности и проникаемости рекомендуется вводить в их состав пластифицирующие добавки: лигносульфонат технический (ЛСТ) ОСТ-13-183-83, суперпластификатор С-3, ТУ-6-14-625-85 в количестве 0,2 - 0,4 % от массы цемента.
5.8. При необходимости уменьшения сроков схватывания цементных растворов рекомендуется использовать ускорители схватывания: жидкое стекло, алюминат натрия, поташ (в виде водных растворов). Вид и количество добавок должны определяться в лаборатории с учетом влияния добавок на ремонтируемую конструкцию.
5.9. По требованию проекта для придания растворам особых свойств (повышения стабильности и проникающей способности) могут применяться: предварительный сухой домол, сепарация цемента, механическое диспергирование цемента в растворе с помощью специальных смесителей и диспергирующих устройств, введение в состав раствора микрокремнезема.
5.10. Способы обработки цемента и раствора, тип диспергатора должны указываться в проекте (например, гидродинамический диспергатор конструкции ООО «Гидроспецпроект», высокоскоростной турбулентный смеситель конструкции ВНИИГ).
5.11. При высоких скоростях фильтрующей воды, а также для обеспечения прочного сцепления цементируемых массивов по трещинам рекомендуется использовать полимерные композиции, преимущественно на эпоксидной основе, например, отечественные заливочные компаунды марки КДС, хорошо зарекомендовавшие себя при восстановлении монолитности тела бетонной плотины Саяно-Шушенской ГЭС и ликвидации фильтрации в ее основании (разработка Центрального научно-исследовательского института материалов, Санкт-Петербург).
5.12. Приготовленный раствор для инъектирования конструкций должен непрерывно находиться в движении до момента его поступления в скважину.
5.13. Критерием завершения работ по цементации может быть величина расхода инъекционного раствора в зависимости от величины максимального давления нагнетания согласно данным табл. 2.
Таблица 2
|
Время поддержания максимального давления, мин |
Допустимый расход раствора (л/мин) за время поддержания |
|
|
0,8 - 1,0 |
10 |
1,0 |
|
1,0 - 0,5 |
15 |
1.5 |
|
0,5 - 0,3 |
20 |
2,0 |
6.1. Комплекс оборудования для ремонта бетонных сооружений должен включать буровые установки, дозировочные устройства, смесительные механизмы, насосы, нагнетатели, трубопроводы, измерительную и регулировочную аппаратуру.
6.2. Оборудование для инъекционных работ должно подбираться таким образом, чтобы обеспечить непрерывность ведения работ, однородность растворов и возможность контроля за объемом поглощаемого материала.
6.3. Смесительные устройства должны обеспечивать непрерывное перемешивание растворов. Полезная емкость растворосмесительных установок подбирается, исходя из предполагаемого поглощения (с учетом 20 - 30 % запаса). Для приготовления цементных и цементно-песчаных растворов рекомендуется использовать серийно изготовляемые смесители типа РМ емкостью 350. 500, 700 л. Для объемов менее 100 л рекомендуется использовать смеситель СБ-133.
Для приготовления полимерных композиций используется специальная тара и миксеры.
6.4. Растворонасосы для нагнетания закрепляющих материалов (цементных и других растворов) должны удовлетворять следующим основным требованиям: устойчиво и длительно работать на перекачке жидких и густых растворов, обеспечивать требуемое давление нагнетания и необходимую производительность.
6.5. Для нагнетания цементных и цементно-песчаных растворов следует использовать поршневые и плунжерные насосы, например, типа НД 1000/10, СО-49Б, СО-50А и др. Рекомендуется использовать насосы с регулируемым приводом. При использовании насосов с нерегулируемым приводом растворопроводы должны оборудоваться регуляторами, обеспечивающими плавное изменение расхода.
При нагнетании полимерных растворов следует использовать насосы с малой рабочей емкостью.
6.6. Растворопровод, подающий раствор от насоса к скважине, должен состоять из двух ниток: прямой и возвратной с регулятором расхода на возвратной нитке. Растворопровод должен быть снабжен краном для спуска воздуха, воды или раствора.
6.7. Манометры для измерения давления нагнетания следует устанавливать в двух точках цементационной системы: у насоса и устья скважины. Они должны быть снабжены специальными предохранителями, препятствующими поступлению раствора в трубку манометра.
6.8. Цементационные установки должны быть снабжены приспособлениями и аппаратурой для измерения расхода нагнетаемого раствора.
6.9. При проведении инъекционных работ при давлении раствора, близком к предельному, рекомендуется на стенках трещины устанавливать индикаторы часового типа, чтобы не допустить деформаций бетона, способных привести к распространению трещины в глубину массива.
7.1. При сдаче работ оценку результатов ремонта следует проводить на основании визуального осмотра, гидравлического опробования, а также кернового бурения с испытанием кернов в лаборатории. Количество контрольных скважин и количество кернов определяется проектом.
7.2. Контроль качества включает в себя также и оперативную проверку качества используемых материалов, состава раствора и соответствие технологии проектным требованиям. С этой целью при производстве ремонтных работ должны заполняться журналы инъекции, акты, ведомости, отражающие соблюдение проектных требований к технологии и материалам (Приложение 2).
7.3. При приемке работ должны предъявляться следующие документы:
исполнительные чертежи;
журналы инъекции;
результаты испытаний материалов;
журналы опытного гидроопробования;
акты приемки скважин;
акты испытаний контрольных скважин;
данные обследования кернов;
акты ликвидации скважин;
сводный отчет по проведенным работам.
8.1. Рабочие и служащие, занятые на инъекционных и ремонтных работах, в обязательном порядке проходят предварительное обучение технике безопасности. Перед началом работ все рабочие должны получить вводный инструктаж от инженера по технике безопасности и на рабочем месте - от мастера или производителя работ, а также соблюдать требования норм СНиП III-4-80 и СНиП 12-03-2001.
8.2. Все рабочие и служащие, а также лица технического надзора в зависимости от выполняемой работы должны быть снабжены индивидуальными средствами защиты: непромокаемой спецодеждой и обувью, предохранительными поясами, касками, защитными очками, рукавицами, респираторами, перчатками.
8.3. Место производства работ должно быть очищено от мусора, освобождено от посторонних предметов. Места складирования бурового инструмента, цемента, резиновых рукавов, труб, химических реагентов и других материалов должны быть оборудованы в соответствии с правилами их безопасного хранения.
8.4. Электродвигатели и пусковая аппаратура буровых и цементационных установок должны быть защищены от попадания на них воды и инъекционного раствора.
8.5. Все открытые и движущиеся части цементационных установок должны быть снабжены ограждениями, исключающими возможность попадания в машины и механизмы посторонних предметов и травмирования людей.
8.6. После окончания монтажа все трубопроводы для инъекционного раствора и воды, работающие под давлением, должны быть испытаны при давлении, в 1,5 раза превышающем максимальное рабочее давление.
8.7. Наладка, смазка и ремонт буровых и инъекционных механизмов без их остановки запрещается.
8.8. Пуск инъекционных насосов должен производиться при полностью открытом кране растворопровода.
8.9. Соединение напорных шлангов должно производиться с использованием быстроразъемных элементов.
8.10. При нагнетании раствора необходимо следить за стабильностью положения тампона, при обнаружении выдавливания его из скважины нагнетание должно быть приостановлено и тампон закреплен.
8.11. Разборка магистралей, насосов, установка тампона должны производиться только после полного снятия давления в системе.
8.12. В нерабочее время все механизмы и оборудование инъекционных работ должны находиться в положении, исключающем возможность пуска механизмов посторонними людьми.
ПРИЛОЖЕНИЯ
Форма 1
|
Дата обследования |
Наименование участка сооружения |
Место расположения трещин |
Зарисовка трещин (геометрические размеры), величина раскрытия, место установки маяков |
Глубина трещины |
Показания щелемера, маяков |
Удельное водопоглощение |
Описание прибора и методика определения фильтрации |
Величина фильтрации |
Данные выбуривания контрольных кернов |
Результаты испытания кернов |
Примечание |
|
1 |
2 |
3 |
4 |
5 |
6 |
7 |
8 |
9 |
10 |
11 |
12 |
|
|
|
|
|
|
|
|
|
|
|
|
|
Примечания.
1. Журнал заводится на определенный участок или сооружение.
2. Дополнительно на обратной стороне делаются зарисовки трещин.
3. Заполняется в процессе обследования в различные сроки техником, инженером и начальником цеха (сооружения).
Форма 2
Обложка журнала
Наименование организации,
проводящей инъекционные работы
|
________________________________________________________________________ Объект работ _______________________________________________________________ ЖУРНАЛ ИНЪЕКЦИИСкважина __________________________________________________________________ Журнал № _________________________________________________________________ Всего журналов по инъекции скважины № __________________________________ шт. Расположение ______________________________________________________________ Отм. устья скважины _______________________________________________________ м Отм. забоя скважины ______________________________________________________ м Конечная глубина скважины ________________________________________________ м Количество зон __________________________________________________________ шт. Диаметр скважины _______________________________________________________ мм Начат ____________________________________ Окончен _________________________________ Прораб инъекционных работ ___________ (___) Техник участка _______________________ (___) Проверил: Начальник технического отдела ________________________ (________) Левая сторона разворота
обложки
Дата _______________________________________ Смена ________________________________________ Ф. И. О. мастера ______________________________ Скважина № __________________________________ Зона № _______________________________________ Мощность зоны, м ________________ Длина шлангов, м _________________ Превыш. манометра над устьем скважины, м _______ Правая сторона разворота
обложки
|
||||||||||||||||||||||||||||||||||||||||||||||||||||||||||||||||||||||
|
Двусторонняя
|
Односторонняя
|
Односторонняя
|
|
I - I
|
II - II
|
III - III
|
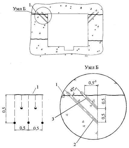
Рис. 1. Схемы расположения скважин при уплотнении фильтрующих трещин и швов:
1 - трещина; 2, ○ - скважины I очереди; 3,
- скважины II очереди.
(Размеры в метрах)

Рис. 2. Схема локализации угловых трещин (швов) с организацией сбора фильтрующей воды и последующим уплотнением инъектированием
а - вариант без бурения шпуров; б - вариант с бурением шпуров;
1 - цементно-песчаный раствор; 2 - скважина; 3 - патрубок

Рис. 3. Дренирование и уплотнение трещин инъекцией.
Схема бурения и инъекции:
1 - трещина; 2,
- скважины I очереди; 3,
- скважины II очереди.
(Размеры в метрах)

Рис. 4. Уплотнение температурных швов инъекцией.
Схема бурения и инъекции:
1 - трещина; 2,
- скважины I очереди; 3,
- скважины II очереди. (Размеры в метрах)

Рис. 5. Уплотнение трещин стен галереи инъекцией.
Схема бурения и инъекции:
1 - трещина; 2,
- скважины I очереди; 3,
- скважины II очереди. (Размеры в метрах)

Рис. 6. Уплотнение трещин стен галереи инъекцией.
Схема бурения и инъекции:
1 - трещина; 2,
- скважины I очереди; 3,
- скважины II очереди. (Размеры в метрах)

Рис. 7. Уплотнение трещин сопряжения стен и потолка.
Схема бурения и инъекции:
1 - трещина; 2,
- скважины I очереди, 3,
- скважины II очереди. (Размеры в метрах)

Рис. 8. Схема устройства дренажа в стыках стен со сводом

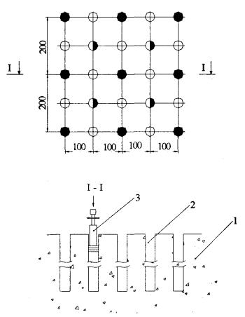
Рис. 9. Площадная инъекция бетона с использованием тампона (при наличии развитой дефектной зоны):
1 - бетонный массив; 2 - скважины; 3 - тампон-нагнетатель;
- скважины I очереди;
- скважины II очереди;
- скважины III очереди. (Размеры в см)

Рис. 10. Тампон-нагнетатель для глубоких скважин:
1 - резиновый уплотнитель; 2 - труба распорная; 3 - труба нагнетательная; 4 - гайка прижимная; 5 - муфта; 6 - кран запорный; 7 - предохранитель; 8 - манометр; 9 - сбросная линия

Рис. 11. Ликвидация точечного очага фильтрации (общий случай):
1 - бетонный массив; 2 - очаг фильтрации; 3 - скважины;
4 - разрушение;
- скважины I очереди;
- скважины II очереди

Рис. 12. Тампон-нагнетатель с прижимной плитой:
1 - резиновый уплотнитель; 2 - труба распорная; 3 - труба нагнетательная; 4 - муфта; 5 - гайка прижимная; 6 - кран запорный; 7 - предохранитель; 8 - манометр; 9 - сбросная линия; 10 - прижимная плита

Рис. 13. Защита корродирующей арматуры:
1 - арматура; 2 - цементно-песчаный раствор повышенной плотности + спец. добавки; 3 - цементно-песчаный раствор с пластифицирующими добавками

Рис. 14. Уплотнение температурных швов инъекцией.
Схема бурения и инъекции:
1,
- скважины I очереди; 2,
- скважины II очереди; 3 - битумная шпонка. (Размеры
в метрах)

Рис. 15. Схема уплотнения сквозных трещин со стороны напорной грани при отсутствии обратной засыпки:
1 - сквозная трещина; 2 - разделка трещины фрезой; 3 - полоса армоэластика; 4 - жгут пороизола или чернита; 5 - приклейка полимерным материалом; 6 - цементно-песчаный раствор; 7 - цементно-песчаный раствор с адгезионными добавками. (Размеры в см)

Рис. 16. Ликвидация очага фильтрации в днище:
1 - цементно-песчаная пробка; 2 - откос; 3 - бетонная стяжка; 4 - бетонная подготовка пола (днища)

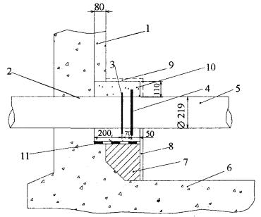
Рис. 17. Восстановление водонепроницаемости сопряжения трубопровода со стеной подземной части насосной станции:
1 - внутренняя сторона стены; 2 - кольцевая ниша; 3 - среднее сборное стальное кольцо; 4 - большое сборное стальное кольцо; 5 - трубопровод; 6 - днище; 7 - опорный фундамент; 8, 9 - опалубочные шины; 10 - изолирующий куб; 11 - прокладка из рубероида. (Размеры в см)

Рис. 18. Принципиальная схема установки для нагнетания цементного раствора:
1 - растворитель; 2 - бак-накопитель (необходим при отсутствии бункера в растворонасосе); 3 - труба нагнетательная; 4 - растворонасос; 5 - напорный растворопровод; 6 - манометр; 7 - инъектор; 8 - скважина; 9 - сливной растворопровод; 10 - запорная арматура

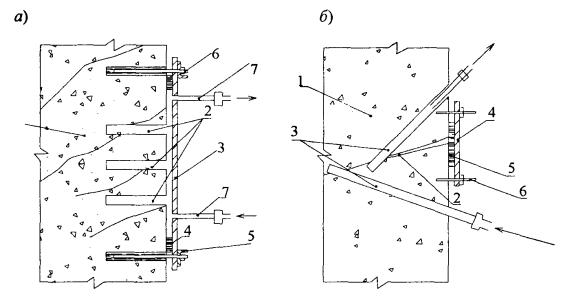
Рис. 19. Технологические схемы уплотнения фильтрующего бетона:
а - при наличии трещиноватой зоны:
1 - трещиноватый массив; 2 - скважины; 3 - прижимная планка; 4 - уплотнение (войлок, резина); 5 - уголок; 6 - анкер; 7 - патрубки для нагнетания и отвода раствора;
б - при наличии одиночной трещины:
1 - бетонный массив; 2 - фильтрующая трещина; 3 - скважины для нагнетания и отвода раствора; 4 - прижимная планка; 5 - уплотнение; 6 – анкер
СОДЕРЖАНИЕ