РОССИЙСКОЕ АКЦИОНЕРНОЕ ОБЩЕСТВО ЭНЕРГЕТИКИ
И ЭЛЕКТРИФИКАЦИИ «ЕЭС РОССИИ»
МЕТОДИЧЕСКИЕ УКАЗАНИЯ
ПРОЕКТ ПРОИЗВОДСТВА РАБОТ ДЛЯ
РЕМОНТА
ЭНЕРГЕТИЧЕСКОГО ОБОРУДОВАНИЯ
ЭЛЕКТРОСТАНЦИЙ
ТРЕБОВАНИЯ К СОСТАВУ, СОДЕРЖАНИЮ
И ОФОРМЛЕНИЮ
СО
34.20.608-2003
(РД 153-34.0-20.608-2003)
Москва
2004
Разработано Открытым акционерным обществом «Центральное конструкторское бюро Энергоремонт»
Исполнители Ю.В. Трофимов, Ю.П. Косинов, В.М. Карлинер
Согласовано РАО «ЕЭС России»
Департаментом электрических станций
Начальник А.А. Вагнер 25.12.2002
Департаментом технического перевооружения
и совершенствования ремонта
Начальник А.А. Романов 25.12.2002
Департаментом генеральной инспекции по
эксплуатации электростанций и сетей
Начальник И.Ш. Загретдинов 25.12.2002
УТВЕРЖДЕНО РАО «ЕЭС России»
Заместитель Председателя Правления
В.П. Воронин 22.01.2003
Внесены изменения в связи с вводом в действие с 01.01.2004 «Правил организации технического обслуживания и ремонта оборудования, зданий и сооружений электростанций и сетей» СО 34.04.181-2003.
СОДЕРЖАНИЕ
|
Методические указания. Проект производства работ для ремонта энергетического оборудования электростанций. Требования к составу, содержанию и оформлению |
СО 34.20.608-2003 (РД 153-34.0-20.608-2003) Введено впервые |
Дата введения 2003-03-01
Настоящие Методические указания устанавливают общие требования к разработке, составу, содержанию и оформлению проекта производства работ (ППР) для ремонта энергетического оборудования электростанций.
Методические указания рекомендуются к применению акционерными обществами энергетики и электрификации, энергетическими и ремонтными предприятиями, а также всеми предприятиями (организациями), привлекаемыми для разработки ППР.
1.1 ППР состоит из комплекта технических и организационно-распорядительных документов, необходимых для подготовки и производства капитального или среднего ремонта, модернизации или технического перевооружения (далее в тексте - ремонт) оборудования энергопредприятий, в условиях безопасного выполнения работ.
1.2 ППР разрабатывается для ремонта основного и вспомогательного оборудования энергетических установок (котельной, турбинной, генераторной, трансформаторной, дизельной) и оборудования распределительных устройств, производимого на месте размещения в условиях существующей компоновки на электростанциях, котельных, подстанциях, ОРУ (энергопредприятиях) при наличии факторов, требующих обеспечения безопасного выполнения работ.
1.3 Основными производственными факторами в совокупности или в отдельности, определяющими необходимость разработки ППР, являются:
- необходимость размещения составных частей оборудования, инвентарных устройств и организации временных рабочих мест ремонта за пределами площадок обслуживания ремонтируемой установки и размещения ремонтных площадок на отметках обслуживания находящегося в работе оборудования или других свободных площадках, не предназначенных согласно проектной документации энергопредприятия для использования при ремонте;
- необходимость перемещения в процессе ремонта составных частей ремонтируемого оборудования и других крупногабаритных и тяжелых грузов посредством грузоподъемных кранов по трассам, проходящим над эксплуатируемым оборудованием энергопредприятия;
- необходимость применения передвижных кранов для ремонта трансформаторов, высоковольтных выключателей в условиях действующих распредустройств;
- необходимость в специальных проектных и конструкторских разработках на сооружение неинвентарных лесов, установку инвентарных лесов, временное закрепление конструкций, специальные грузоподъемные устройства и т.п. для обеспечения безопасного производства работ.
1.4 Исходными документами для разработки ППР являются:
- годовой план ремонта оборудования энергоблоков и энергоустановок с укрупненным объемом работ по СО 34.04.181 (приложение 8);
- технические условия на ремонт энергооборудования;
- конструкторская документация на энергооборудование, подлежащее ремонту;
- проектная документация энергопредприятия: планы и разрезы главного корпуса (сборочные чертежи), документы, входящие в раздел «Организация и механизация ремонта» технического (технорабочего) проекта.
- СО 34.03.201 (РД 34.03.201);
- СО 153-34.03.204 (РД 34.03.204);
- ПОТ РМ-012-2000;
- СО 153-34.03.150.
1.6 Перечень нормативных документов, на которые имеются ссылки в Методических указаниях, приведен в приложении А.
2.1.1 Комплект документов ППР включает:
а) ведомость планируемых работ по ремонту;
б) сетевой график ремонта;
в) план размещения составных частей оборудования и рабочих мест в процессе ремонта;
г) программу вывода энергоустановки в ремонт;
д) программу приемки энергоустановки из ремонта;
е) комплект технологических документов для ремонта;
ж) проектную документацию на сооружение неинвентарных лесов и подмостей, закрепление специальных грузоподъемных устройств и др.;
з) проектную документацию на установку инвентарных лесов;
и) конструкторскую документацию на специальные грузоподъемные устройства;
к) конструкторскую документацию на специальную технологическую оснастку;
л) пояснительную записку, включающую обязательный раздел «Требования безопасности при выполнении ремонтных работ».
2.1.2 Обязательными для включения в состав ППР являются документы, приведенные в 2.1.1, перечисление а, б, г, д, е, л.
2.1.3 Для обеспечения безопасного ведения ремонтных работ, использования при ремонте специальных лесов, подмостей, специальной технологической оснастки и грузоподъемных устройств, а также для обеспечения перемещения грузов, в составе ППР разрабатываются другие документы, перечисленные в 2.1.1.
2.1.5 При необходимости выполнения неотложных ремонтных работ (неплановые ремонты, работы, выявленные при дефектации оборудования) и невозможности разработки ППР до начала работ допускается выполнение работ по типовой технологической документации или другим документам, содержащим требования по технике безопасности.
2.1.6 Разработанный ППР может использоваться как типовой при последующих ремонтах и нуждается в пересмотре при значительных изменениях технологии выполнения ремонта.
Сетевой график ремонта разрабатывается в соответствии с «Методическими указаниями по разработке и применению системы сетевого планирования и управления при ремонте оборудования электростанций».
а) размещения составных частей оборудования и организации временных рабочих мест вне площадок обслуживания выводимого в ремонт оборудования и вне предусмотренных площадок вблизи находящегося в работе оборудования или на свободных площадках, если в проектной документации электростанции на них не предусмотрено размещение оборудования при ремонте;
б) перемещения в процессе работ составных частей оборудования и других крупногабаритных и тяжелых конструкций посредством грузоподъемных кранов;
в) применения передвижных кранов для ремонта трансформаторов, высоковольтных выключателей и другого электрооборудования в условиях действующих распредустройств.
Планы размещения составных частей оборудования и рабочих мест разрабатываются на основании проектной документации электростанции.
Трассы перемещения крупногабаритных и тяжелых составных частей оборудования и конструкций, а также места установки передвижных кранов и зона их действия указываются на планах.
При разработке планов необходимо учитывать требования безопасности по ГОСТ 12.3.002, ГОСТ 12.3.009 и ГОСТ 12.3.020.
Если закрепление специальных грузоподъемных устройств предусматривается непосредственно на ремонтируемом оборудовании или на несущих конструкциях зданий и сооружений электростанции, то соответствующая проектная документация должна быть согласована и утверждена в установленном порядке.
При разработке документации необходимо учитывать требования СНиП III-4, ГОСТ 24258, ГОСТ 26887, ГОСТ 27321, ГОСТ 28012, СО 34.03.201 (РД 34.03.201).
2.2.8 Проектная документация на установку инвентарных лесов включает комплект документов, содержащих технические решения по установке и закреплению инвентарных лесов.
При разработке документации необходимо учитывать требования нормативных документов, перечисленных в 2.2.7.
При разработке документации необходимо учитывать требования ГОСТ 12.2.003, ГОСТ 12.3.009 и ПБ 10-382-00.
При разработке документации необходимо учитывать требования ГОСТ 12.2.003.
2.2.11 Пояснительная записка содержит краткое описание документов ППР, технических характеристик разработанных и предусмотренных к использованию средств технологического оснащения ремонта (подмостей, лесов, грузоподъемных устройств, ремонтных площадок), требования безопасности при выполнении ремонтных работ, требования к организации ремонта и выполнению работ.
В пояснительной записке при необходимости приводят такелажные схемы перемещения грузов, выбор и расчет ее элементов; перечень тяжеловесных грузов с указанием масс и схем их строповки; перечень средств индивидуальной и коллективной защиты персонала и др.
Пояснительная записка в общем случае должна состоять из следующих разделов:
- введение;
- назначение и область применения ППР;
- документы ППР;
- технические характеристики средств технологического оснащения;
- требования безопасности при выполнении ремонтных работ;
- требования к организации работ.
В зависимости от особенностей ППР отдельные разделы пояснительной записки (кроме раздела «Требования безопасности при выполнении ремонтных работ») допускается объединять или исключать, а также вводить новые разделы.
3.1 Ответственным за разработку ППР является энергопредприятие, которое может самостоятельно разрабатывать его полный объем, привлекать на договорной основе ремонтные предприятия и (или) специализированные организации для выполнения разработок отдельных документов ППР.
При этом энергопредприятие, как правило, должно разрабатывать следующие документы ППР:
- ведомость планируемых работ по ремонту;
- программу вывода энергоустановки в ремонт;
- программу приемки энергоустановки из ремонта.
3.3 Документы ППР, разработанные энергопредприятием, должны быть согласованы с ремонтным предприятием в пределах принятого к исполнению объема ремонта и утверждены энергопредприятием.
3.4 Документы ППР, разработанные ремонтным предприятием или специализированной организацией, подлежат согласованию с энергопредприятием и утверждаются разработчиком.
3.5 Полный комплект ППР согласуется с ремонтными предприятиями, участвующими в ремонте установки, и утверждается главным инженером энергопредприятия.
3.6 Порядок согласования и перечень административных должностей лиц, участвующих в согласовании и утверждении отдельных документов ППР, должен быть отражен в распорядительном документе энергопредприятия, составленном с участием ремонтного предприятия.
4.1.1 ППР оформляют с титульным листом (ТЛ) и ведомостью документов проекта (ВДП).
ТЛ и ВДП имеют общую нумерацию листов, причем ТЛ является первым листом, а заглавный лист ВДП - вторым листом. Другие документы ППР имеют собственную нумерацию листов в пределах каждого документа. При комплектации документов ППР в папки или альбомы следует выполнить последовательную нумерацию всех листов, расположив их номера в нижней правой части каждого листа.
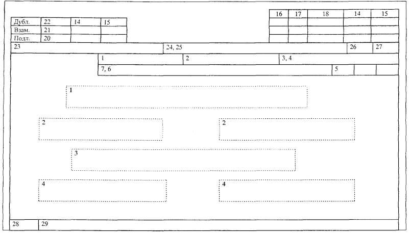
4.2.1 ТЛ составляется по ГОСТ 3.1105 форма 2 и в соответствии с приложением Б настоящего РД.
4.2.2 На ТЛ следует указывать:
- на поле 1 - наименование энергосистемы, в которую входит энергопредприятие;
- на поле 2 - в левой части - согласующая подпись главного инженера ремонтного предприятия, выполняющего ремонт оборудования, для которого разработан ППР. В правой части поля - утверждающая подпись главного инженера энергопредприятия;
- на поле 3 - надпись - ПРОЕКТ ПРОИЗВОДСТВА РАБОТ;
- на поле 4 - в левой части - подпись начальника цеха ремонтного предприятия. В правой части поля - подпись начальника цеха энергопредприятия, к которому относится ремонтируемое оборудование.
4.2.3 Графы блоков основной надписи ТЛ следует заполнять в соответствии с таблицей 1.
4.2.4 Пример оформления ТЛ приведен в приложении В.
Таблица 1 - Заполнение граф основной надписи.
|
Содержание графы |
|
|
1 |
Краткое наименование предприятия (организации) разработчика ППР |
|
2 |
Обозначение оборудования по основному конструкторскому документу. Допускается графу не заполнять |
|
3, 4, 5 |
Графы не заполняются |
|
6, 7 |
Наименование оборудования по основному конструкторскому документу |
|
14 - 18, 20 - 22 |
Графы не заполняются |
|
23 |
Наименование энергопредприятия |
|
24, 25 |
Обозначение ППР. Структура обозначения приведена в приложении Г |
|
26 |
Общее количество листов (считая только ТЛ и листы ВДП) |
|
27 |
Порядковый номер листа |
|
28 |
Условное обозначение вида документа - ППР |
|
29 |
Вид ремонта - средний или капитальный |
4.3.1 ВДП предназначена для указания полного состава документов ППР.
4.3.2 ВДП разрабатывается на формах 5 и 5а по ГОСТ 3.1122 и в соответствии с приложениями Д и Е настоящего РД (заглавный лист и последующие листы).
4.3.3 Графы блоков основной надписи ВДП следует заполнять следующим образом:
- графы 1, 2, 5, 6, 7, 16 - 18, 20 - 27, 29 - в соответствии с таблицей 1;
- в графах 3, 4 указывается обозначение ВДП. Структура обозначения по приложению Г;
- в графах 12 указываются характер работы, выполняемой подписывающими ВДП лицами, т.е. «Разработал», «Проверил», «Согласовал», «Утвердил», «Нормоконтроль» и др.
- в графах 13, 14 и 15 указываются соответственно фамилии лиц, подписывающих ВДП, их подписи и дата подписи;
- в графе 28 указывается обозначение вида документа - ВДП.
4.3.4 Документы ППР приводят в ВДП в последовательности, указанной в 2.1.1.
Допускается после перечисления документов по 2.1.1 указывать производственные инструкции по охране труда, необходимые для безопасного производства работ, а также другие документы в соответствии с 2.1.4.
4.3.5 Пример оформления ВДП приведен в приложении Ж.
4.5.1 Документы, приведенные в 2.1.1 перечисление б, в, ж, з, и, к, разрабатываются на форматах по ГОСТ 2.301.
4.5.2 Формы, размеры и порядок заполнения основных надписей документов принимаются по ГОСТ 2.104.
4.6.1 Документы оформляются в соответствии с ГОСТ 2.106 (разделы 10 и 11).
4.7.1 Комплект технологических документов разрабатывается и оформляется в соответствии с государственными стандартами ЕСТД.
(справочное)
|
Обозначение НД (Прежнее обозначение НД) |
Наименование НД |
Пункт, в котором имеется ссылка |
|
СО 34.04.181-2003 |
Правила организации технического обслуживания и ремонта оборудования, зданий и сооружений электростанций и сетей |
|
|
СО 34.03.201-97 |
Правила техники безопасности при эксплуатации тепломеханического оборудования электростанций и тепловых сетей |
|
|
СО 153-34.03.204 (РД 34.03.204) |
Правила безопасности при работе с инструментом и приспособлениями |
|
|
ПОТ РМ-012-2000 |
Межотраслевые правила по охране труда при работе на высоте |
|
|
СО 153-34.03.150-2003 |
Межотраслевые правила по охране труда (правила безопасности) при эксплуатации электроустановок |
|
|
|
Методические указания по разработке и применению системы сетевого планирования и управления при ремонте оборудования электростанций |
|
|
ССБТ. Процессы производственные. Общие требования безопасности |
||
|
ССБТ. Работы погрузочно-разгрузочные. Общие требования безопасности |
||
|
ССБТ. Процессы перемещения грузов на предприятиях. Общие требования безопасности |
||
|
СО 34-38-445-87 (ОСТ 34-38-445-87) |
СТОиР оборудования электростанций. Комплектность технологических документов |
|
|
Строительные нормы и правила. Правила производства и приемки работ. Техника безопасности в строительстве |
||
|
Средства подмащивания. Общие технические условия |
||
|
Площадки и лестницы для строительно-монтажных работ. Общие технические условия |
||
|
Леса стоечные приставные для строительно-монтажных работ. Технические условия |
||
|
Подмости передвижные сборно-разборные. Технические условия |
||
|
ССБТ. Оборудование производственное. Общие требования безопасности |
||
|
|
||
|
Правила устройства и безопасной эксплуатации грузоподъемных кранов |
||
|
ЕСТД. Основные надписи |
||
|
ЕСТД. Формы и правила оформления документов специального назначения. Ведомости технологические |
||
|
ЕСКД. Форматы |
||
|
ЕСКД. Основные надписи |
||
|
ЕСКД. Текстовые документы |
||
|
ОКПО |
Общероссийский классификатор предприятий и организаций |
(обязательное)

(справочное)

(обязательное)
Г.1 Для ППР и ВДП устанавливается следующая структура и длина обозначения

Г.2 Условное обозначение вида документа следующее:
- для проекта производства работ - ППР;
- для ведомости документов ППР - ВДП.
Г.3 Порядковые регистрационные номера состоят из пяти цифр от 00001 до 99999 и присваиваются предприятием-разработчиком.
Г.4 Код групп однородного оборудования принимается в соответствии с таблицей Г.1.
Г.5 Код предприятия разработавшего документ принимается согласно Общероссийскому классификатору предприятий и организаций (ОКПО).
Таблица Г.1 - Код групп однородного оборудования
|
Наименование групп однородного оборудования |
|
|
100 |
Паровые котлы |
|
120 |
Котельно-вспомогательное оборудование |
|
150 |
Дымососы, вентиляторы |
|
160 |
Воздухоподогреватели |
|
170 |
Мельницы |
|
200 |
Турбины |
|
230 |
Цилиндры высокого давления |
|
240 |
Цилиндры среднего давления |
|
250 |
Цилиндры низкого давления |
|
260 |
Система регулирования и защиты турбины |
|
270 |
Подогреватели системы регенерации паровой турбины |
|
280 |
Масляная система |
|
300 |
Питательные насосы |
|
350 |
Насосное оборудование |
|
400 |
Турбогенераторы |
|
420 |
Синхронные компенсаторы |
|
500 |
Силовые трансформаторы |
|
600 |
Электрооборудование распределительных устройств |
|
700 |
Трубопроводы |
|
750 |
Арматура |
(обязательное)

(обязательное)

(справочное)


