ТИПОВЫЕ
ТЕХНОЛОГИЧЕСКИЕ КАРТЫ
НА ПРОИЗВОДСТВО ОТДЕЛЬНЫХ ВИДОВ РАБОТ
РАЗДЕЛ 07
ТИПОВАЯ
ТЕХНОЛОГИЧЕСКАЯ КАРТА
НА МОНТАЖ СТРОИТЕЛЬНЫХ КОНСТРУКЦИЙ
7.01.01.60
УСТАНОВКА
МУСОРОПРОВОДА
СО СТВОЛОМ ИЗ АСБЕСТОЦЕМЕНТНЫХ ТРУБ
В ЖИЛЫХ МНОГОЭТАЖНЫХ ЗДАНИЯХ
МОСКВА-1989
|
РАЗРАБОТАНА Институтом ПТИ Минсевзапстроя СССР Главный инженер института Ю.И. Руднев Заведующий отделом № 4 А.М. Гущин Главный инженер проекта В.П. Одинцов |
СОГЛАСОВАНО Отделом механизации и технологии строительства Госстроя СССР Письмо от 27.12.88 г. № 23-737 Введена в действие с 1 февраля 1989 г. |
Типовая технологическая карта разработана из расчета устройства 25 м мусоропровода девятиэтажного жилого дома.
Карта рекомендуется для применения при монтаже типовых асбестоцементных труб мусоропровода длиной до 4 м и диаметром 400 мм крупнопанельных многоэтажных жилых зданий серии 111-121.
При привязке типовой технологической карты к конкретному объекту и условиям строительства принятый в карте порядок выполнения работ по установке мусоропровода, размещение машин и оборудования, объемы работ, калькуляцию затрат труда, график выполнения работ, средства механизации уточняют в соответствии с проектными решениям.
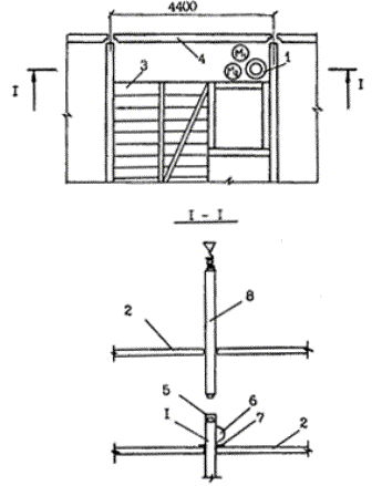
Монтаж труб мусоропровода осуществляют поэтажно по окончании монтажа плит перекрытия, лестничных маршей и площадок, установки нижней трубы мусоропровода в камеру мусороприёмника.
Трубы мусоропровода в зону монтажа доставляют в контейнерах на полуприцепах, буксируемых автомобилями-тягачами.
Монтаж труб мусоропровода с предварительно вырезанным окном под загрузочный клапан выполняют по технологии, описанной далее.
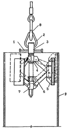
Монтажники М-1 и М-2 на нижеустановленную трубу мусоропровода надевают асбестоцементную муфту и визуально проверяют ее проектное положение. Просмоленную паклю помещают в зазор между трубой мусоропровода и муфтой и производят зачеканку, после чего укладывают резиновое кольцо по верхней грани нижней трубы мусоропровода. Крановщик подает строп к месту строповки трубы мусоропровода. Строповщик заводит нижнюю часть захвата в трубу мусоропровода 9 и вращением ручки 1 прижимает колодки захвата 5 к внутренней поверхности трубы. В строповочное звено 2 заводят грузовой крюк крана и переводят трубу из горизонтального положения в вертикальное. После чего строповщик дает команду на подъем. Подняв трубу на 0,5 м проверяют прочность строповки. Затем трубу транспортируют к месту установки. Схема строповки труб мусоропровода представлена на рис. 1.
СХЕМА СТРОПОВКИ ТРУБ МУСОРОПРОВОДА
Рис. 1
1 - ручка; 2 - строповочное звено; 3 - винт; 4 - муфта верхняя; 5 - колодки; 6 - звено; 7 - муфта нижняя; 8 - строп; 9 - труба мусоропровода
Расстроповку после установки осуществляют вращением ручки 1 в обратном направлении.
Остальное время такелажник на приобъектной площадке занимается выполнением работ по подготовке следующей трубы и захвата к строповке, а также совместно с крановщиком занимается другими работами, сопутствующими монтажу.
Крановщик останавливает опускание трубы на высоте 20 см от технологического отверстия в плите перекрытия лестничного узла. Монтажник М-1 принимает трубу, направляет в отверстие и даёт команду крановщику на опускание трубы. Крановщик плавно опускает трубу, а монтажник М-2, стоя на плите перекрытия смонтированного этажа, принимает трубу и направляет ее в муфту.
Выверку вертикальности трубы производят с помощью рейки с отвесом. Монтажник М-1 следит по рейке за вертикальностью трубы, а монтажник М-2 выравнивает имеющиеся отклонения, после чего монтажник М-1 расстроповывает трубу. Монтажник М-2 охватывает трубу полукольцами хомута на уровне лестничной площадки, затем, располагая зажимы хомута над закладными деталями площадки, вводит болты в отверстия зажимов, навинчивает на них гайки и затягивает ключом.
Монтажники М-1 и М-2 повторно укладывают просмолённую паклю в зазор между муфтой и установленной вновь трубой, затем выполняют зачеканку.
Схема организации рабочего места приведена на рис. 2.
СХЕМА ОРГАНИЗАЦИИ РАБОЧЕГО МЕСТА
Рис. 2
1 - установленная труба; 2 - лестничная площадка; 3 - лестничный марш; 4 - стеновая панель; 5 - муфта; 6 - загрузочный клапан; 7 - хомут; 8 - устанавливаемая труба
При приёмке труб на объекте проверяют их размеры, внешний вид.
Технические критерии и средства контроля операций и процессов приводятся в табл. 1.
Приёмочный контроль смонтированного мусоропровода осуществляется согласно СНиП 3.05.01-85. При приёмке предъявляют журналы монтажных работ.
Таблица 1
|
Предмет контроля |
Инструмент и способ контроля |
Периодичность контроля |
Ответственный за контроль |
Технические критерии оценки качества |
|
|
Подготовительные предмонтажные работы |
Соответствие загрузочного клапана заводской марке |
Визуально |
До начала монтажа |
Мастер |
Паспортные данные заводов-изготовителей |
|
Монтажные работы |
Вертикальность установки элементов ствола мусоропровода |
Отвес, линейка |
В процессе монтажа |
То же |
Отклонение ствола мусоропровода от вертикали не более 2 мм на 1 м высоты, но не более 25 мм на всю высоту ствола. Отклонения по осям отверстий в перекрытиях для прохода трубопроводов ± 10 мм |
|
|
Правильность установки элементов по маркам и месту монтажа |
Визуально |
То же |
« |
Внешний осмотр |
|
|
Соответствие нормативным требованиям стыков ствола мусоропровода |
То же |
« |
« |
Акты на скрытые работы |
|
|
Правильность крепления нижней части ствола мусоропровода |
« |
« |
« |
То же |
|
Испытания |
Наличие тяги в стволе мусоропровода |
Задымление при закрытых загрузочных клапанах |
После монтажа мусоропровода и устройства кровли |
Прораб |
Акты на скрытые работы. Лабораторный контроль |
|
|
Отсутствие подсоса воздуха через закрытые дверки загрузочных клапанов |
Пламенем свечи по контуру дверки загрузочного клапана |
После монтажа мусоропровода и устройства кровли |
Прораб |
Акты на скрытые работы. Лабораторный контроль |
|
Приёмка работ |
Надёжность и плотность сопряжения элементов ствола мусоропровода |
Визуально |
После окончания монтажа |
То же |
Акты на скрытые работы |
|
|
Правильность установки и закрепления загрузочного клапана и кожуха |
То же |
То же |
« |
То же |
|
|
Лёгкость и бесшумность работы загрузочных клапанов |
Путем открывания |
« |
« |
Внешний осмотр |
|
|
Качество отделки мусоропровода |
Визуально |
После окончания монтажа и отделки мусоропровода |
« |
То же |
Таблица 2
|
Наименование процесса |
Единица измерения |
Объём работ |
Обоснование (ЕНиР и др. нормы) |
Норма времени |
Расценка, р.-к. |
Затраты труда |
Заработная плата, р.-к. |
Время пребывания машины на объекте, маш.-ч |
Заработная плата машиниста с учётом пребывания машины на объекте, р.-к. |
|
||||
|
рабочих, чел.-ч |
машиниста, чел.-ч (маш.-ч) |
рабочих |
машиниста |
рабочих, чел.-ч |
машиниста, чел.-ч (маш.-ч) |
|||||||||
|
рабочих |
машиниста |
|
||||||||||||
|
Выгрузка контейнера с автомашин башенным краном |
100 т |
0,026 |
§ Е1-7, № 26 |
9,2 |
4,56 |
5-88,8 |
4-15,2 |
0,24 |
0,12 |
0-15 |
0-11 |
0,12 |
0-11 |
|
|
Установка труб мусоропровода |
1 звено трубы (длиной до 3 м) |
9 |
§ Е4-1-13, № 5 |
0,98 |
0,49 |
0-69,6 |
0-44,6 |
8,82 |
4,41 |
6-26 |
4-01 |
4,41 |
4-01 |
|
|
Итого: |
9,06 |
4,53 |
6-41 |
4-12 |
4,53 |
4-12 |
|
|||||||
Таблица 3

Потребность в инструменте, инвентаре и приспособлениях приведена в табл. 4
Таблица 4
|
Марка, техническая характеристика, ГОСТ, № чертежа |
Количество |
Назначение |
|
|
Клещевой захват |
К3-4 |
1 |
Перемещение труб мусоропровода |
|
Торцевой захват |
3.498.00.00.000 ПТИОМЭС Минсевзапстроя СССР |
1 |
Монтаж труб мусоропровода |
|
Строп 2-х ветвевой |
2СК-2,0 2000 |
1 |
Подъём труб |
|
Рейка-отвес |
367.00.00.000 |
1 |
Выверка вертикальности |
|
Лом монтажный |
типа ЛМА (ЛМВ) ГОСТ 1405-83 |
1 |
Рихтовка элементов |
|
Ведро |
ГОСТ 20558-82*Е |
1 |
Хранение раствора |
|
Кельма |
2 |
Разравнивание раствора |
|
|
Ключ гаечный двухсторонний 12×14 мм |
ГОСТ 10112-80* |
1 |
Крепление стыка хомутом |
|
Кувалда |
ГОСТ 11402-75* |
1 |
Рихтовка элементов |
|
Заправщик жгутовых материалов |
762.02.000 ЦНИИОМТП Госстроя СССР |
2 |
Заправка жгутовых материалов |
|
Зубило слесарное 20 × 60 мм |
ГОСТ 7211-86Е |
2 |
Центрирование труб |
Потребность в материалах и полуфабрикатах для выполнения работ по установке труб мусоропровода приводится в табл. 5
Таблица 5
|
Наименование материала, полуфабриката, конструкции (марка, ГОСТ) |
Исходные данные |
Потребное количество |
||
|
Единица измерения по нормам (чертежам) |
Объём работ в нормативных единицах |
Принятая норма расхода материалов на единицу измерения |
||
|
Трубы асбестоцементные ВТ6 ГОСТ 539-80* |
шт. |
|
|
7 |
|
Муфты асбестоцементные САМ6 ГОСТ 539-80* |
шт. |
|
|
6 |
|
Резиновые кольца ГОСТ 5228-76* |
шт. |
|
|
6 |
|
Хомуты охватывающие ГОСТ 24194-80 |
шт. |
|
|
9 |
|
Раствор цементный |
1 стык |
6 |
0,03 м3 |
0,18 |
|
Пакля |
1 стык |
6 |
0,146 кг |
0,88 |
Работы по установке мусоропровода со стволом из асбестоцементных труб в жилых многоэтажных зданиях выполнят с соблюдением СНиП III-4-80 «Техника безопасности в строительстве». Необходимо пользоваться инструкциями по эксплуатации применяемых машин. Все машины должны быть в исправном состоянии.
Грузовые крюки грузозахватных средств должны быть снабжены предохранительными замыкающими устройствами, предотвращающими самопроизвольное выпадение груза.
При выполнении погрузочно-разгрузочных работ не допускается строповка груза, находящегося в неустойчивом положении, а также смещение строповочных приспособлений на приподнятом грузе. Способы строповки должны исключать возможность падения или скольжения застропованного груза, а также обеспечивать его подачу к месту установки в положении, близком к проектному.
Установленные в проектное положение трубы мусоропровода должны быть закреплены так, чтобы обеспечивалась их устойчивость и геометрическая неизменяемость.
Монтаж труб каждого последующего яруса здания следует производить только после надёжного закрепления всех элементов предыдущего яруса согласно проекту.
В процессе монтажа труб мусоропровода монтажники должны находиться на ранее установленных и надёжно закреплённых конструкциях или средствах подмащивания.
Монтаж должен осуществляться одновременно с монтажом конструкций здания.
Нормативные затраты труда рабочих, чел.-ч 9,06
Нормативные затраты машинного времени, маш.-ч 4,53
Заработная плата рабочих-монтажников, р.-к. 6-41
Заработная плата механизаторов, р.-к. 4-12
Продолжительность выполнения работ, ч 4,41
Выработка на одного рабочего, р.-к. 1-35
СОДЕРЖАНИЕ