МИНИСТЕРСТВО ЖИЛИЩНО-КОММУНАЛЬНОГО ХОЗЯЙСТВА РСФСР
ОРДЕНА ТРУДОВОГО КРАСНОГО ЗНАМЕНИ
АКАДЕМИЯ КОММУНАЛЬНОГО ХОЗЯЙСТВА им. К.Д. ПАМФИЛОВА

Утверждаю

Директор НИИ коммунального

водоснабжения и очистки воды

АКХ им. К.Д. Памфилова

И.И. Демин

29 сентября 1989 г.

РУКОВОДСТВО
ПО ПРИМЕНЕНИЮ ИСПАРИТЕЛЕЙ ЖИДКОГО ХЛОРА
ИЖХ-12,5 И ИЖХ-50

Отдел научно-технической информации АКХ

Москва 1989

Испарители жидкого хлора ИЖХ-12,5 и ИЖХ-50 разработаны НИИ коммунального водоснабжения и очистки воды совместно с исполнителями. Образцы приняты межведомственной комиссией с участием представителей Госгортехнадзора (приказ Минжилкомхоза РСФСР от 15.12.88 № 34).

Настоящее руководство составлено НИИ КВОВ (канд. техн. наук Д.Л. Басин) и предназначено для проектных и эксплуатационных организаций.

НАЗНАЧЕНИЕ ИЗДЕЛИЯ

Испаритель жидкого хлора (индекс «ИЖХ») предназначен для непрерывного испарения жидкого хлора с автоматическим поддержанием заданного теплового режима. Испаритель применяется в технологических схемах подача - испарение - дозирование хлора и обрабатываемые природные и сточные воды с целью их обеззараживания.

ТЕХНИЧЕСКИЕ ХАРАКТЕРИСТИКИ

                                                                                        ИЖХ-12,5                      ИЖХ-50

Производительность, кг/ч, в пределах                          2 - 12,5                           10 - 50

Предельное давление, МПа, не более                                                   1,6

Рабочее давление, МПа, в пределах                                                  0,2 - 0,4

Температура теплоносителя, °С                                                         68 ± 2

Установленная мощность, кВт, не более                         2,5                                   5

Напряжение питания от трехфазной сети с

глухозаземленной нейтралью, В                                                      

Габаритные размеры, мм, не более:

длина                                                                              540                                770

ширина                                                                           374                                600

высота                                                                            1538                              1585

Масса, кг, не более                                                              90                                 180

УСТРОЙСТВО И ПРИНЦИП РАБОТЫ

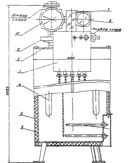
Испарители жидкого хлора (рис. 1, 2) каждого типоразмера состоят из блока управления 1, корпуса 2, крышки 3, теплообменника 4, теплоизоляции с обечайкой 5.

Рис. 1. Испаритель ИЖХ-50:

1 - блок управления; 2 - корпус; 3 - крышка; 4 - теплообменник; 5 - теплоизоляция с обечайкой; 6 - теплоэлектронагреватели; 7 - стеклянная мерная трубка; 8 - манометрические термометр; 9 - мембранный разделитель; 10 - электроконтактный манометр.

Рис. 2. Испаритель ИКХ-12,5 (обозначения см. рис. 1).

Корпус представляет цилиндрическую емкость с плоским днищем. В днище имеется патрубок для слива воды.

В нижней части корпуса расположены три электронагревателя 6.

В крышке имеются два отверстия для крепления с помощью фланцев теплообменника и штуцера для установки датчика термометра; патрубок для установки стеклянной мерной трубки 7, являющейся указателем уровня воды в испарителе; кронштейн для крепления манометрического термометра 8. Крышка крепится к фланцу корпуса.

Теплообменник представляет согнутую из трубы конструкцию U-образной формы. К прямым участкам трубы с каждой стороны приварены по два фланца для крепления теплообменника к крышке и для присоединения его к трубопроводам подачи и отвода хлора и штуцер, к которому через угольник крепятся разделитель 9 и электроконтактный манометр 10.

Блок управления крепится к кронштейнам, установленным на крышке. Имеется возможность подключения внешних цепей сигнализации.

Принцип работы

При залитом в корпус теплоносителе (вода + 0,05 % силиката натрия) включаются электронагреватели. При подаче в теплообменник жидкого хлора происходят его нагревание и испарение. Температура теплоносителя (68 ± 2 °С) поддерживается автоматически, путем включения электронагревателей с помощью электроконтактного манометрического термометра.

МЕРЫ БЕЗОПАСНОСТИ

Испарители эксплуатируются в соответствии с «Правилами безопасности для производства, хранения и транспортирования хлора ПБХ-83» (М.: Недра, 1983).

Давление хлора в теплообменнике не должно превышать 1,6 МПа.

РАЗМЕЩЕНИЕ, МОНТАЖ И ПОДГОТОВКА ИСПАРИТЕЛЕЙ К РАБОТЕ

Испарители жидкого хлора устанавливаются и монтируются в помещении расходного склада хлора или в хлораторной, в соответствии с типовыми проектами.

Соединяются подводящие и отводящие хлоропроводы к входному и выходному патрубкам испарителя, и проверяется плотность соединений в соответствии с требованиями «Правил безопасности для производства, хранения и транспортирования хлора ПБХ-83» и «Правил устройства газопроводов ПУГ-79».

Перед подключением к хлоропроводам теплообменник продувается сухим воздухом.

Подключается электрооборудование в соответствии с электрической схемой (рис. 3).

Заземляются металлические корпуса электрооборудования на общий заземляющий контур.

Через патрубок для установки мерной стеклянной трубки заливается в корпус теплоноситель.

Включаются выключатели QF1, QF2, лампы H1 «Сеть» и Н2 «Нагреватель» должны отключиться.

Проверяется работа нагревателя в режиме нагрева воды до установленной максимальной температуры, и регулируется температура воды в диапазоне установленной минимальной и максимальной температуры.

Проверяется работа сигнальных цепей путем имитации «обрыв» нагревателя и «повышение» давления хлора выше допустимого.

Рис. 3. Электрическая схема.

ПОРЯДОК РАБОТЫ

Включается выключатель «Сеть» (QF1), и прогревается теплоноситель до 68 °С.

Открывается вентиль на емкость с жидким хлором, и он подается в испаритель под давлением 0,2 - 0,4 МПа с расходом, не превышающим наибольшую производительность испарителя.

Выключать испаритель хлора по окончании работы в следующей последовательности:

закрывается вентиль подачи жидкого хлора;

выключается выключатель «Сеть» (QF1).

Испарители обслуживаются оператором хлораторной.

Подробные указания по размещению, монтажу, эксплуатации и техническому обслуживанию даны в сопроводительной документации на испарители.

СОДЕРЖАНИЕ

Назначение изделия. 1

Устройство и принцип работы.. 1

Меры безопасности. 2

Размещение, монтаж и подготовка испарителей к работе. 3

Порядок работы.. 3