ОТРАСЛЕВОЙ ДОРОЖНЫЙ МЕТОДИЧЕСКИЙ ДОКУМЕНТ

Утверждено распоряжением
Минтранса России
от 26.05.2003 г. № ОС-477-р
МЕТОДИЧЕСКИЕ
РЕКОМЕНДАЦИИ
ПО ПРИМЕНЕНИЮ КОНСТРУКЦИЙ
ТЕМПЕРАТУРНО-НЕРАЗРЕЗНЫХ
ПРОЛЕТНЫХ СТРОЕНИЙ
МИНИСТЕРСТВО
ТРАНСПОРТА РОССИЙСКОЙ ФЕДЕРАЦИИ
ГОСУДАРСТВЕННАЯ СЛУЖБА ДОРОЖНОГО ХОЗЯЙСТВА
(РОСАВТОДОР)
МОСКВА 2003
Наличие деформационных швов в проезжей части мостовых сооружений ухудшает условия движения транспортных средств вследствие, как правило, наличия неровностей в местах сопряжения дорожной одежды с конструкциями деформационных швов, а также наличия углов перелома в профиле проезжей части от поворотов торцов смежных пролетных строений.
Конструкции деформационных швов требуют постоянного ухода и содержания, через какое-то время эксплуатации - ремонта и замены, и, как правило, являются причиной коррозионных процессов, происходящих в торцевых сечениях пролетных строений и головных частей опор вследствие проникания через них воды, что снижает долговечность мостовых конструкций. Минимальное количество деформационных швов имеют неразрезные пролетные строения, однако, их монтаж значительно более сложен, чем монтаж разрезных пролетных строений, и они имеют иную область рационального применения, чем пролетные строения с длинами пролетов пролетных строений разрезной системы.
Начиная с 1972 г. (за рубежом с 1966 г.), в СССР получили применение конструкции пролетных строений, монтируемых из разрезных балок, которые в надопорных сечениях в уровне плиты проезжей части тем или иным способом объединены в непрерывные цепи различных длин.
В таких пролетных строениях на длине цепи отсутствуют деформационные швы, дорожная одежда на длине цепи непрерывна, углы перелома над опорами сглажены элементом объединения пролетных строений. Езда по таким пролетным строениям более комфортна, долговечность конструкций сооружения выше.
Такие пролетные строения получили название пролетных строений с шарнирными сопряжениями, позже за ними закрепилось название «температурно-неразрезные».
Объединение разрезных пролетных строений в цепи не меняет характера их работы на вертикальные нагрузки, при действии же горизонтальных сил и изменениях температуры объединенные пролетные строения работают как неразрезные.
В основу настоящих Методических рекомендаций положены «Методические рекомендации по проектированию и строительству температурно-неразрезных пролетных строений мостов на автомобильных дорогах» (Союздорнии, 1997 г.); «Технические условия по применению температурно-неразрезных пролетных строений при строительстве автодорожных мостов» (Росавтодор, Росдорнии, 1992 г.); «Методические рекомендации по внедрению конструктивно-технологического решения «Температурно-неразрезные пролетные строения по патенту № 1323630 «Мост» на автомобильной дороге М-3 «Украина» (Союздорнии, Союздорпроект, 2000 г.); «Рекомендации по объединению пролетных строений путепровода транспортной развязки ул. Комсомольская и 50 лет СССР в г. Уфе в температурно-неразрезную цепь» (Союздорнии, 2001 г.) и др.
При разработке Рекомендаций приняты во внимание конструктивные решения по проекту Союздорпроекта (инв. № 32300-М, вып. 10, 1996 г.) «Температурно-неразрезные пролетные строения. Рабочие чертежи»; типовому проекту Союздорпроекта (серия 3.503.1-81 вып. 0-2) «Материалы для проектирования температурно-неразрезных пролетных строений мостов и путепроводов, расположенных на автомобильных дорогах общего пользования»; типовому проекту Киевского филиала Союздорпроекта (серия 3.503.1-58 вып. 0-4, ч. I, 1982 г.) «Пролетные строения автодорожных мостов и путепроводов железобетонные температурно-неразрезные пролетами от 12 до 33 м с использованием серий 3.503-12 и 3.503-14»; проекту Укргипродора (серия 5.106-76) «Автодорожные железобетонные температурно-неразрезные пролетные строения из пустотных плит длиной 12 и 18 м», а также индивидуальные проекты мостовых сооружений с температурно-неразрезными пролетными строениями.
В настоящих Методических рекомендациях учтены разработки Росдорнии в части объединения в ТНПС сталежелезобетонных пролетных строений. Одним из вариантов объединения пролетных строений в цепь является объединение посредством металлических тяг по патенту № 1323630 «Мост».
Температурно-неразрезные пролетные строения, в основе которых лежат разработки Союздорнии, начиная с 1970 г., в 80-е - начале 90-х годов составляли на сети автомобильных дорог порядка 60 % от области применения сооружений, охватываемой разрезными пролетными строениями. Их состояние - бездефектное, - идеология повышения надежности надопорных узлов за счет исключения деформационных швов и замены их шарнирными сопряжениями полностью оправдалась. Движение по ТНПС более комфортное, чем по разрезным. Необходимость выполнения ремонта надопорных узлов полностью исключена.
Среди мостов ТНПС следует назвать первый по времени строительства мост с ТНПС через р. Оку в г. Рязани - 3 цепи по 270 м, путепровод на автомобильной дороге Москва - Самара с длиной цепи 524 м, мост через р. Красную в Ханое - с длинами цепей 724 м.
Методические рекомендации разработаны коллективом авторов: зав. отделом искусственных сооружений Сахаровой И.Д., зав. сектором мостового полотна Казаряном В.Ю. (ФГУП «Союздорнии»); главным инженером проектов Решетниковым В.Г. (ФГУП «Союздорпроект»); зам. генерального директора Шестериковым В.И. (ГП «Росдорнии»).
Настоящие Рекомендации разработаны в развитие требований главы СНиП «Мосты и трубы» в части повышения эксплуатационной надежности пролетных строений мостовых сооружений, обеспечения комфортных и безопасных условий движения транспортных средств без снижения скорости, уменьшения затрат на ремонт мостового полотна, а также повышения долговечности мостового сооружения в целом.
1.2. Требования настоящих Рекомендаций должны соблюдаться при проектировании и строительстве температурно-неразрезных пролетных строений (ТНПС) мостовых сооружений на автомобильных дорогах и в городах, а также при реконструкции эксплуатируемых сооружений путем замены разрезных пролетных строений температурно-неразрезными.
Объединение пролетных строений в температурно-неразрезное производят за счет уменьшения количества деформационных швов, работающих на продольные перемещения, в пределах цепи пролетных строений путем объединения пролетных строений в надопорных участках.
1.3. Температурно-неразрезными названы объединенные между собой в уровне плиты проезжей части или центра тяжести балок разрезные пролетные строения, в результате чего при температурных воздействиях они работают как неразрезные, а при вертикальных - как разрезные.
Температурно-неразрезными могут быть также пролетные строения консольных систем, в которых консоли объединены с подвесными пролетными строениями.
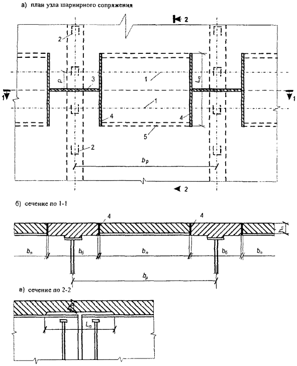
1.4. Группа разрезных пролетных строений, объединенных в температурно-неразрезное, носит название цепи; узел сопряжения смежных пролетных строений в цепь назван шарнирным сопряжением; участок плиты, соединяющей пролетные строения над деформационным швом, - соединительной плитой.
Конструкция узла сопряжения должна обеспечивать непрерывность дорожной одежды и воспринимать усилия, возникающие в цепи пролетных строений, не препятствуя их поворотам.
1.5. Пролетные строения, объединяемые в температурно-неразрезное, должны быть рассчитаны на дополнительные усилия, возникающие при работе их в цепи пролетных строений, а их элементы (плита проезжей части, ребро балки, бетон продольного стыка) - проверены на усилия, действующие в них, с учетом изменений их сечений, и соответствующим образом заармированы.
2.1. ТНПС могут быть образованы из пролетных строений, расположенных в плане на прямой и криволинейной продольных осях, в косых пересечениях, при любом расположении в профиле. Объединение сборных пролетных строений в косых пролетных строениях может быть применено при любом угле косины, однако область рационального применения ТНПС в косых пролетных строениях ограничивается 60°.
2.2. Количество пролетных строений, объединяемых в температурно-неразрезную цепь, определяют путем анализа затрат на строительство мостового сооружения по альтернативным вариантам сопоставлением перемещений на концах цепи (соответственно им - требуемых конструкций деформационных швов и типоразмеров опорных частей).
2.3. Предпочтительно образовывать цепи с максимальным количеством пролетных строений, поскольку при этом обеспечиваются наилучшие условия эксплуатации моста, определяемые отсутствием углов перелома в надопорных сечениях, минимальным количеством деформационных швов, применением более совершенных, изготовленных в заводских условиях конструкций деформационных швов, обеспечивающих большие перемещения по концам цепей*).
*) Наиболее комфортные условия движения на мостах - с минимальным числом цепей.
2.4. Цепи пролетных строений предпочтительно формировать таким образом, чтобы продольные перемещения пролетных строений происходили в обе стороны от середины цепи. В этом случае возможно более эффективно использовать конструкции деформационных швов и опорных частей.
2.5. В продольном направлении цепи пролетных строений все опорные части могут быть в случае применения резиновых слоистых и комбинированных на части длины цепи подвижными, либо на одной из опор под концом одного пролетного строения может быть установлена неподвижная опорная часть. При установке неподвижных опорных частей на одной опоре под концами балок смежных пролетных строений объединение над этой опорой не производят. При наличии неподвижных опорных частей в цепи пролетных строений должна быть обеспечена возможность перемещений балок в поперечном направлении пролетного строения. Принципиальные схемы объединения пролетных строений в цепь приведены на рис. 1, 1а.
2.6. При большом одностороннем продольном уклоне (свыше 20 %) целесообразно опирание нижнего по уклону пролетного строения на неподвижные опорные части, что приводит к появлению усилий сжатия в узлах шарнирного сопряжения.
В цепи пролетных строений с разными пролетами неподвижные опорные части целесообразно размещать под пролетным строением большего пролета.
2.7. При установке пролетных строений на гибкие опоры под концом одного из них (при металлических опорных частях) на каждой опоре должны быть установлены неподвижные опорные части. Применение резиновых опорных частей не требует дополнительных мер по вовлечению опор в продольные перемещения.
2.8. В районах строительства с просадочными грунтами в цепи пролетных строений под концом одного из пролетных строений необходима постановка неподвижных опорных частей.
Рис. 1. Схемы компоновки пролетных строений:
1 - подвижная опорная часть; 2 - слоистая резиновая опорная часть; 3 - деформационный шов; 4 - соединительная плита; 5 - неподвижная опорная часть; 6 - переходная плита поверхностного типа; Lцi - цепь пролетных строений; LTi - «температурный» пролет
Рис. 1а. Принципиальная схема образования температурно-неразрезных цепей с помощью металлических тяг:
1 - разрезное пролетное строение; 2 - слоистая резиновая опорная часть; 3 - конструкция деформационного шва, обеспечивающая продольные перемещения; 4 - конструкция деформационного шва, обеспечивающая только угловые перемещения; 5 - продольная тяга; 6 - неподвижная опорная часть; Lцi - температурно-неразрезное пролетное строение (цепь пролетных строений); LTi - «температурный» пролет цепи
2.9. В мостовых сооружениях консольных систем при объединении с консолями подвесных пролетных строений опирание обоих их концов должно быть подвижным. При этом объединение в цепь осуществляют таким образом, чтобы в схеме моста сохранялась статическая определимость.
2.10. Допускается объединение конца цепи пролетных строений с переходными плитами поверхностного типа за устоем. При этом опирание конца пролетного строения на устое должно быть неподвижным, чтобы переходная плита не была вовлечена в продольное перемещение с ТНПС.
Возможно объединение конца цепи пролетных строений со шкафной стенкой устоя. При этом опирание конца пролетного строения на устое должно быть подвижным.
2.11. По концам цепей пролетных строений должны быть установлены конструкции деформационных швов, обеспечивающие перемещения, собирающиеся в цепи пролетных строений на длине «температурного» пролета: от неподвижной опорной части или от оси симметрии цепи и - при отсутствии неподвижной опорной части - до конца цепи. В пролетных строениях, состоящих из нескольких цепей, в надопорном сечении, где сходятся концы смежных цепей, устанавливают конструкции деформационных швов, обеспечивающие воспринятие перемещений со смежных цепей.
2.12. В качестве подвижных опорных частей могут быть применены тангенциальные (при малых перемещениях), катковые, валковые, резиновые и резино-фторопластовые (при больших перемещениях) опорные части.
Опорные части из полимерных материалов и их размещение на опорах должны отвечать требованиям соответствующих нормативных документов.
2.13. Допускается применение составных по высоте опорных частей, объединенных друг с другом шпонками, при условии, что суммарная толщина резины составной опорной части не превышает 0,2 от ее наименьшего размера в плане.
3.1. В ТНПС объединяют:
а) ребристые пролетные строения
- по плите проезжей части в пределах всей ширины пролетного строения (рис. 2) либо ее части (рис. 3);
- по продольным бетонируемым стыкам с отделением бетона стыка на части его длины от плиты (рис. 4); объединение по продольным стыкам без отделения бетона стыка от плиты не допускается;
- с помощью стыковых накладок (рис. 5) или металлических шпонок (рис. 6) и другими способами, при которых элемент объединения имеет достаточную свободную длину и деформируется при воздействиях временной подвижной нагрузки, не следуя за деформациями балки;
Рис. 2. Объединение пролетного строения по всей ширине плиты проезжей части:
hп - толщина соединительной плиты; La - анкерная зона; Lп - длина соединительной плиты
Рис. 3. (по а.с. № 992645). Схема объединения пролетных строений по части ширины плиты проезжей части с отделением соединительной плиты от ребер в вертикальной плоскости:
1 - прокладка; bp - ширина ребра; bш - ширина шва бетонирования; ln - длина соединительной плиты; bб - ширина плиты балки; а - расстояние между смежными пролетными строениями
Рис. 4. Схема объединения пролетных строений по продольным швам бетонирования:
1 - вертикальная прокладка; Lп - зона отделения плиты от бетона продольного шва; hп - толщина плиты
б) плитные пролетные строения
- с помощью стыковых накладок (см. рис. 5);
- по продольным шпоночным швам (рис. 7);
в) пролетные строения с дорожной одеждой из плотного бетона, выполняющей гидроизолирующие функции, объединяют по выравнивающему слою (рис. 8). Не допускается одновременное объединение пролетных строений по выравнивающему слою и плите проезжей части, а также продольным бетонируемым стыкам.
3.2. При объединении сборных пролетных строений по плите проезжей части балки изготавливают с недобетонированной на концах плитой, имеющей горизонтальные выпуски (см. рис. 2). Количество выпусков арматуры из плиты балок должно соответствовать количеству стержней арматуры соединительной плиты.
Размер недобетонированной части плиты принимают равным половине длины соединительной плиты за вычетом половины расстояния между торцами пролетных строений и увеличенным на длину анкеровки стыкуемых стержней в бетоне Lа = 30Æ. В пределах длины соединительной плиты вертикальных выпусков из ребра не должно быть. За пределами длины соединительной плиты в зоне анкеровки (Lа) выпуски арматуры из ребра обязательно сохраняют.
Перед бетонированием смежных пролетных строений в цепь на ребра балок в пределах длины соединительной плиты укладывают прокладки толщиной 5 - 10 мм (из изопласта или другого гидроизоляционного материала).
Длину соединительной плиты определяют расчетом.
Рис. 5. Схема объединения пролетных строений по стыковым накладкам:
1 - анкера; 2 - закладные детали; 3 - стыковые накладки (стержни); 4 - сварной шов; bп - ширина плиты; а – расстояние между торцами смежных пролетных строений
Рис. 6. Схема объединения пролетных строений с помощью шпонок:
1 - плита проезжей части hп; 2 - арматура плиты; 3 - анкеры закладной детали; 4 - закладная деталь; 5 - соединительная трапециевидная пластина; 6 - ребро балки; lа - шаг анкеров (устанавливают в шахматном порядке по высоте); а - расстояние между торцами смежных пролетных строений (размеры в мм)
Рис. 7. Объединение плитных пролетных строений по продольным шпоночным швам:
1 - поперечные стержни армирования плиты; 2 - шпонка; 3 - арматура объединения плит; 4 - брус-опалубка; 5 - отделяющая прокладка вокруг стержня (3); 6 - фиксатор положения стержней (3); 7 - арматура продольного стыка (шаг 100 мм); а - расстояние между торцами смежных пролетных строений; hп - толщина бетона
Рис. 8. Схема объединения пролетных строений по выравнивающему слою дорожной одежды, выполняющему гидроизолирующие функции:
1 - выравнивающий слой; 2 - упругая прокладка; 3 - арматура соединительной плиты; 4 - доска-опалубка; 5 - арматура выравнивающего слоя; 6 - выпуски из плиты балок (в пределах продольных бетонируемых стыков); Lп - длина соединительной плиты; La - длина анкерной зоны; Æ - диаметр арматуры; hп - толщина соединительной плиты; а - расстояние между смежными пролетными строениями (размеры в мм)
3.3. В том случае, когда невозможно выполнить недобетонировку плиты на ширине ребра балки (наличие пучков в плите, высокое расположение анкеров и т.п.), производят недобетонирование плиты только в пределах ее консольных свесов (см. рис. 3). При этом из плиты должны быть сделаны горизонтальные продольные выпуски (армирование специальное).
В пределах недобетонировки плиты горизонтальных выпусков арматуры из ребра (в поперечном направлении) быть не должно.
Перед объединением смежных пролетных строений в цепь в пределах недобетонированной части плиты между ребром и бетонируемой соединительной плитой следует разместить вертикальную прокладку, препятствующую сцеплению бетона плиты с ребром.
Длину соединительной плиты определяют расчетом.
3.4. Объединение пролетных строений по продольным бетонируемым стыкам допускается при обязательном отделении бетона стыка от плит балок на длине Ln, определяемой расчетом (см. рис. 4). Для осуществления такого объединения выпуски поперечной арматуры из плит балок на длине Ln срезают, устанавливают вертикальные прокладки (из изопласта, фанеры и т.д.), устанавливают продольную арматуру (по расчету) с заанкериванием ее за пределами длины отделения Ln и производят бетонирование продольного стыка без перерывов в пределах размещения рабочей арматуры.
Объединение пролетных строений по продольным стыкам без отделения их от балок не допускается.
3.5. Пролетные строения могут быть объединены в ТНПС с помощью стыковых накладок (см. рис. 5) или шпоночного стыка (см. рис. 6) с приваркой к закладным деталям в торцевых частях плиты проезжей части вертикальных трапецеидальных элементов.
Для образования таких стыков по концам плит объединяемых пролетных строений при изготовлении конструкций устанавливают закладные детали с надежной их анкеровкой в несущих конструкциях. Закладные детали могут быть установлены и в бетоне продольных бетонируемых стыков. Объединение пролетных строений осуществляют приваркой к закладным деталям стыковых накладок (предпочтительно арматурных стержней - из-за возможного несовпадения уровня стыкуемых элементов - стержни можно изогнуть). Стыковочные элементы должны иметь свободную длину 100 - 150 мм для возможности деформирования их при поворотах объединяемых элементов. Длину сварных швов, прикрепляющих стыковые накладки к закладным деталям, определяют расчетом.
3.6. Объединение плитных пролетных строений производят с помощью стыковых накладок (см. рис. 5) или арматурных стержней, закладываемых в продольные шпоночные стыки (см. рис. 7). В последнем случае при бетонировании пустотных плит их изготавливают на длине 50 - 60 см от торцов без верхних выступов, образующих шпонку, либо эти выступы срубают на монтаже.
В продольные стыки закладывают продольные стержни, сечение которых определяют расчетом. На длине 250 - 300 мм стержни исключают из совместной работы с бетоном для возможного их деформирования при изгибе. Для этого их обертывают полиэтиленовой пленкой.
Шпоночный шов с установленной в него арматурой заполняют бетоном, тщательно уплотняя и обеспечивая его сцепление с боковыми поверхностями плит, образующими шпонку. Толщина бетона между торцами смежных пролетных строений не должна превышать 60 - 80 мм.
3.7. На ТНПС с дорожной одеждой из плотного бетона, выполняющей гидроизолирующие функции (см. рис. 8), последняя за пределами отделяющей прокладки должна быть объединена с балками пролетных строений посредством выпусков арматуры из продольных бетонируемых стыков, количество которых назначают по расчету, и размещается на длине Ln + 30Æ.
3.8. При образовании ТНПС в мостовых сооружениях с опиранием пролетных строений на ригель таврового сечения (рис. 9) длину соединительной плиты Ln предпочтительно принимать больше, чем расстояние между торцами пролетных строений (Lin).
Отделение плиты следует производить на длине не менее расстояния от торца балок до оси их опирания. Опирание соединительной плиты на ригель опоры не допускается. В случае недостаточной длины соединительной плиты (например, в криволинейных пролетных строениях) по торцам соединительной плиты устраивают неполные шарниры путем врезки в тело бетона закладных брусков с целью уменьшения ее толщины.
3.9. При устройстве на ТНПС конструкции дорожной одежды с применением цементобетонного покрытия или бетонного выравнивающего слоя, выполняющего гидроизолирующие функции, одновременное выполнение объединения по этому слою дорожной одежды и любым другим способом в уровне плиты проезжей части или ниже ее не допускается.
Рис. 9. Схема сопряжения пролетных строений, расположенных на кривой в плане при опорах с ригелем таврового сечения:
1 - неполный шарнир; Lijп - длина соединительной плиты в пределах ширины пролетного строения; hп - толщина соединительной плиты; b - длина отделения плиты от ребра балки
Рис. 10. Объединение пролетных строений по плите проезжей части при использовании типовых косых балок:
1 - прокладка из изопласта; 2 - соединительная плита; 3 - выпуски из ребра балок (обрезать в уровне низа прокладки); 4 - брус-опалубка; 5 - балка; а - расстояние между торцами смежных пролетных строений; bб - ширина балки; bш - ширина стыка между балками; Lп - длина соединительной плиты; hп - толщина соединительной плиты
Рис. 11. Схема объединения косых пролетных строений по продольным бетонируемым стыкам:
1 - зона расположения расчетной арматуры в продольных стыках; 2 - прокладки из фанеры, изопласта и т.п.; Lп = (bб + bш) cosa - зона прокладки, длина соединительной плиты; а - расстояние между торцами смежных пролетных строений; bб - ширина балки; bш - ширина продольного стыка
3.10. Область применения различных способов объединения пролетных строений в ТНПС и длины цепей определяются только конструктивными особенностями конкретных пролетных строений, возможностью осуществить «разумное» армирование узлов шарнирных сопряжений имеющимися конструкциями опорных частей и деформационных швов.
3.11. В косых мостовых сооружениях применяют те же схемы объединения, что и в прямых, используя при этом балки с недобетонированной плитой, типовые косые балки (рис. 10) и балки в обычном исполнении (рис. 11). При применении косых балок необходимо обрезать на уровне низа плиты выпуски арматуры из ребер в пределах соединительной плиты и добетонировать ребро. Торцовую поперечную балку, предусмотренную в типовом проекте косых пролетных строений, в этом случае не устраивают.
3.12. При объединении пролетных строений по плите балок и продольным бетонируемым стыкам соединительную плиту устраивают из бетона того же класса, что и пролетные строения. При объединении по выравнивающему бетонному слою, выполняющему гидроизолирующие функции, применяют бетон класса не ниже В25 с W8-10. Для армирования следует применять арматурную сталь классов AI - AIII с диаметром рабочей арматуры не более 22 мм.
3.13. Расчетную арматуру соединительной плиты размещают в пределах ширины балок и продольных бетонируемых стыков. Арматуру продольных стыков следует пропускать без разрыва над опорой из пролета в пролет.
При объединении пролетных строений по продольным бетонируемым стыкам расчетную арматуру размещают на длине отделения бетона стыка балок плюс 30 диаметров рабочей арматуры с каждой стороны от опоры.
3.14. При объединении пролетных строений металлическими тягами их устанавливают попарно в надопорных сечениях балок смежных пролетных строений в уровне их центров тяжести или выше его. Количество пар тяг, устанавливаемых на балках в поперечном сечении пролетного строения, определяют расчетом в зависимости от величины продольного усилия в них. Минимальное количество пар тяг - две, устанавливаемых на балках симметрично относительно продольной оси пролетного строения (рис. 12).
Предпочтительно не устанавливать тяги на фасадных балках. Объединение тягами может быть выполнено при пролетных строениях разной высоты в смежных пролетах (рис. 13) и любом положении балок смежных пролетов в плане (рис. 14).
Рис. 12. Расположение тяг в поперечном сечении пролетного строения:
1 - балки пролетного строения; 2 - продольные тяги; bi - расстояние от верха плиты проезжей части до центра отверстия крепления тяги
Рис. 13. Объединение пролетных строений тягами в надопорных зонах:
1 - балки пролетного строения; 2 - продольные тяги; 3 - опорные части; Lpi,j - расчетные пролеты балок; bi,j - расстояние центров отверстий крепления тяг от верха плиты проезжей части; а - расстояние между торцами смежных пролетных строений; Сi,j - расстояние центров отверстий крепления тяг от торцов балок
Рис. 14. Объединение пролетных строений тягами (план; плита балок не показана):
1 - ребра балок; 2 - тяги; 3 - палец тяги; Li,j - длина балок; ti,j - расстояние между балками; D - диаметр отверстия в ребре; Ci,j - длины частей тяг на балках разных пролетных строений; f - относительное смещение балок в плане
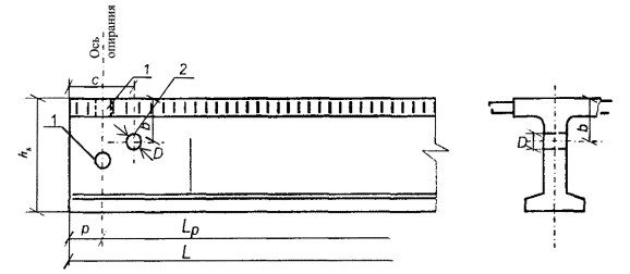
Рис. 15. Положение отверстий в балках для крепления тяг:
L - полная длина балки; Lр - расчетный пролет балки; р - положение оси опирания балки от торца; с - положение отверстия от торца балки; b - положение отверстия от верха плиты; hδ - высота балки; 1 - строповочное отверстие; 2 - отверстие для тяги
3.15. Для объединения
пролетных строений в цепь с помощью металлических тяг в ребре балок на уровне
положения центров тяжести поперечных сечений балок или выше их (что
предпочтительно) образовывают отверстия диаметром
мм. Расстояние
отверстия от торца балки принимают в зависимости от величины пролета (рис. 15).
Положение отверстий принимают в соответствии с табл. 1. Оно должно быть приурочено к
промежутку между стержнями (ячейке) армирования стенки балки.
Таблица 1
Положение отверстий для анкеровки тяг
|
Пролет балки L, м |
Расстояние отверстия, мм, от торца балки по проекту |
|||
|
3.503.1-81 |
3.503.1-73 |
|||
|
От верха плиты, в |
От торца плиты, с |
От верха плиты, в |
От торца плиты, с |
|
|
12 |
- |
- |
24-0+2 |
800 |
|
15 |
- |
- |
24-0+2 |
800 |
|
18 |
- |
- |
29-0+3 |
800 |
|
24 |
41-2+2 |
800 |
- |
- |
|
33 |
62-2+2 |
1250 |
- |
- |
|
42 |
80-2+2 |
1250 |
- |
- |
3.16. Тяга для объединения пролетных строений в цепь представляет собой конструкцию, состоящую из двух уголков 125´125 мм или двух пластин сечением 120´20 мм, длина которых равна расстоянию между внешними краями отверстий сопрягаемых пролетных строений плюс 168 мм и двух металлических штырей - пальцев диаметром 40 мм. Длину пальцев в общем случае принимают равной толщине ребра балки плюс две толщины полки уголка или пластины (рис. 16).
В случае, если оси балок смежных пролетных строений не совпадают, длину пальца увеличивают и принимают равной сумме толщин сопрягаемых балок, расстояния между ними в поперечном направлении пролетного строения и двух толщин продольных элементов тяги.
3.17. В температурно-неразрезные могут быть объединены сталежелезобетонные пролетные строения, образованные стальными балками со сплошной стенкой, фермами с ездой понизу и поверху. Возможность устройства ТНПС из пролетных строений, в которых железобетонная плита объединена с поперечными балками (например, в фермах с ездой понизу), устанавливается по результатам проверки расчетом прочности упоров и прикреплений поперечных балок.
3.18. Сталежелезобетонные пролетные строения из балок со сплошной стенкой с ездой по верху объединяют в температурно-неразрезные в зависимости от конструктивных особенностей железобетонной плиты и главных балок следующими способами:
- при наличии концевого монолитного участка плиты - по плите с отделением ее от главных балок при удалении на этом участке продольных вутов (рис. 17); при этом также удаляют концевые упоры, а оставшиеся в пределах монолитного участка выполняют усиленными;
- при невозможности удаления крайних упоров, попадающих на участок с монолитной плитой, объединение осуществляют с устройством в монолитной плите над концами балок вертикальных прорезей по границе продольных вутов (рис. 18); длину прорезей определяют расчетом из условия прочности соединительной плиты;
Рис. 16. Тяга:
1 - балки пролетного строения; 2, 2’ - продольные элементы тяги; 3 - палец тяги; а - зазор между торцами смежных пролетных строений; с - расстояние отверстия от торца балки; bб - толщина ребра балки; u - толщина продольного элемента тяги
- при наличии сборных железобетонных плит на всей длине пролетных строений объединение осуществляют с помощью стыковых накладок, привариваемых к закладным деталям, установленным при изготовлении концевых плит (см. рис. 5).
Рис. 17. Объединение сталежелезобетонных пролетных строений по монолитному участку плиты при удалении продольных вутов:
1 - главные балки; 2 - усиленные упоры на концах главных балок; 3 - монолитный участок плиты; 4 - бетон омоноличивания упоров в сборной плите; 5 - сборная плита; Lм - участок укладки монолитного бетона; Ln - длина соединительной плиты
3.19. При объединении пролетных строений со сборными плитами с помощью накладок закладные детали следует располагать таким образом, чтобы их можно было использовать и для объединения с железобетонными пролетными строениями в случае примыкания к сталежелезобетонному железобетонного пролетного строения.
При объединении пролетных строений с монолитными концевыми участками плиты с устройством прорезей в плите по концам прорезей необходимо устраивать поперечные вуты, если прорезь выходит за пределы 2р (см. рис. 18), где р - расстояние от торца плиты до оси опирания.
3.20. Сталежелезобетонные пролетные строения с прокатными главными балками (из обычного или широкополочного двутавра) объединяют в температурно-неразрезные:
- по монолитной плите с отделением ее от ребра на концевом участке (см. рис. 17);
- с помощью стыковых накладок (см. рис. 5) при сборных плитах на концевых участках.
Для ферм с ездой поверху используют конструктивные решения объединения, применяемые в пролетных строениях со сплошной стенкой. Объединение пролетных строений с прокатными балками допускается по выравнивающему бетонному слою (см. рис. 8), выполняющему гидроизолирующие функции в конструкции дорожной одежды.
3.21. Область применения различных конструктивных решений узла шарнирного сопряжения сталежелезобетонных пролетных строений принимают по табл. 2. Длины цепей и количество пролетов в них определяют на основе расчетов.
Таблица 2
Область применения конструкций сопряжения в сталежелезобетонных пролетных строениях
|
Рис. |
Рекомендуемые границы применения |
Ограничения |
||||
|
Пролет, м |
Кол-во пролетов, шт.*) |
Длина цепи, м |
Угол косины, град. |
|||
|
По монолитной плите проезжей части |
Без ограничений |
|
||||
|
По монолитной плите с вертикальными прорезями |
42 |
2 |
100 |
60 |
В пролетных строениях со сплошной стенкой и фермах с ездой поверху |
|
|
По стыковым накладкам |
42 |
2 |
100 |
75 |
При толщине плиты не менее 15 см |
|
|
По выравнивающему слою |
15 |
4 |
60 |
75 |
Только при прокатных балках |
|
*) Количество пролетов и длина цепи указаны в одну сторону от неподвижного сечения.
Рис. 18. Схема объединения сталежелезобетонных пролетных строений с отделением монолитной плиты вертикальными прорезями:
1 - ось опирания пролетного строения; 2 - усиленные упоры; 3 - доска заполнения зазора между смежными пролетными строениями; 4 - вертикальные отделяющие прокладки; 5 - место поперечного вута; hп - толщина соединительной плиты; bп - ширина соединительной плиты; Lп - пролет соединительной плиты; bб - условная ширина балки; bр - расстояние между главными балками; р - расстояние от торца плиты до оси опирания пролетного строения
3.22. Требования настоящего подраздела распространяются на конструкции узлов шарнирного сопряжения, осуществляемые при реконструкции пролетных строений мостовых сооружений.
Объединение разрезных пролетных строений в температурно-неразрезные путем исключения конструкций деформационных швов может быть выполнено: в плитных пролетных строениях; ребристых (сборных и монолитных) пролетных строениях с пролетами до 33 м; сталежелезобетонных из прокатных балок; сталежелезобетонных пролетных строениях с балками со сплошной стенкой или сквозными фермами с ездой поверху пролетом в свету до 40 м.
3.23. Железобетонные и сталежелезобетонные пролетные строения эксплуатируемых сооружений объединяют в температурно-неразрезные в зависимости от длины пролета, количества объединяемых пролетов и конструкций опорных частей:
- по выравнивающему слою, выполняющему гидроизолирующие функции в конструкции дорожной одежды (см. рис. 8);
- с помощью стыковых накладок, привариваемых к закладным деталям (см. рис. 5). Возможно также объединение по плите проезжей части (см. рис. 2), а также с помощью металлических тяг (см. рис. 14).
3.24. Объединение уширяемых пролетных строений осуществляют по накладной монолитной плите либо по продольным бетонируемым стыкам (с устройством продольных прорезей по аналогии с решением, представленным на рис. 3), которыми присоединяют уширяющую часть пролетного строения в случае увеличения ширины не менее чем в 1,5 раза. При уширении или усилении пролетных строений монолитной железобетонной плитой сопрягаемые пролетные строения объединяют по плите с отделением ее от нижележащей конструкции на необходимой длине, определяемой расчетом.
3.25. Допускается при ремонте (реконструкции) железобетонных пролетных строений осуществлять объединение по бетонному сточному треугольнику толщиной более 60 мм, если прочность бетона отвечает требованиям п. 3.12. При этом необходимо принимать меры, обеспечивающие надежное сцепление бетона вновь укладываемого сточного треугольника на конце пролетного строения с бетоном конструкции (с анкеровкой его за пределами отделения упругой прокладкой участка соединительной плиты). Длина зоны передачи усилий (анкерная длина) должна составлять с каждой стороны от оси деформационного шва:
- 1 м - при двухпролетной цепи;
- 1,5 м - при трех-, четырехпролетной цепи.
Длина отделения нового армированного сточного треугольника составляет 0,8 ÷ 1,0 м соответственно при пролетных строениях 10 и 15 м.
3.26. Область применения конструктивных решений узлов сопряжения реконструируемых пролетных строений приведена в табл. 3.
Таблица 3
Область применения шарнирных узлов сопряжения при реконструкции пролетных строений
|
Рис. |
Рекомендуемые границы применения |
Ограничения |
||||
|
Пролет, м |
Кол-во пролетов, шт.*) |
Длина цепи, м*) |
Угол косины, град. |
|||
|
По монолитной плите проезжей части |
Без ограничений |
|
||||
|
По монолитной плите с вертикальными прорезями |
42 |
2 |
100 |
60 |
В пролетных строениях со сплошной стенкой и фермах с ездой по верху |
|
|
По стыковым накладкам |
42 |
2 |
100 |
75 |
При толщине плиты не менее 15 см |
|
|
По выравнивающему слою |
15 |
4 |
60 |
75 |
Только при прокатных балках |
|
*) Количество пролетов и длина цепи указаны в одну сторону от неподвижного сечения.
4.1. Расчет пролетных строений, объединенных в температурно-неразрезную цепь, начинают с определения величин перемещений ее концов для принятия решения о количестве пролетов, замыкаемых в цепь.
Критерием рациональной длины цепи являются максимально использованные возможности принятого типа опорных частей и конструкций деформационных швов на ее концах.
4.2. Продольные перемещения в цепи пролетных строений определяют относительно неподвижного сечения цепи в уровнях деформационных швов и опорных частей.
4.3. Неподвижное сечение цепи (при отсутствии неподвижной опорной части) определяют из условия равенства сил сопротивления перемещениям в уровне верха опорных частей справа и слева от неподвижного сечения. Указанные условия записываются в виде
, (1)
где nлев, nпр - число опор слева и справа от середины цепи;
lлев, lпр - расстояние до i-ой опоры, находящейся слева и справа от середины цепи;
Кприв - приведенный коэффициент жесткости опоры, учитывающий сопротивляемость основания (грунта), опоры и опорных частей их перемещениям;
Ко - коэффициент жесткости опоры, соответствующий усилию, которое необходимо приложить к верху опоры, чтобы сместить его на единицу длины (1 см);
Ко.ч. - коэффициент жесткости опорной части;
k - количество опорных частей на опоре.
или
. (2)
4.4. Коэффициенты жесткости принимают следующими:
Ко.ч. = 0 в катковых, валковых и скользящих опорных частях с фторопластовыми прокладками;
Ко.ч. = ∞ в плоских металлических опорных частях скольжения, если при предполагаемых перемещениях пролетного строения проскальзывание не предвидится (реакция опоры от ее деформации в уровне опорной части превышает усилие трения, подсчитанное при коэффициенте трения f = 0,4).
Для РОЧ:
, (3)
где Gtст - статический модуль сдвига резины при расчетной отрицательной температуре (по соответствующему нормативному документу);
Fр - площадь опорной части.
Коэффициент жесткости устоя при действии нагрузки в сторону подхода допускается принимать равным бесконечности.
4.5. При жестких опорах цепи с постановкой неподвижных опорных частей - за неподвижное сечение принимают сечение с неподвижной опорной частью.
При отсутствии в ТНПС неподвижных опорных частей при пролетных строениях, имеющих равные пролеты, или симметрично относительно середины цепи расположенные одинаковые пролеты - за неподвижное сечение цепи принимают середину.
4.6. Величины перемещений в уровне опорных частей, необходимые для выбора их типа, определяют не только на концах цепей, но и на промежуточных опорах. При этом учитывают перемещения, возникшие после монтажа пролетных строений до замыкания их в цепь, и перемещения - после замыкания. Расчет проводится по наиболее невыгодным сочетаниям температур установки и замыкания.
Максимальные перемещения по концам цепи (цепей), собирающиеся в деформационных швах, определяют как сумму перемещений от длительных воздействий в сторону центра цепи (температура, усадка, ползучесть) и в сторону концов цепи (температура) и перемещений от подвижной временной нагрузки. Величину перемещений от временной подвижной нагрузки в деформационных швах определяют от тормозного усилия, направленного от оси рассматриваемого шва и распределяемого между опорами пропорционально их приведенным жесткостям. При этом загружают лишь одно из сопрягаемых ТНПС.
4.7. Расчет перемещений узлов ТНПС, необходимый для определения рациональной длины цепи, выполняют из рассмотрения системы «пролетное строение - опорная часть - грунт».
Основную систему для расчета мостового сооружения с температурно-неразрезными пролетными строениями на гибких опорах получают путем устранения горизонтальных связей в опорных частях (рис. 19) либо в середине пролетного строения с приложением взамен них продольных усилий Хi.
В первом случае количество неизвестных равно числу опорных частей, во втором - числу пролетных строений (рис. 19).
Рис. 19. Схема для расчета температурно-неразрезного пролетного строения с резиновыми опорными частями на гибких опорах
4.8. Для основной системы с устраненными связями в опорных частях система канонических уравнений имеет вид
´
+
= 0, (4)
где δii, δij - перемещения пролетного строения, опоры, опорных частей от неизвестных i, j, соответственно по направлению i-го неизвестного;
Δip - грузовые перемещения в цепи пролетных строений, соответственно от температуры, тормозных и прочих воздействий, по направлению i-гo неизвестного.
Для температурно-неразрезного пролетного строения на гибких опорах при резиновых опорных частях на всех опорах матрица коэффициентов - полная симметричная квадратная - имеет вид
. (5)
Коэффициенты матрицы определяют по следующим формулам:
![]()
, (6)
, (7)
, (8)
где hyp, hip - суммарная толщина слоев резины в опорных частях на устое и промежуточной опоре под i-м неизвестным соответственно;
Gyp, Gip - модули сдвига резины опорных частей на устое и на промежуточной опоре под i-м неизвестным соответственно;
Fyp, Fip - площадь опорной части под балкой на устое и под i-м неизвестным соответственно;
hion - высота опоры с i-м неизвестным от сечения защемления опоры до точки приложения i-ого неизвестного;
jI - угол поворота фундамента опоры с I-м неизвестным;
Еion, Jion - приведенная жесткость на изгиб вдоль сооружения опоры с I-м неизвестным;
а - горизонтальное перемещение плиты фундамента или столба опоры в уровне поверхности грунта, которые определяют в соответствии с «Рекомендациями по расчету автодорожных мостов», ЦНИИС, М., 1981.
Грузовая матрица от каждого вида воздействий - вертикальной подвижной нагрузки, торможения, изменения температуры - представляет собой матрицу столбец.
Коэффициенты от изменения температуры определяют с учетом направления неизвестного и перемещения от температуры. Коэффициенты грузовой матрицы от действия тормозных сил (Т) определяют по формуле
. (9)
При этом принимают расчетные воздействия с учетом коэффициента надежности, вводимого к величинам перемещений по СНиП «Мосты и трубы».
При выборе конструкций деформационных швов, устанавливаемых по концам цепей, принимают во внимание перемещения удлинения и укорочения от температуры замыкания цепи до расчетных положительной и отрицательной температур.
За расчетную температуру замыкания цепи принимают фактическую среднесуточную температуру момента замыкания. Если фактическая температура замыкания неизвестна, производят расчет, принимая температуру замыкания не ниже +10°С.
Перемещения на концах цепи определяют по формуле
ΔLсж = alt (tn,t - tзам)gt,
ΔLрас = alt (tзам - tn,x)gt, (10)
где ΔLсж - перемещение в цепи в сторону уменьшения зазора в деформационном шве;
ΔLрас - перемещения в цепи в сторону увеличения зазора в деформационном шве;
a - коэффициент линейного расширения материала пролетного строения;
lt - величина температурного пролета цепи;
gt - коэффициент надежности для температурных воздействий;
tзам - температура замыкания цепи;
tn,t - нормативное значение температуры воздуха в теплое время года;
tn,x - нормативное значение температуры в холодное время года.
4.9. При определении в цепи перемещений резиновых опорных частей следует учитывать имеющиеся у них сдвиговые перемещения, полученные до замыкания пролетных строений в цепь при работе пролетных строений в разрезной схеме.
4.10. При выборе типов деформационных швов и опорных частей, устанавливаемых в цепи, следует учитывать также тормозные нагрузки, принимаемые по СНиП «Мосты и трубы», а также длительные воздействия от усадки и ползучести после замыкания пролетных строений в цепь, принимая во внимание возраст бетона в момент замыкания цепи.
Следует учитывать также величины углов поворота торцов пролетных строений от действия временной нагрузки, находящейся на пролетных строениях цепи.
4.11. При опирании пролетных строений на резиновые опорные части при жестких опорах тормозное усилие допускается распределять поровну на все опорные части пролетного строения цепи:
, (11)
где Si - усилие в каждой опорной части цепи;
ΣT - тормозное усилие, действующее на длине цепи;
Σn - количество опорных частей под балками пролетного строения цепи.
При наличии в цепи пролетных строений неподвижных опорных частей усилия, возникающие в опорных частях по длине цепи, определяют в соответствии с требованиями СНиП «Мосты и трубы».
4.12. Усилие в тягах расчетного сечения цепи от сил торможения
, (12)
где n - количество опорных частей в пролетном строении;
g - количество опорных частей в пролетных строениях, расположенных между расчетным опорным узлом цепи и ее концом.
4.13. Усилия, возникающие в расчетном узле цепи за счет сдвигов опорных частей от температурных воздействий, определяют по формуле
, (13)
где Δi - перемещение опорной части (сдвиг) от температуры замыкания цепи до расчетной температуры в зависимости от ее положения по длине цепи;
Fр - площадь опорной части в плане, см2;
Gр - модуль сдвига резины, принимаемый равным 9,8 кгс/см2 в интервале температур от 20 до минус 10°С; 11,4 кгс/см2 - при температуре минус 30°С; 14,6 кгс/см2 - при температуре минус 40°С;
hp - суммарная толщина резины в опорной части, см.
Продольные усилия, возникающие в узле шарнирного сопряжения от температурных воздействий при опирании пролетных строений на жесткие опоры через опорные части всех видов, кроме слоистых резиновых, определяют как сумму сопротивлений трению всех опорных частей со стороны ближайшего конца цепи:
, (14)
где μn - коэффициент трения, принимаемый по главе СНиП «Мосты и трубы»;
Fiv - вертикальная составляющая опорной реакции балки от постоянной нагрузки с коэффициентом надежности gf = 1;
j - количество подвижных опорных частей в той части цепи, которая примыкает к рассчитываемому узлу сопряжения со стороны ее ближайшего конца.
При объединении в ТНПС эксплуатируемых сооружений значения μn по СНиП умножают на коэффициент надежности работы mо.ч., равный:
для катковых, секторных или валковых опорных частей - 1,1;
для тангенциальных и плоских металлических опорных частей - 1,25;
в остальных случаях - 1,0.
4.14. Усилие в расчетном узле цепи от расположения пролетного строения на уклоне определяют по формуле
где Pi - полная масса каждого пролетного строения;
bi - угол наклона опорных площадок относительно горизонтальной плоскости.
4.15. Усилия, передаваемые на жесткие опоры температурно-неразрезными пролетными строениями, принимают равными усилиям, возникающим в опорных частях цепи при действии на цепь всех силовых и температурных воздействий. Неподвижные опорные части передают на опоры суммарные значения горизонтальных усилий, собирающихся со всей цепи пролетных строений от сил торможения, сопротивления трению или сдвигу в опорных частях.
4.16. По принятой длине цепи с учетом количества и длины пролетов в ней выбирают способ объединения между собой пролетных строений, соблюдая требования по рациональной области применения рассмотренных в разделе 3 схем объединения. При использовании приведенных конструктивных схем расчет соединительного элемента (плиты, накладки, продольного шва) заключается в определении свободной длины элемента ln и сечения арматуры или накладок Fa.
4.17. В качестве основной системы для расчета соединительного элемента принимают защемленную с двух сторон балочную плиту с пролетом ln, равным длине отделения соединительного элемента от несущей конструкции (рис. 20).
Расчет выполняют по прочности в упругой стадии на воздействия, вызывающие в соединительном элементе максимальные значения усилий:
а) при поворотах и вертикальных перемещениях его опорных сечений от временной и П части постоянной нагрузок, действующих на объединяемые пролетные строения;
б) при действии временной и постоянной нагрузок непосредственно на соединительную плиту;
в) при действии тормозных нагрузок;
г) вследствие сопротивления опорных частей перемещениям при изменении температуры.
Угол поворота торца соединительного элемента и величину вертикального перемещения его опорных сечений определяют по формулам сопротивления упругих материалов: при загружении П частью постоянной нагрузки обоих объединяемых пролетов, а временной - при загружении одного пролета (с большей длиной).
Углы поворота и вертикальные перемещения опорных сечений соединительной плиты определяют при действии нормативных нагрузок*), прочие воздействия - при действии расчетных нагрузок.
*) Отступление от требований СНиП «Мосты и трубы» с целью приближения значения перемещений, получаемых расчетом и фактически.
Рис. 20. Схема для расчета соединительной плиты на воздействия перемещений ее опорных частей:
Ln - расчетный пролет соединительной плиты; Lр - то же, балки; hп - толщина соединительной плиты; У - вертикальное смещение опорного сечения соединительной плиты; a - угол поворота опорного сечения соединительной плиты; Вр = Еn·Jn - жесткость соединительного элемента
Усилия от вертикальной упругой податливости резиновых опорных частей учитывают лишь при расчете соединительного элемента в виде стальных накладок.
4.18. Значения изгибающих моментов и перерезывающих сил, возникающих в опорных сечениях соединительной плиты при их перемещениях, определяют по следующим формулам:
, (17)
где Вn - жесткость соединительной плиты, определяемая в соответствии с главой СНиП «Мосты и трубы»;
Ln - пролет соединительной плиты, принимаемый равным длине ее отделения от несущей конструкции;
aлев, aпр - углы поворота левого и правого опорных сечений соединительной плиты;
Улев, Упр - вертикальные перемещения опорных сечений соединительной плиты.
За положительное направление углов поворота принято направление поворота опорных сечений балок от нагрузки, находящейся в пролете, т.е. на левом конце соединительной плиты против часовой стрелки, на правом - по часовой стрелке.
Верхние знаки членов, содержащих Улев, Упр в формулах (15), (16), соответствуют схемам сопряжения с расположением опорного сечения соединительной плиты в пролете балки за опорным сечением, нижние - схемам с расположением опорного сечения соединительной плиты между опорным сечением балки и ее торцом (см. рис. 20).
Величины усилий в плите, соединяющей равные пролеты, при действии П части постоянной нагрузки определяют по формулам:
, Q = 0, (18)
где a - угол поворота опорного сечения от П части постоянной нагрузки.
4.19. Величины углов поворота опорных сечений соединительной плиты принимают равными величинам углов поворота опорных сечений балок сопрягаемых пролетных строений, определяемым с учетом их пространственной работы, но без учета влияния объединения пролетных строений соединительной плитой.
При вычислении углов поворота жесткости балок определяют с учетом всех бетонных слоев дорожной одежды, уложенных после устройства соединительной плиты.
При вычислении моментов инерции каждый слой дорожной одежды приводят по модулю упругости к эквивалентному дополнительному слою шириной
, (19)
где вс, вб - соответственно приведенная ширина слоя дорожной одежды и ширина плиты балки;
Ес, Еб - модули упругости соответственно бетона слоя дорожной одежды и балки.
Учет бетонных слоев дорожной одежды, лежащих выше слоя гидроизоляции, производят как для сложного сечения.
4.20. Угол поворота опорного сечения железобетонной балки определяют по формуле
, (20)
где g - интенсивность нормативной*) нагрузки;
Lр - расчетный пролет балки;
ЕбIб - приведенная жесткость балки без учета ослабления ее трещинами;
η - коэффициент, учитывающий пространственную работу пролетного строения;
0,6 - коэффициент, учитывающий несоответствие суммарного фактического угла поворота железобетонных пролетных строений теоретическому. Получен на основе статистической обработки материалов испытаний реальных сооружений временной нагрузкой.
*) В отличие от требований СНиП «Мосты и трубы» принята нормативная нагрузка для приближения значения угла поворота, полученного расчетом, к фактическим значениям.
Углы поворота торцов сталежелезобетонных пролетных строений определяют без учета коэффициента 0,6.
4.21. Усилия в соединительной плите от местного воздействия расчетной подвижной временной нагрузки вычисляют с учетом ее распределения дорожной одеждой. При этом динамический коэффициент к временной нагрузке принимают для случая расчета пролетных строений, при расчете соединительной плиты в сталежелезобетонных пролетных строениях его увеличивают на 10 %.
Расчет соединений по продольным бетонируемым стыкам на местное воздействие нагрузки не производят.
4.22. Расчетным для соединительной плиты может быть любое усилие, вызываемое указанными в п. 4.16 факторами, либо их сочетаниями (табл. 4).
Таблица 4
|
Нагрузка и воздействия |
Номер нагрузки (воздействия), не учитываемой в сочетании с данной нагрузкой (воздействием) |
|
|
1 |
Изгибающие моменты и поперечные силы от поворота и вертикальных перемещений опорных сечений при действии подвижной временной нагрузки на пролетных строениях |
3 |
|
2 |
То же, при действии П части нагрузки на пролетных строениях |
- |
|
3 |
То же, при действии временной нагрузки на соединительной плите |
1,5 |
|
4 |
То же, при действии постоянной нагрузки на соединительной плите |
- |
|
5 |
Горизонтальные усилия от торможения. |
3 |
|
6 |
Горизонтальные усилия от сопротивления трению или сдвигу в опорных частях при изменении температуры |
- |
|
7 |
Горизонтальное усилие от собственного веса пролетного строения при расположении его на наклонных опорных площадках |
- |
4.23. В схемах объединения с отделением плиты на части длины балок по рис. 2 концевые сечения балок должны быть проверены на действующие в них усилия как в стадии эксплуатации, так и в стадии изготовления конструкций.
4.24. В конструкциях с объединением по выравнивающему слою (см. рис. 8) определяют длину анкерной зоны Lа, в которой должна быть заанкерена расчетная арматура, и площадь вертикальных стержней объединения выравнивающего слоя с несущей конструкцией.
Длину анкерной зоны определяют по величине продольного усилия в соединительной плите, исходя из расчетного сопротивления арматуры срезу.
Для схем с объединением по сточному треугольнику (при ремонте мостов) длину анкерной зоны определяют расчетом по величине сцепления монолитного и сборного бетона. Напряжения среза по контакту не должны превышать значений расчетных сопротивлений, указанных в главе СНиП «Мосты и трубы», умноженных на коэффициент надежности g = 0,8.
4.25. В случае, если пролетные строения объединяют иными способами, чем предусмотрено в разделе 3, или представленные в разделе 3 способы использованы за пределами рациональной области применения, выполняют дополнительные расчеты как соединительных элементов, так и пролетных строений. Дополнительные расчеты соединительных элементов включают в себя:
- расчет железобетонной соединительной плиты на трещиностойкость;
- расчет анкеровки соединительной плиты, шва омоноличивания и закладных деталей;
- проверку прочности плиты с учетом вертикальной упругой осадки резиновых опорных частей и вертикальных перемещений концов соединительной плиты при горизонтальном смещении верха промежуточных опор.
Расчеты конструкций пролетных строений включают в себя:
- проверку величины относительного вертикального смещения кромок конструкций смежных пролетных строений (ограничиваются величиной 1 мм при действии нормативных нагрузок);
- проверку прочности плиты балок в продольном и поперечном направлениях;
- проверку прочности горизонтального сечения ребра балок в месте примыкания плиты от действия крутящего момента;
- проверку прочности надопорного участка ребра балки;
- анкеровку неподвижных опорных частей.
4.26. Трещиностойкость соединительной плиты в железобетонных пролетных строениях оценивают по раскрытию трещин от расчетных воздействий, которое ограничивают в нормальных сечениях величинами:
0,2 мм - при действии отрицательного изгибающего момента (верхние волокна);
0,3 мм - при действии положительного изгибающего момента (нижние волокна).
4.27. Расчет анкеровки закладных деталей выполняют в соответствии с требованиями главы СНиП «Металлические конструкции».
При наличии горизонтальных стрежней их сечение и количество определяют по величине горизонтальной силы N. При этом сечение вертикальных анкеров в каждом ряду проверяют на действие продольного усилия от эксцентриситета силы N и вертикального смещения кромки плиты (рис. 21).
- только от эксцентричного
приложения нагрузки;
- от эксцентриситета и
перемещения,
где N - продольное усилие в соединительном элементе;
V1, V2 - усилия в вертикальных анкерах;
d - расстояние между анкерами;
е - эксцентриситет;
bн - свободная длина накладки;
δ - расстояние от уровня приложения нагрузки до закладной детали;
В - жесткость накладки.
Для случая, когда закладные детали не имеют горизонтальных стержней, дополнительно выполняют проверку прочности бетона при действии расчетной горизонтальной нагрузки:
, (21)
где b - толщина железобетонной плиты;
L - ширина зоны влияния закладной детали, определяемая с учетом распределения усилия в бетоне под углом 45°, а при наличии у кромки поперечной арматуры - 30° (рис. 21,б);
Рис. 21. Схемы к расчету закладных деталей:
1 - стыковая накладка; 2 - закладная деталь; 3 - анкер
NX - горизонтальное усилие, приходящееся на крайний ряд анкеров NX = N/2;
ξ - коэффициент неравномерности нагружения анкеров, принимаемый равным ξ = 1,0 при бетонировании плиты с закладной деталью, ξ = 1,2 при установке анкеров закладной детали в просверленные в плите отверстия;
Rb cut = 0,1Rb (СНиП «Мосты и трубы»).
4.28. При объединении пролетных строений в цепь продольными тягами определяют количество тяг, которые необходимо установить в поперечном сечении пролетного строения, и параметры тяги.
По длине температурно-неразрезного пролетного строения сечения тяг следует принимать одинаковыми независимо от положения узла объединения пролетных строений относительно неподвижного сечения цепи.
4.29. Расчету подлежат тяги в узле объединения, ближайшем к неподвижному сечению цепи.
Усилия в тягах в расчетном сечении принимают равными сумме сил торможения, передающихся на пролетные строения между рассматриваемым узлом объединения и ближайшим концом цепи, и усилий преодоления сдвигов, возникающих в опорных частях указанной части цепи при воздействии расчетных значений температур относительно температуры ее замыкания.
Совместно с этим усилием учитывают усилия, возникающие в тягах от расположения пролетного строения на продольном уклоне.
4.30. По полной величине продольного усилия, действующего в тягах расчетного узла сопряжения пролетных строений в цепь, определяют количество и сечение тяг, устанавливаемых в поперечном сечении пролетного строения, принимая во внимание предельные значения усилий, которые могут быть переданы на стенку балки.
Максимальные усилия, которые могут быть переданы на стенку балки толщиной 26 см в пролетных строениях по проекту серии 3.503.1-81, - 30 тс, на стенку балки толщиной 18 см в пролетных строениях по проекту серии 3.503.1-73 - 20 тс.
4.31. Продольные элементы тяг должны быть проверены на устойчивость при действии сжимающих усилий, при воздействии повышения температуры. При выполнении тяги из пластины для обеспечения ее работы на продольную устойчивость к ней приваривают продольное ребро жесткости.
4.32. Сечение пальцев тяги должно быть рассчитано на срез. При сопряжении тягами балок пролетных строений, оси которых в плане не совпадают, сечение пальца должно быть также рассчитано на изгиб.
5.1. При установке балок пролетных строений положение опорных частей на опорах назначают с учетом температуры воздуха и расположения опорной части в цепи пролетных строений по отношению к неподвижной опорной части или неподвижному сечению цепи.
Расстояния между торцами пролетных строений с подвижными опорными частями либо между торцом пролетного строения и ригелем таврового сечения или шкафной стенкой устоя принимают с учетом величин продольных перемещений балок по длине цепи.
5.2. Над опорами, где выполнено объединение пролетных строений тягами, расстояние между торцами смежных пролетных строений принимают 20 - 40 мм. Над опорами, где устанавливают конструкции деформационных швов, обеспечивающие продольные перемещения, зазор между смежными пролетными строениями или пролетным строением и шкафной стенкой устоя назначают по расчету, исходя из величины продольного перемещения цепи пролетных строений после ее замыкания. При этом принимают допуск +10÷15 мм (в зависимости от длины цепи), учитывающий несовпадение расчетного и фактического времени замыкания цепи.
5.3. Перед бетонированием соединительной плиты или установкой объединяющего пролетные строения элемента должны быть приняты меры против потери балками устойчивости и перемещений балок смежных пролетных строений вдоль мостового сооружения. Для этого следует установить подкосы к балкам и распорки между их торцами, воспринимающие сжимающие усилия при повышении температуры, и затяжки (арматурные стержни, приваренные к выпускам или закладным деталям балок смежных пролетов), воспринимающие растяжение при понижении температуры. Распорки удаляют после набора прочности бетоном соединительного элемента.
5.4. Соединительную плиту предпочтительно бетонировать одновременно с продольными бетонируемыми стыками. В пределах размещения расчетной арматуры устройство рабочих швов бетонирования не допускается.
Бетонирование узлов шарнирных сопряжений целесообразно начинать от неподвижной опорной части или неподвижного сечения - середины цепи пролетных строений. В последнем случае предпочтительно производить бетонирование узлов поочередно - симметрично относительно середины цепи.
5.5. При объединении пролетных строений по плите проезжей части в выравнивающем слое под гидроизоляцию (сточном треугольнике), если его толщина превышает 8 - 10 см, для уменьшения жесткости узла сопряжения целесообразно над опорными сечениями соединительной плиты устроить штрабы, заполненные мастикой, либо заложить рейки (рис. 22). При объединении пролетных строений по продольным бетонируемым стыкам с вертикальными прорезями выравнивающий слой на длине, превышающей ln, должен быть заармирован сеткой из арматурной стали класса AI диаметром 5 - 6 мм (ячейка 100´100 мм).
5.6. Упругие прокладки, отделяющие соединительную плиту от нижележащего элемента, выполняют из нескольких слоев полимерно-битумного рулонного материала (изопласт, мостопласт и т.п.). Толщину упругой прокладки принимают равной 0,5 - 1,0 см.
5.7. В узле шарнирного сопряжения пролетных строений предусматривают дополнительное армирование защитного слоя сварной или вязаной сеткой из арматурной стали класса AI диаметром 5 - 6 мм с ячейкой 100Ч100 мм на длине не менее 200 см.
5.8. При объединении пролетных строений тягами в случае, если в пролет установлены балки без отверстий для установки тяг, в нужных местах в соответствии с проектом производят бурение отверстий в стенках балок с применением для этих целей бурового оборудования с бурами, имеющими алмазные коронки необходимого диаметра.
Рис. 22. Схемы устройства конструкции дорожной одежды над узлом шарнирного сопряжения:
1 - соединительная плита; 2 - выравнивающий слой; 3 - гидроизоляция; 4 - защитный слой; 5 - асфальтобетонное покрытие; 6 - штрабы, заполненные мастикой, или закладные рейки; hп - толщина соединительной плиты; lп - пролет соединительной плиты; ho - толщина дорожной одежды
5.9. Установка тяг, объединяющих пролетные строения в цепь, может быть выполнена в любое время - на всех стадиях строительства, но до начала укладки асфальтобетонного покрытия.
5.10. Установку тяг предпочтительно осуществлять от середины цепи к ее концам, присоединяя пролетные строения последовательно с сохранением симметрии цепи относительно ее середины при всех опорных частях резиновых, или - от пролетного строения с неподвижной опорной частью, увеличивая последовательно количество присоединяемых пролетных строений.
Такая последовательность объединения позволит максимально приблизиться к расчетным значениям перемещений в деформационных швах.
5.11. При постановке тяг сначала устанавливают пальцы в отверстия, надевают на них продольные элементы, на одном из концов которых имеется прорезь, позволяющая обеспечить их установку при отклонении положения пролетных строений от проектного вследствие ошибок в монтаже или изменения величины температурного зазора из-за колебаний температуры.
Пальцы на концах продольных элементов тяги с замкнутыми отверстиями приваривают к ним сплошным швом. На другом конце продольных элементов на палец надевают дополнительные накладки с отверстиями, обваривают палец и приваривают накладки к продольным элементам тяги.
6.1. По концам цепей устанавливают конструкции деформационных швов, предусмотренные проектом, применяя соответствующую конструкции шва технологию.
Могут быть применены конструкции с заполнением мастикой (рис. 23) и типа «Торма® Джойнт» (рис. 24).
6.2. До выполнения конструкции дорожной одежды над узлами объединения пролетных строений тягами поверх выравнивающего слоя (при его необходимости) устанавливают компенсаторы перекрытия температурных зазоров над тягами. В случае применения для компенсаторов латуни отдельные листы спаивают между собой или объединяют с помощью зачеканенных швов.
Под края компенсаторов, опирающихся на балки, подкладывают полосы рулонного гидроизоляционного материала (например, изопласт - без приклейки) и прикрепляют компенсатор к пролетному строению строительными гвоздями с помощью строительного пистолета соответствующей мощности. После укладки компенсаторов производят их чеканку молотками по всей плоскости для плотного прилегания к основанию.
Рис. 23. Конструкция деформационного шва над узлом шарнирного сопряжения с заполнением мастикой:
1 - пролетное строение; 2 - выравнивающий слой (может отсутствовать); 3 - гидроизоляция; 4 - защитный слой; 5 - двухслойное асфальтобетонное покрытие; 6 - компенсатор; 7 - заполнение жгутами пороизола; 8 - полимерно-битумная мастика
Рис. 24. Конструкция деформационного шва над узлами шарнирного сопряжения типа «Торма® Джойнт»:
1 - пролетное строение; 2 - выравнивающий слой; 3 - гидроизоляция; 4 - защитный слой; 5 - асфальтобетонное покрытие; 6 - компенсатор; 7 - пластина перекрытия зазора; 8 - обмазка полимерно-битумным вяжущим; 9 - щебень, пролитый полимерно-битумным вяжущим; 10 - смесь полимерно-битумного вяжущего со щебнем (получено в мешалке); 11 - полимерно-битумное вяжущее с посыпкой щебнем
6.3. На косых или ступенчатых швах (рис. 25) и в любых других случаях предпочтительно использовать для образования компенсатора рулонный материал Мостопласт, приклеивая его к кромкам шва на длине 100 - 150 мм. Компенсатор следует выполнять двойным (одна петля короче другой, см. рис. 24). В поперечном направлении пролетного строения компенсатор должен иметь уклон для стока случайно попавшей через заполнение шва воды.
6.4. Конструкцию перекрытия деформационного шва выполняют после укладки асфальтобетонного покрытия по технологии «Торма® Джойнт» с использованием мастик отечественного производства с физико-механическими характеристиками, приведенными в табл. 5.
Таблица 5
Физико-механические характеристики мастик
|
Значение показателей |
|
|
Глубина проникания иглы, 0,1 мм, не менее |
|
|
при +25 °С |
40-50 |
|
при 0 °С |
20 |
|
Температура размягчения, °С, не ниже |
60-65 |
|
Предел прочности при растяжении, МПа, не менее |
|
|
при +25°С |
0,1 |
|
при –20°С (5 ч) |
0,2 |
|
Относительное удлинение, %, не менее |
|
|
при +25°С |
400 |
|
при –20°С |
200 |
|
Прочность сцепления на отрыв, МПа, не менее |
0,5 |
|
Характер разрушений при отрыве |
Когезионный |
|
Температурный интервал работоспособности, °С |
От минус 30 до 70 |
Рис. 25. Устройство конструкции деформационного шва типа «Торма® Джойнт» в косом пролетном строении:
1 - балка пролетного строения; 2 - продольный бетонируемый стык; 3 - конструкция типа «Торма® Джойнт»
7.1. Эксплуатация и содержание ТНПС практически не отличаются от эксплуатации и содержания пролетных строений других схем и систем.
7.2. Особенности эксплуатации ТНПС состоят в необходимости регулярного наблюдения за положением опорных частей, особенно в длинных цепях. При выявлении отклонений опорных частей от проектного положения необходимо принять меры по их выправлению.
7.3. Конструкции деформационных швов требуют регулярного осмотра, своевременной подтяжки и смазки пружин; гребенчатые швы - очистки зубьев от застрявших между ними предметов, освобождения от льда при смерзании.
7.4. Узлы шарнирных сопряжений требуется периодически осматривать. Выявленные в покрытии дорожной одежды трещины должны быть своевременно залиты разжиженным битумом.
СОДЕРЖАНИЕ