ГОСТ 30247.2-97
МЕЖГОСУДАРСТВЕННЫЙ СТАНДАРТ
КОНСТРУКЦИИ СТРОИТЕЛЬНЫЕ
МЕТОДЫ
ИСПЫТАНИЙ НА ОГНЕСТОЙКОСТЬ
ДВЕРИ И ВОРОТА
МЕЖГОСУДАРСТВЕННАЯ НАУЧНО-ТЕХНИЧЕСКАЯ КОМИССИЯ
ПО СТАНДАРТИЗАЦИИ. ТЕХНИЧЕСКОМУ НОРМИРОВАНИЮ
И СЕРТИФИКАЦИИ В СТРОИТЕЛЬСТВЕ (МНТКС)
Москва
Предисловие
1 РАЗРАБОТАН Всероссийским научно-исследовательским институтом противопожарной обороны (ВНИИПО) МВД Российской Федерации, Государственным Центральным научно-исследовательским и проектно-экспериментальным институтом комплексных проблем строительных конструкций и сооружений им. В.А. Кучеренко (ЦНИИСК им. Кучеренко) и АООТ МОСОТИС Российской Федерации
ВНЕСЕН Минстроем России
2 ПРИНЯТ Межгосударственной научно-технической комиссией по стандартизации и техническому нормированию в строительстве (МНТКС) 23 апреля 1997 г.
За принятие проголосовали
|
Наименование государства |
Наименование органа |
|
Азербайджанская Республика |
Госстрой Азербайджанской Республики |
|
Республика Армения |
Министерство градостроительства Республики Армения |
|
Республика Беларусь |
Минстройархитектуры Республики Беларусь |
|
Республика Казахстан |
Агентство строительства и архитектурно-градостроительного контроля Министерства экономики и торговли Республики Казахстан |
|
Кыргызская Республика |
Минархстрой Кыргызской Республики |
|
Республика Молдова |
Министерство территориального развития, строительства и коммунального хозяйства Республики Молдова |
|
Российская Федерация |
Госстрой России |
|
Республика Таджикистан |
Госстрой Республики Таджикистан |
|
Украина |
Госкомградостроительства Украины |
3 НАСТОЯЩИЙ СТАНДАРТ соответствует ИСО 3008-76 «Испытания на огнестойкость. Двери и элементы, закрывающие проемы» в части дверей и ворот
4 ВЗАМЕН СТ СЭВ 3974-83
5 ВВЕДЕН в действие с 1 марта 1997 г. в качестве государственного стандарта Российской Федерации постановлением Минстроя России от 21.02.97 г. № 18-10
Настоящий стандарт не может быть полностью или частично воспроизведен, тиражирован и распространен в качестве официального издания на территории Российской Федерации без разрешения Госстроя России
Содержание
5 Стендовое оборудование и измерительная аппаратура
8 Подготовка и проведение испытаний
10 Оценка результатов испытаний
11 Обозначение пределов огнестойкости
|
Особенности испытаний и оценки огнестойкости дверей шахт лифтов |
МЕЖГОСУДАРСТВЕННЫЙ СТАНДАРТ
КОНСТРУКЦИИ СТРОИТЕЛЬНЫЕ
МЕТОДЫ
ИСПЫТАНИЙ НА ОГНЕСТОЙКОСТЬ
ДВЕРИ И ВОРОТА
ELEMENTS OF BUILDING CONSTRUCTIONS
FIRE RESISTANCE TEST METHOD
DOORS AND GATES
Дата введения 1997-03-01
Настоящий стандарт устанавливает метод испытания на огнестойкость дверей, люков и ворот (далее по тексту - дверей), предназначенных для заполнения проемов в стенах, перегородках и перекрытиях, а также дверей шахт лифтов.
Особенности испытаний и оценки огнестойкости дверей шахт лифтов изложены в обязательном приложении А.
Настоящий стандарт не распространяется на испытания дверей с площадью светопрозрачного заполнения 25 % и более от площади дверного проема и на испытания дверей на дымопроницаемость.
В настоящем стандарте использованы ссылки на следующие стандарты:
ГОСТ 12.1.004-91 ССБТ. Пожарная безопасность. Общие требования
ГОСТ 12.1.019-79 ССБТ. Электробезопасность. Общие требования и номенклатура видов защиты
ГОСТ 30247.0-94 Конструкции строительные. Методы испытания на огнестойкость. Общие требования
ГОСТ 30247.1-94 Конструкции строительные. Методы испытаний на огнестойкость. Несущие и ограждающие конструкции
Правила устройства и безопасной эксплуатации лифтов (ПУБЭЛ)
В настоящем стандарте применяют следующий термин с соответствующим определением:
дверь - конструктивный элемент, служащий для заполнения проемов в ограждениях и состоящий из подвижных и неподвижных элементов, включая элементы крепления к ограждениям.
Сущность метода заключается в определении времени от начала одностороннего теплового воздействия до наступления одного или последовательно всех предельных состояний конструкции двери по огнестойкости при испытании в соответствии с настоящим стандартом.
5.1 Для проведения испытаний используют:
- испытательную печь с системой подачи и сжигания топлива (далее печь) - по ГОСТ 30247.0;
- регулирующее устройство системы дымовых каналов, обеспечивающее избыточное давление в огневой камере печи - по ГОСТ 30247.1;
- приспособление для установки образца двери на печи, обеспечивающее соблюдение условия крепления двери в проеме в соответствии с технической документацией;
- системы измерения и регистрации параметров по ГОСТ 30247.0.
5.1.1 Печь должна обеспечивать возможность теплового воздействия на образец двери с одной стороны.
5.1.2 Приспособление (часть ограждающей конструкции), в которое установлен образец двери, должно иметь предел огнестойкости выше, чем испытываемая дверь.
6.1 Температурный режим в печи должен соответствовать требованиям ГОСТ 30247.0.
7.1 В том случае, когда при пожаре дверь может подвергаться тепловому воздействию с любой из двух сторон, изготавливают два одинаковых образца для проведения по одному испытанию при воздействии тепла с каждой стороны.
В случае, когда при пожаре дверь может подвергаться тепловому воздействию только с одной стороны, допускается изготавливать один образец для проведения испытания при воздействии тепла только с этой стороны.
7.2 Образцы для испытаний должны иметь проектные размеры. Для испытания дверей, проектные размеры которых превышают 2500´2500 мм, следует изготавливать образцы с уменьшенными до указанной величины размерами. При этом следует уменьшать только габаритные размеры в плоскости образца, а расстояния по вертикали между механизмами фиксации полотен (петлями, защелками и др.) в дверной коробке и между собой должны соответствовать технической документации на эти двери, число этих механизмов может быть сокращено.
7.3 Образцы для испытаний должны быть изготовлены, укомплектованы и собраны в соответствии с технической документацией. Они должны быть оснащены всеми устройствами (механизмами запирания, защелками, ручками, доводчиком и др.), которые используются в реальной конструкции двери.
7.4 Испытания проводятся после проверки работоспособности двери путем проведения 10 полных циклов открывания и закрывания.
7.5 Влажность материалов образца определяют по ГОСТ 30247.0.
7.6 Образцы дверей, представленные для испытаний, подвергают входному контролю, при котором:
- выявляют комплектность каждого образца;
- измеряют габаритные размеры и зазоры;
- определяют влажность материалов (если существует возможность отбора проб).
Данные входного контроля заносятся в отчет (протокол) испытаний.
7.7 Комплект поставки образца для испытания должен включать:
- рабочие чертежи или эскизы двери и (или) образца;
- техническое описание конструкции;
- спецификацию используемых в двери материалов с указанием соответствующей нормативно-технической документации (ГОСТ, ТУ, МРТУ, инструкции и др.).
7.8 В техническом описании конструкции указывают:
- наименование, марку и назначение изделия;
- фактические условия крепления образца по контуру;
- сторону нагрева;
- размеры дверного полотна, коробки, зазоров, основных узлов и деталей, включая толщину каждого составляющего слоя (в том числе изоляции и облицовки).
8.1 Условия проведения испытаний - по ГОСТ 30247.0.
8.2 Крепление образца в ограждающую конструкцию должно соответствовать 7.8. Если ограждающая конструкция не определена технической документацией, образец устанавливают в конструкцию из негорючего материала с учетом 5.1.2.
При одновременном испытании двух образцов дверей расстояние между ними должно быть не менее двух толщин ограждающей конструкции, в которую они установлены.
8.3 Дверное полотно в коробке следует фиксировать защелкой, а при испытании самозакрывающейся двери следует устанавливать доводчик со стороны, предусмотренной технической документацией. Не допускается запирать дверь на замок.
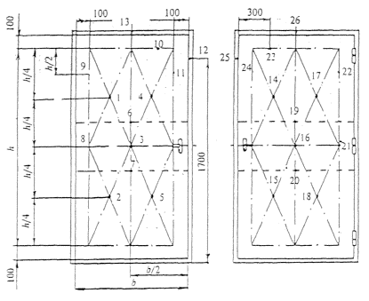
8.4 Термоэлектрические преобразователи (термопары) для измерения температуры необогреваемой поверхности устанавливают в соответствии со схемами, приведенными на рисунках 1 и 2:
а) посередине всей площади полотна однопольной или обоих полотен двупольной двери, но не совпадающих с местами расположения ребер жесткости или сквозных деталей (термопары 3, 16 для однопольной и 5, 6 для двупольной двери);
б) посередине каждой четверти площади полотна однопольной или обоих полотен двупольной двери, но не совпадающих с местами расположения ребер жесткости или сквозных деталей (термопары 1, 2, 4, 5, 14, 15, 17, 18 для однопольной и I - 4, 7 - 10 для двупольной двери);
в) на граничной линии по краям полотна однопольной или обоих полотен двупольной двери (термопары 8 - 11, 21 - 24 для однопольной двери и 15 - 22 для двупольной двери);
г) против ребер жесткости, если таковые имеются (термопары 6, 7, 19, 20 для однопольной двери и 11 - 14 для двупольной двери), кроме рамы полотна двери;
д) в верхней и боковой точках дверной коробки (термопары 12, 13, 25, 26 для однодольной и 23 - 25 для двупольной двери).
|
а) при нагреве со стороны петель |
|
б) при нагреве со стороны, противоположной расположению петель |
Рисунок 1 - Схема установки
термоэлектрических преобразователей
(термопар) на необогреваемой поверхности однопольных
дверей
Рисунок 2 - Схема установки термоэлектрических преобразователей
(термопар) на необогреваемой поверхности двупольных
дверей
8.5 Термопары не устанавливают на дверные ручки, петли и поверхность светопрозрачного заполнения полотна двери.
8.6 Температуру воздуха и скорость его движения в помещении во время испытания принимают по ГОСТ 30247.0.
8.7 В процессе испытания регистрируют:
- температуру в печи - по ГОСТ 30247.0;
- давление газов в печи - по ГОСТ 30247.1;
- температуру на необогреваемой поверхности образца в точках по 8.4;
- время появления и характер развития в образце трещин, отверстий, щелей (зазоров), через которые могут проникать пламя или горячие газы на необогреваемую поверхность;
- время начала разрушения образца или его частей (петель, механизмов фиксации, притворов, перекос полотна двери и др.);
- время и характер изменения состояния материалов конструкции (взрывообразное разрушение, обугливание, воспламенение, выделение продуктов горения и др.);
8.8. Испытания проводят до наступления одного или последовательно всех предельных состояний.
9.1 При испытании дверей различают следующие предельные состояния.
9.1.1 Потеря целостности (Е) - по ГОСТ 30247.1 или выпадение дверного полотна из коробки или же самой коробки из ограждающей конструкции.
9.1.2 Потеря теплоизолирующей способности I - вследствие повышения температуры на необогреваемой поверхности полотна двери в среднем более чем на 140 °С или в любой точке этой поверхности на 180 °С в сравнении с температурой конструкции до испытания или достижения температуры 220 °С на коробке двери независимо от температуры конструкции до испытания.
10.1 Потерю целостности определяют по 9.1.1.
10.2 Потеря теплоизолирующей способности.
10.2.1 Величину превышения первоначальной температуры на необогреваемой поверхности полотна двери на 140 °С определяют как среднеарифметическое значение показаний термопар, установленных в точках, указанных в 8.4 а и б.
10.2.2 Величину превышения первоначальной температуры на необогреваемой поверхности полотна двери на 180 °С определяют по показаниям термопар, установленных в точках, указанных в 8.4 а, 6, в, г.
10.2.3 Достижение температуры 220 °С на необогреваемой поверхности коробки двери определяют по показаниям термопар, установленных в точках, указанных в 8.4 д.
10.3 Предельное состояние по теплоизолирующей способности светопрозрачного заполнения дверного полотна площадью менее 25 % не учитывают.
10.4 При испытании образцов дверей по 7.1 за пределы огнестойкости принимают минимальные значения времени наступления предельных состояний.
10.5 Результаты испытаний, описанные в отчете (протоколе), действительны для дверей данного типа с отклонениями их габаритных размеров по высоте и ширине от + 10 до - 30 % с округлением в большую сторону до 50 мм и в меньшую - до 100 мм от вычисленных величин.
Результаты испытаний образцов дверей уменьшенных размеров действительны для дверей реальных размеров при соблюдении требований 7.2.
11.1 Обозначение пределов огнестойкости принимают по ГОСТ 30247.0.
12.1 По результатам испытаний составляют отчет (протокол) в соответствии с ГОСТ 30247.0.
13.1 При испытании дверей на огнестойкость должны соблюдаться требования, безопасности и производственной санитарии согласно ГОСТ 12.1.004; ГОСТ 12.1.019; ГОСТ 30247.0.
Постановлением Госстроя России от 17.06.2002 г. № 59 Приложение А признано утратившим силу
(обязательное)
Особенности испытаний и оценки огнестойкости
дверей шахт лифтов
1 Образцы для испытаний
1.1 Испытанию подлежит один образец.
1.2 Комплект поставки образца для испытания должен включать:
- техническое описание конструкции двери;
- эскизы двери с указанием основных размеров и зазоров, расположения теплоизоляционных материалов, уплотнений и воздушных лабиринтов;
- спецификацию теплоизоляционных материалов;
- документ, заверенный контрольной службой завода-изготовителя, подтверждающий полное соответствие образца технической документации;
- строительное задание на проектирование шахты для установки лифта с типом дверей, которые подлежат испытанию;
- инструкцию по монтажу дверей шахты лифта, содержащую величины регламентированных зазоров и допустимых отклонений, а также методы их измерений.
2 Подготовка и проведение испытаний
2.1 Образец монтируют на приспособлении, имитирующем стену шахты, выполненном по 5.1.2.
2.2 Строительный проем приспособления должен иметь максимальные (в пределах допуска) размеры, соответствующие строительному заданию на проектирование шахты для установки лифта с данным типом дверей.
2.3 Монтаж образца на приспособлении должен быть выполнен специализированной организацией в соответствии с требованиями ПУБЭЛ и по инструкции производителя данного типа двери.
2.4 При монтаже образца контролируют регламентированные зазоры, при этом их величина должна быть максимальной в пределах допусков.

Рисунок AI - Схема установки термоэлектрических преобразователей
(термопар) на необогреваемой поверхности двери шахты лифта
2.5 Приспособление с образцом устанавливают в проеме печи. Тепловое воздействие на образец двери должно быть со стороны, обращенной к посадочной (погрузочной) площадке.
2.6 Дверь шахты должна испытываться в закрытом состоянии и запертой на замок в соответствии с требованиями ПУБЭЛ.
2.7 Установку термоэлектрических преобразователей (термопар) для измерения температуры необогреваемой поверхности производят в соответствии со схемой, приведенной на рисунке АI:
а) посередине всей площади двери, но не совпадающей с местами расположения притвора полотен, ребер жесткости или сквозных деталей (термопара 5);
б) посередине каждой четверти площади двери, но не совпадающей с местами расположения ребер жесткости или сквозных деталей (термопары 1 - 4);
в) против ребер жесткости, если таковые имеются (термопары 6, 7).
3 Предельные состояния
3.1 При испытании дверей шахт лифтов различают следующие предельные состояния.
3.1.1 Потеря целостности Е - по 9.1.1.
3.1.2 Потеря теплоизолирующей способности I вследствие повышения температуры на необогреваемой поверхности полотна двери в среднем более чем на 280 °С или в любой точке этой поверхности на 330 °С в сравнении с температурой конструкции до испытания.
4 Оценка результатов испытаний
4.1 Потерю целостности определяют по 9.1.1.
4.2 Потеря теплоизолирующей способности:
4.2.1 Величину превышения первоначальной температуры на необогреваемой поверхности двери на 280 °С определяют как среднеарифметическое значение показаний термопар, установленных в точках, указанных в 2.7 а и б настоящего приложения.
4.2.2 Величину превышения первоначальной температуры на необогреваемой поверхности двери на 330 °С определяют по показаниям термопар, установленных в точках, указанных в 2.7 а, б, в настоящего приложения.
4.3 За предел огнестойкости принимают минимальное значение времени наступления предельных состояний.
5 Дополнительные данные для внесения в отчет (протокол) испытания
5.1 Сведения о представителе заказчика (производителя), присутствовавшем при проведении испытаний.
5.2 Инструкция производителя по проведению монтажа испытываемой двери шахты лифта.
Ключевые слова: дверь, образец, огнестойкость, предел огнестойкости, опасные факторы пожара, обрушение, целостность, теплоизолирующая способность