ГОСТ 15613.5-79

МЕЖГОСУДАРСТВЕННЫЙ СТАНДАРТ

ДРЕВЕСИНА КЛЕЕНАЯ МАССИВНАЯ

МЕТОД ОПРЕДЕЛЕНИЯ ПРЕДЕЛА ПРОЧНОСТИ
ЗУБЧАТЫХ КЛЕЕВЫХ СОЕДИНЕНИЙ ПРИ РАСТЯЖЕНИИ

ИПК ИЗДАТЕЛЬСТВО СТАНДАРТОВ

Москва

МЕЖГОСУДАРСТВЕННЫЙ СТАНДАРТ

ДРЕВЕСИНА КЛЕЕНАЯ МАССИВНАЯ

Метод определения предела прочности зубчатых клеевых соединений при растяжении

Glued massive wood.

Method for determination of ultimate tensile strength
of finger glued joints

ГОСТ
15613.5-79

Дата введения 01.01.80

Настоящий стандарт распространяется на массивную клееную древесину и устанавливает метод определения прочности зубчатых клеевых соединений при растяжении.

Сущность метода заключается в определении максимальной нагрузки, разрушающей зубчатое клеевое соединение при растяжении и вычислении напряжения (предела прочности) при этой нагрузке.

1. АППАРАТУРА

1.1. Для проведения испытаний должны применяться:

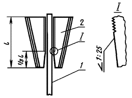
машина испытательная по ГОСТ 28840 с погрешностью измерения нагрузки не более 1 %, снабженная захватами, щечки которых обработаны в соответствии с черт. 1;

штангенциркуль по ГОСТ 166 с погрешностью измерения не более 0,1 мм;

аппаратура и материалы для определения влажности древесины по ГОСТ 16483.7.

1 - образец; 2 - щечка захвата

Черт. 1

2. ОТБОР И ПОДГОТОВКА ОБРАЗЦОВ

2.1. Метод отбора, количество образцов и влажность древесины устанавливается нормативно-технической документацией на конкретный вид клееной продукции или определяется целями исследования.

(Измененная редакция, Изм. № 1).

2.2. Заготовку для образцов склеивают или выпиливают из готовой продукции в виде прямоугольной призмы с зубчатым соединением посередине длины заготовки.

Длина заготовки должна быть 300 мм. Толщина и ширина заготовки должны соответствовать толщине и ширине испытываемой клееной продукции.

В случае специального изготовления заготовку для образцов склеивают по технологии, установленной для данного вида клееной продукции, и из древесины той породы, из которой изготовляют клееную продукцию.

2.3. Склеенные заготовки распиливают на образцы по форме и размерам, соответствующим черт. 2.

Черт. 2

Количество образцов, выпиливаемых из одной заготовки, должно быть не менее трех: по одному из крайних и средней зон заготовки.

(Измененная редакция, Изм. № 1).

2.4. Образец должен включать не менее одного полного шипа. При включении нескольких шипов расположение их в образце должно быть симметричным относительно продольной оси образца.

Качество изготовления образцов, условия кондиционирования склеенных заготовок и образцов и условия проведения испытаний должны соответствовать требованиям ГОСТ 16483.0.

Образцы, имеющие видимые пороки древесины по ГОСТ 2140 и дефекты склеивания, испытаниям не подлежат.

2.5. Время от окончания процесса склеивания заготовок до распиливания их на образцы и испытания должно быть не менее 24 ч при склеивании с нагревом и не менее 3 сут при склеивании без нагрева (при температуре не ниже 15 °С).

3. ПРОВЕДЕНИЕ ИСПЫТАНИЙ

3.1. Перед испытанием у каждого образца посередине длины (в зоне соединения) измеряют ширину b и толщину h с погрешностью не более 0,1 мм.

3.2. Образец устанавливают в захватах машины так, чтобы соединение было посередине и свободная от захватов часть образца имела длину (150 ± 10) мм.

3.3. Образец нагружают равномерно с постоянной скоростью нагружения или постоянной скоростью перемещения нагружающей головки машины. Скорость должна быть такой, чтобы образец разрушился через (20 ± 10) с после начала нагружения. Максимальную нагрузку Рmах определяют с погрешностью не более 50 Н (5 кгс).

Показания Рmах и характер разрушения образцов записывают в протокол (см. рекомендуемое приложение).

Результаты испытаний образцов, разрушившихся в захватах машины, не учитывают.

3.4. Непосредственно после испытания определяют влажность древесины образцов по ГОСТ 16483.7. Пробу на влажность берут вблизи излома из каждой половины образца. За контрольную величину принимают большее значение влажности одной из половин образца.

Допускается отбирать каждый второй образец от испытываемого количества, но не менее пяти.

3.2 - 3.4. (Измененная редакция, Изм. № 1).

4. ОБРАБОТКА РЕЗУЛЬТАТОВ

4.1. Предел прочности зубчатого клеевого соединения при растяжении (σp) в МПа (кгс/см2) вычисляют с округлением до 0,1 МПа (1 кгс/см2) по формуле

где Рmах - максимальная разрушающая нагрузка, Н (кгс);

b - ширина образца, мм (см);

h - толщина образца, мм (см).

4.2. (Исключен, Изм. № 1).

4.3. Статистическую обработку результатов испытаний выполняют по ГОСТ 16483.0.

4.4. За результат испытания зубчатого клеевого соединения принимают среднее арифметическое значение предела прочности всех испытанных образцов, выпиленных из одного соединения.

4.5. Результаты измерений и расчетов записывают в протокол испытаний (см. приложение).

ПРИЛОЖЕНИЕ

Рекомендуемое

ПРОТОКОЛ
определения предела прочности зубчатого клеевого соединения
при растяжении

Дата склеивания ____________________________________

Порода древесины __________________________________

Влажность древесины, % _____________________________

Размеры образца, мм ________________________________

Марка клея ________________________________________

Параметры соединения: длина шипа, мм _______

шаг соединения, мм _______

затупление шипа, мм _______

Режим склеивания: температура °С _______

относительная влажность воздуха, % _______

нанесение клея (одно- или двустороннее) _______

время открытой выдержки, мин _______

время закрытой выдержки, мин _______

давление прессования, МПа _______

время выдержки под давлением, с _______

время выдержки образцов до испытания, сут _______

скорость перемещения нагружающей головки испытательной машины, мм/мин, или скорость нагружения, МПа/с _______

Маркировка заготовки

Маркировка образца

Размеры поперечного сечения образца, мм (см)

Максимальная разрушающая нагрузка Рmax, Н (кгс)

Предел прочности МПа, σP, (кгс/см2)

Влажность древесины образца W, %

ширина

толщина

Подпись __________________                   Расшифровка подписи __________________

Дата испытания ____________

ПРИЛОЖЕНИЕ (Измененная редакция, Изм. № 1).

ИНФОРМАЦИОННЫЕ ДАННЫЕ

1.  РАЗРАБОТАН Минлеспромом СССР

РАЗРАБОТЧИКИ

Т.П. Внукова, С.Н. Пластинин, Л.М. Ковальчук, Ю.Ю. Славик

ВНЕСЕН ГОССТРОЕМ СССР

2.  УТВЕРЖДЕН И ВВЕДЕН В ДЕЙСТВИЕ Постановлением Государственного комитета СССР по стандартам от 20.03.79 № 966

3.  ВЗАМЕН ГОСТ 18595-73

4.  ССЫЛОЧНЫЕ НОРМАТИВНО-ТЕХНИЧЕСКИЕ ДОКУМЕНТЫ

Обозначение НТД, на который дана ссылка

Номер пункта

ГОСТ 166-89

1.1

ГОСТ 2140-81

2.4

ГОСТ 16483.0-89

2.4, 4.3

ГОСТ 16483.7-71

1.1, 3.4

ГОСТ 28840-90

1.1

5.  Ограничение срока действия снято по протоколу № 4-93 Межгосударственного Совета по стандартизации, метрологии и сертификации (ИУС 4-94)

6.  ПЕРЕИЗДАНИЕ (март 1999 г.) с Изменением № 1, утвержденным в декабре 1988 г. (ИУС 4-89)

СОДЕРЖАНИЕ

1. Аппаратура. 1

2. Отбор и подготовка образцов. 1

3. Проведение испытаний. 2

4. Обработка результатов. 3

Приложение. Протокол определения предела прочности зубчатого клеевого соединения при растяжении. 3