
ГОСУДАРСТВЕННЫЙ СТАНДАРТ СОЮЗА ССР
МАШИНЫ ЗЕМЛЕРОЙНЫЕ
СКРЕПЕРЫ С ЭЛЕВАТОРНОЙ ЗАГРУЗКОЙ
РАСЧЕТ ВМЕСТИМОСТИ КОВШЕЙ
ГОСТ 27255-87
(ИСО 6484-86)
ГОСУДАРСТВЕННЫЙ КОМИТЕТ СССР ПО СТАНДАРТАМ
Москва
ГОСУДАРСТВЕННЫЙ СТАНДАРТ СОЮЗА ССР
|
Машины землеройные СКРЕПЕРЫ С ЭЛЕВАТОРНОЙ ЗАГРУЗКОЙ Расчет вместимости ковшей Earth-moving machinery. |
ГОСТ (ИСО 6484-86) |
Срок действия с 01.01.88
до 01.01.93
Настоящий стандарт устанавливает приближенный метод расчета объема типовых материалов, вмещаемых ковшом скрепера с элеваторной загрузкой, основанный на использовании данных о внутренних размерах ковша и условном объеме «шапки» ковша. Метод расчета используют для сравнения вместимостей ковшей.
Ссылочные документы приведены в обязательном приложении.
3.2. Составные части скрепера с элеваторной загрузкой - составные части по черт. 1-3.
4.1. Ковш располагают так, чтобы нижняя плоская поверхность ковша находилась в горизонтальном или близком к горизонтальному положении.
4.2. Положение механизма разгрузки ковша должно обеспечивать максимальную вместимость ковша.
4.3. Положение механизма элеваторной загрузки должно обеспечивать минимальное расстояние между ножом скрепера и траекторией наружных кромок скребков элеватора соответствовать документации изготовителя.
4.2. Границы геометрического объема ковша
Границами геометрического объема ковша служат:
а) внутренние поверхности боковых стенок;
б) внутренняя поверхность задней части или механизма выдвижения задней стенки;
в) днище;
г) плоскость, перпендикулярная передней поверхности ножа и проходящая через ось натяжной звездочки элеватора (черт. 3);
д) плоскость (или линейное продолжение) внутренней траектории скребков элеватора, ближайших к грузу в ковше (черт. 3);
е) плоскость, определяемая средними линиями (черт. 3), проведенными горизонтально, чтобы площадь боковой стенки, находящаяся выше этих линий, была равна площади, расположенной ниже их;
ж) вертикальные плоскости, соединяющие внутренние поверхности боковых стенок с плоскостью, определяемой средними линиями.
4.3. Границы объема «шапки» ковша
Границами объема «шапки» ковша служат:
а) верхняя горизонтальная поверхность геометрического объема (п. 4.2д)
б) плоскость (или линейное продолжение плоскости) внутренней траектории скребков элеватора (п. 4.2д);
и) плоскость, проведенная через верхнюю точку сплошной задней части ковша или механизма выдвижения задней стенки и касающаяся наружных кромок скребков элеватора (точка касания - верхний конец элеватора, черт. 4).
Уклон плоскости не должен быть менее 3:1 (18,4°) в направлении вперед и вверх от верхней точки сплошной задней части ковша или механизма выдвижения задней стенки. Если уклон менее 3:1, то ограничивающая плоскость должна соответствовать требованиям п. 4.3 г;
г) плоскость с уклоном 3:1 (в направлении назад и вниз), касательная к наружным кромкам скребков элеватора и доходящая до пересечения с задней частью ковша;
д) плоскости с уклоном 1:1 (45°), направленные вверх и к середине ковша от средних линий (черт. 5).
4.4. Номинальная вместимость ковша
Номинальная вместимость представляет собой сумму геометрического объема и объема «шапки» ковша.
Выступы (косынки, опорные рычаги элеватора в ковше скрепера и т.д.) при расчете вместимости ковша не учитывают.
5.1. Значения номинальной вместимости ковша не должны отличаться более чем на ±3% вместимости, определяемой по данному методу.
5.2. Значения номинальной вместимости ковша менее 10 м3 следует указывать с точностью до 0,1 м3, более 10 м3 - с точностью до 0,5 м3.
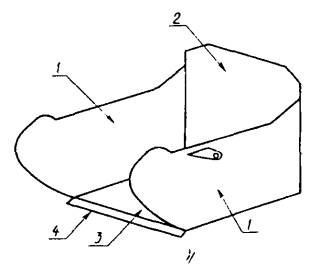
Скрепер с элеваторной загрузкой
1 - цепи; 2 - скребки: 3 - элеватор; 4 - нож
Черт. 1 Составные части ковша скрепера
Составные части ковша скрепера

1 - боковая стенка; 2 - выдвижная задняя стенка; 3 - днище; 4 - нож
Черт. 2
Границы геометрического объема
Плоскости, относящиеся к натяжной звездочке и скребкам элеватора
1 - см. п. 4.2д; 2 - средняя линия, см. п. 4.2е; 3 - днище; 4 - нож; 5 - см. п. 4.2г; 6 - см. п. 4.2д
Черт. 3
Границы объема «шапки» ковша. Касательная плоскость
1 - см. п. 4.3в; 2 - не менее 3:1, см. п. 4.3в и 4.3г; 3 - см. п. 4.3в
Черт. 4
Границы объема «шапки»

1 - см. п. 4.3д; 2 - не менее 3:1. см. п. 4.3п; 3 - средняя линия
Черт. 6
Обязательное
|
Раздел, пункт, в котором приведена ссылка |
Обозначение соответствующего стандарта |
Обозначение отечественного нормативно-технического документа, на который дана ссылка |
|
ИCO 7133 |
- |
ИНФОРМАЦИОННЫЕ ДАННЫЕ
1. ВНЕСЕН Министерством строительного, дорожного и коммунального машиностроения СССР
2. Постановлением Государственного комитета СССР по стандартам от 30.03.87 № 1033 введен в действие государственный стандарт СССР ГОСТ 27255-87, в качестве которого непосредственно применен международный стандарт ИСО 6484-86, с 01.01.88
СОДЕРЖАНИЕ