МИНИСТЕРСТВО МОРСКОГО ФЛОТА СССР
РЕКОМЕНДАЦИИ
ПО ПРОЕКТИРОВАНИЮ ПРИЧАЛЬНЫХ СООРУЖЕНИЙ, ВОЗВОДИМЫХ СПОСОБОМ «СТЕНА В ГРУНТЕ»
РД 31.31.24-81
Москва 1981
Государственный проектно-изыскательский научно-исследовательский институт морского транспорта
"СОЮЗМОРНИИПРОЕКТ"
РАСПОРЯЖЕНИЕ
|
от 26.05.81 г. |
г. Москва |
№18 |
Содержание: Утверждение нормативно-технических документов в области проектирования гидротехнических сооружений.
Ленморниипроектом составлены "Рекомендации по проектированию причальных сооружений, возводимых способом "стена в грунте", определяющие основные принципы расчета конструкций причальных сооружений выполняемых способом "стена в грунте".
На основании приказа ММФ от 18.07.79 г. № 131 и письма Главного инженера УРиКС т. ТЕТЕНКО М.Г. от 19.11.80 г. № УКС-3/5332, предлагал:
1. Утвердить и ввести в действие с 01.02.82 г. РД 31.31.24-81 "Рекомендации по проектированию причальных сооружений, возводимых способом "стена в грунте".
2. Главному инженеру Ленморниипроекта т. ФИРСОВУ В.А. обеспечить издание и разослать до 31.01.82 г. РД 31.31.24 всем заинтересованным организациям.
3. Главным инженерам филиалов т.т. ФИРСОВУ В.А., ТАРАНУ В.М., КОЖЕВНИКОВУ А.Ф., МУСАЕЛЯНУ Г.Х, и зам. главного инженера института обеспечить внедрение РД во всех проектных подразделениях.
И.О. главного инженера института Т.И. ЧОДРИШВИЛИ
Содержание
|
РЕКОМЕНДАЦИИ ПО ПРОЕКТИРОВАНИЮ ПРИЧАЛЬНЫХ СООРУЖЕНИЙ, ВОЗВОДИМЫХ СПОСОБОМ "СТЕНА В ГРУНТЕ” |
РД 31.31.24.-81 Вводится впервые |
Распоряжением Союзморниипроекта от 26 мая 1981 года № 18
срок введения в действие установлен
с 1 февраля 1982 года
Настоящие рекомендации устанавливают общие требования к выбору конструкций, конструированию и расчету причальных сооружений, возводимых способом "стена в грунте". Кроме того, настоящие рекомендации устанавливают требования к технологии строительства в объеме, необходимом для составления проекта организации строительства (ПОС).
Строительство осуществляется приемами, регламентированными СНиП III-9-74 и "Руководством по производству и приемке работ при, устройстве оснований и фундаментов", разработанным НИИОСП им. Н.М. Герсеванова в развитие указанного СНиП.
1.2. Способ основан на разработке траншей с поверхности территории, стенки которых в вертикальном положении удерживаются глинистым раствором (суспензией), заполнении траншей монолитным бетоном (железобетоном) или сборными железобетонными элементами и отрывке грунта перед ограждением после достижения проектной прочности бетоном или материалом заполнения стыков омоноличивания сборных элементов.
Заполнение траншеи бетонной смесью и полостей стыков омоноличивания сборных элементов осуществляется методами подводного бетонирования с вытеснением глинистого раствора.
Способ применяется для сооружения (стен) прямолинейного, криволинейного или ломаного очертания в плане.
1.3. Способ "стена в грунте" следует применять для сооружений, возводимых на площадках, сложенных песчаными или глинистыми грунтами, за исключением случаев, когда по гидрогеологическим условиям траншея не может быть пройдена или удержана глинистым раствором от обрушения (крупнообломочные грунты с незаполненными пустотами, грунты с включением крупных валунов, структурно неустойчивые или с φ = 8-10°).
При возведении сооружений рассматриваемым способом инженерно-геологическое строение площадки должно быть изучено на глубину не менее 10 м ниже подошвы сооружения.
При проектировании причальных сооружения, возводимых способом "стена в грунте", следует иметь все инженерно-геологические и гидрологические данные, требующиеся для проектирования портовых гидротехнических сооружений, включая качественную и количественную оценку встречающихся в толще грунтов крупных включении, данные об уровнях и режимах грунтовых вод, степени агрессивности воды акватории и грунтовых вод.
а) при строительстве в бассейнах, создаваемых за счет прибрежной территории;
б) при строительстве на территориях, создаваемых засыпкой акватории;
в) при строительстве вдоль
береговой полосы в новых районах, где линия кордона может быть размещена по
территории с отметками плюс 1,5
2,0м;
г) при возведении экранирующих и разгружающих конструкций, а также опор крановых путей и технологического оборудования на существующих причалах, особенно в тех случаях, когда забивка свай нежелательна из-за вибрационных и ударных нагрузок.
1.6. При расчете экономической эффективности конструкций причальных сооружений, возводимых способом "стена в грунте" необходимо учитывать:
а) сокращение сроков строительства;
б) сокращение объема земляных работ по выемке и засыпке;
в) сокращение эксплуатационных расходов, связанных с ликвидацией деформаций территории причала;
г) сокращение расхода металла за счет применения армокаркасных бетонных конструкций;
д) сокращение стоимости строительства за счет производства работ без применения тяжелого и плавучего оборудования и производство работ "насухо".
2.1.1. Для возведения способом "стена в грунте" рекомендуются следующие конструктивные формы причальных сооружений:

а - незаанкеренный больверк; б, в - заанкеренный больверк; г - экранированный заанкеренный больверк.

Рис. 2. Сооружения ячеистого типа:
а - гравитационное; б - гравитационное заглубленное.
а) незаанкеренные и заанкеренные больверки (рис. 1 а, б, в, г);
б) сооружения ячеистого типа (рис. 2 а, б).
2.1.2. Незаанкеренные больверки следует применять для мелководных причалов с высотой стенки Нст (расстояние от отметки кордона до дня) до 7 м, выполняя их в сборном или монолитном вариантах.
2.1.3. Заанкеренные больверки следует применять при высотах стенок от 7 м и более, выполняя их в монолитном варианте с одним анкером, размещаемым выше строительного горизонта вода в акватории.
В зависимости от глубин у причалов рекомендуется применять:
а) при глубинах от 5,5 до 9,75 м больверки с лицевыми стенками плоского сечения толщиной 0,6-0,8 м;
б) при глубинах от 10 до 13 м больверки с лицевыми стенками таврового сечения с толщиной стенок (и полок) 0,6-0,8 м;
в) при глубинах более 13 м больверки с лицевыми стенками плоского или таврового сечения толщиной 0,8-1,0 м, экранированных вертикальными плоскими элементами, возводимыми вразрядку и используемые в качестве опор крановых путей или технологического оборудования.
Примечание. Для всех видов заанкеренных больверков рекомендуется в качестве анкерных опор применять стенки плоского или таврового сечения, возводимые также способом "стена в грунте".
2.1.4. Сооружения ячеистого типа целесообразно применять для глубоководных причалов и наличии в основания плотных грунтов (Е0 ≥ 30-40 МПа).
При заглублении кровли плотных грунтов до 0,3 Нст ниже отметки проектного дна следует применять гравитационные конструкции с поперечником 0,7-0,9 Нст и ячейками полигонального или прямоугольного очертания в плане.
При большем заглублении плотных грунтов сооружения ячеистого типа могут выполняться как гравитационные заглубленные или защемленные конструкции. В этих случаях их поперечник может быть уменьшен.
Для таких случаев рекомендуется применять ячейки с прямоугольным очертанием в плане.
2.1.5. Экранирующие элементы и опоры крановых путей или технологического оборудования, применяемые при реконструкции и усилении причалов, рекомендуется выполнять в засыпке за сооружениями в виде плоских столбов прямоугольного сечения (толщина 0,6-0,8 м, длина 2,0-2,5 м).
2.2.1. При проектировании причальных сооружении, возводимых способом "стена в грунте", следует предусматривать применение тяжелого бетона плотной структуры с проектной маркой по прочности не ниже М200 для монолитных и не ниже М300 для сборных конструкций, с проектной маркой по водонепроницаемости не ниже В4.
В качестве арматуры следует применять стержневую арматуру периодического профиля. Применение гладкой арматуры не допускается.
Требования к бетону и арматуре устанавливаются СНиП II-56-77 и ВСН 6/118-74.
2.2.2. Подошвы монолитных стен, возводимых способом "стена в грунте", учитывая возможность снижения качества подводного бетона в забое траншей, следует располагать на 0,5-1,0 м ниже отметет, определенной расчетом сооружения.
2.2.3. Учитывая высокую водонепроницаемость стен, возводимых способом "стена в грунте", особое внимание должно быть, обращено на систему дренирования лицевых стенок сооружений, рекомендованных настоящим РД.
Для снятия гидростатического давления в лицевых стенках должны устраиваться выпускные трубки внутренним диаметром 80-100 мм, закрепляемые до бетонирования в армокаркасах стенок с шагом вдоль сооружения 1500-2000 мм. За стенкой в зоне размещения трубок должно быть предусмотрено устройство фильтра.
2.2.4. При возведении причальных сооружений способом "стена в грунте" в суровых условиях службы необходимо предусматривать специальные конструктивные мероприятия для обеспечения долговечности сооружения в зоне переменного горизонта воды:
а) прохождения зоны переменного горизонта металлическими элементами (например, стальной шпунт) или железобетонными сборными элементами повышенной Долговечности, соединяемыми с армокаркасами конструкции, возводимой способом "стена в грунте" (рис. 3);
б) бетонирование конструкции, возводимой способом "стена в грунте", в зоне переменного горизонта под защитой опалубки из плит термопластического материала в соответствии с требованиями ВСН 6/118 (рис. 4).
2.2.5. Поверху лицевых и анкерных стенок больверков, возводимых способов "стена в грунте", следует устраивать железобетонные оголовки, бетонируемые "насухо". Для связи оголовка со стенками армокаркасы стенок должны иметь выпуски арматуры.
2.2.6. На первых этапах внедрения способа "стена в грунте" для анкеровки больверков рекомендуется применять стержневые стальные анкере, изготавляемые промышленностью в соответствии с требованиями ТУ 35-679-76.
Анкера закрепляются в оголовках лицевой и анкерной стенок при их бетонировании за специальные закладные части или снабжаются устройствами, обеспечивающими их заделку в бетоне оголовка (рис. 5).
Анкера должны иметь талрепы или другие устройства, позволяющие производить их монтажное натяжение с усилием 30-50 кН перед отрывкой грунта у лицевой стенки.
Рис. 3. Заанкеренный 6ольверк с панелью из металлического шпунта:
1 - панель из металлического шпунта; 2 - лицевая стенка, возводимая способом "стена в грунте"; 3 - анкерная стенка; возводимая способом "стена в грунте".
Рис. 4. Вариант больверка с плитой из термопластического материала:
1 - плита из термопластического материала; 2 - армокаркас; 3 - железобетонная надстройка; 4 - лицевая стенка возводимая способом" стена в грунте".
Рис. 5. Крепление анкера:
1 - железобетонная надстройка; 2 - лицевая стенка таврового сечения; 3 - анкерная стенка; 4 - анкер; 5 - оголовок анкерной стенки; 6 - подкрановая балка; 7 - труба.
При закреплении анкеров в бетоне оголовка они натягиваются тaлpeпaми.
2.2.7. Для сооружений ячеистого типа расположение их подошвы определяется положением кровли плотных грунтов и расчетом устойчивости сооружения, но во всех случаях подошва не должна отстоять менее чем на 0,15 Нст от проектного дна при заглублении в плотные грунта на 1-2 м.
2.2.8. Поверху ячеек причалов ячеистого типа следует бетонировать или устанавливать сборные элементы верхнего строения. Для связи верхнего строения со стенками ячеек их армокаркасы должны иметь выпуски арматуры.
Вынос верхнего строения в сторону акватории определяется в зависимости от очертания борта расчетного судна и примененного типа отбойных устройств.
Перекрытие ячеек верхним строением рекомендуется принимать в пределах 0,5-0,7 поперечника ячейки.
В необходимых случаях, верхнее строение устраивают с тыловой консолью для увеличения устойчивости сооружения или снижения напряжений под подошвой его передней грани.
2.2.9. При конструировании сооружении, рекомендованных настоящим РД, следует учитывать, что возведение их осуществляется отдельными участками - захватками (расстояние между стыками стен).
Ширина сборных элементов определяется исходя из грузоподъемности применяемых для монтажа механизмов, но во всех случаях должна быть не менее 1,5 м.
Захватки монолитных конструкций принимаются длиной 4-6 м, кратной ширине раскрытия грейфера.
Элементы нерабочего стыка должны обеспечивать грунтонепроницаемость стенки при отрывке грунта перед сооружением (для лицевых стенок) и надежную изоляцию бетонируемой захватки от незаполненного пространства траншеи (для монолитных конструкций).
Элементы стыка для сборных элементов должны также служить и направляющими при их установке.
Элементы рабочего стыка, кроме требований, предъявляемых к нерабочему стыку, должны обеспечивать передачу усилия (растяжение, поперечное усилие) от захватки к захватке.
Для лицевых и анкерных стенок больверков применяются нерабочие стыки, для стенок ячеистых конструкций применяются рабочие стыки.
2.2.11. Рекомендуются следующие конструкции стыков монолитных стен:
а) в виде железобетонной перемычки, ширина которой соответствует ширине траншеи и имеет полуциркульное очертание со стороны неотрытой части траншеи (рис. 6);
б) в виде железобетонных круглых полых свай, имеющих диаметр на 3-5 см больше ширины траншеи;
в) в виде, плоской металлической диафрагмы, приваренной к арматурному каркасу, в торце которого привариваются два швеллера, образующие вертикальные направляющие, предназначенные для установки следующего каркаса (рис. 7).
Стыки между панелями сборных конструкций рекомендуется выполнять с использованием замков от шпунта типа Ларсен, из стальных разрезных труб (рис. 8), в виде полостей между панелями, которые омоноличиваются: после монтажа панелей в Траншее (стык ГПИ фундаментпроект, рис. 9)
2.2.12. Пространство вокруг панелей в траншее ниже дна акватории и застенное пространство с тыловой стороны стенки должны быть заполнены тампонажным раствором, состав которого подбирается с заданной в проекте прочностью.

Рис. 6. Конструкция нерабочего стыка
Рис. 7. Конструкция стыка, входящего в арматурный каркас (рабочий стык):
1 - забетонированная захватка; 2 - траншея; 3 - металлическая диафрагма; 4 - швеллеры; 5 - уголки.
Рис. 8. Стык между панелями из стальных разрезных труб:
1 - панель лицевой стенки; 2 - труба.
Рис. 9. Стык между панелями:
1 - панель; 2 - подвески; 3 - шаблон; 4 - ребра жесткости; 5 - замковое устройство.
2.2.13. Армирование монолитных конструкций в пределах захватки следует осуществлять арматурными каркасами.
Арматурный каркас должен иметь длину на 20-30 см меньше глубины траншеи, толщину на 15-20 см меньше ширины траншеи и ширину по длине захватки между ограничителями (рис. 10).
Размеры армокаркасов и их положение в траншее должны обеспечивать толщину защитного слоя в конструкции не менее 70 мм.
В арматурном каркасе должны быть предусмотрены проемы для опускания бетонолитных труб, в верхней части поперечные балки, на которых он подвешивается на форшахте после опускания в траншею.
Проемы для установки бетонолитных труб должны проектироваться при длине захватки до 4 м - один в середине каркаса, при длине захватки 4-6 м - два.
Для стенок большой высоты армокаркасы могут свариваться по высоте в процессе их установки в траншею.
Величина армирования и дисперсность арматуры определяются расчетом прочности конструкции и требованиями ограничения величины раскрытия трещин в зависимости от степени агрессивности среды в соответствии с требованиями СНиП II-26-73.
3.1.1. Причальные сооружения, рекомендуемые к возведению способом "стена в грунте" (п. 2.2 настоящего РД), а также их конструктивные элементы и основания следует рассчитывать по методу предельных состояний в соответствии с требованиями СНиП II-51-74 и СНиП II-А.10-71.
Рис. 10. Конструкция армокаркаса:
1 - место установки бетонолитной трубы; 2 - направляющие (салазки).
3.1.2 Давление грунта на сооружения, рекомендованные к возведете способом "стена в грунте" настоящим РД, со стороны территорий следует определять как активное давление.
Давление грунта, расположенного наше уровня дна перед сооружением, следует в зависимости от характера расчета определять как пассивное или реактивное давление.
Давление грунта в полости ячеистых конструкций следует определять как давление покоя
Угол трения грунта о стенку δ рекомендуется принимать 0,5 φ,
где φ - угол внутреннего трения грунта основания.
Значения величин λа и λас в зависимости от угла внутреннего трения грунта приведены в табл. 1.
Угол трения грунта о стенку δ рекомендуется принимать:
для стенок больверка и ячеек δ = 0,667 φ;
для анкерных стенок и плит δ = 0,333 φ.
Значения величин λр и λрс в зависимости от угла внутреннего трения грунта приведены в табл. 2.
3.2.1. Незаанкеренные больверки следует рассчитывать в соответствии с требованиями СН-РФ 54.1-68 утвержденными Министерством речного флота РСФСР 28 февраля 1968 г., учитывая рекомендации пп. 3.1.3, 3.1.4 настоящего РД.
Таблица 1
Коэффициенты горизонтальной добавляющей активного давления грунта
|
φ |
λα |
λαc |
||
|
δ = 0 |
δ = 05 φ |
δ = 1 |
δ = 05 φ |
|
|
10° 11 12 13 14 15 16 17 18 19 20 21 22 23 24 25 26 27 28 29 30 31 32 33 34 35 36 37 38 39 40 |
0,70 0,68 0,66 0,63 0,61 0,59 0,57 5,55 0,53 0,51 0,49 0,47 0,45 0,44 0,42 0,41 0,39 0,35 0,36 0,34 0,33 0,32 0,31 0,30 0,28 0,27 0,26 0,25 0,24 0,23 0,22 |
0,66 0,63 0,61 0,58 0,56 0,54 0,52 0,50 0,48 0,46 0,44 0,42 0,41 0,39 0,37 0,33 0,34 0,33 0,32 0,30 0,29 0,28 0,27 0,26 0,24 0,23 0/22 0,21 0,20 0,20 0,13 |
1,68 1,65 1,62 1,59 1,56 1,53 1,50 1,47 1,45 1,42 1,40 1,37 1,34 1,32 1,29 1,27 1,25 1,22 1,20 1,18 1,16 |
1,56 1,53 1,49 1,46 1,42 1,39 1,33 1,36 1,30 1,27 1,25 1,22 1,19 1,17 1,14 1,12 1,09 1,07 1,04 1,02 1,00 |
Коэффициенты горизонтальной добавляющей пассивного давления грунта
|
φ |
λp |
λpc |
||||
|
δ = 0 |
δ = 0,333 φ |
δ = 0,667 φ |
δ = 0 |
δ = 0,333 φ |
δ = 0,667 φ |
|
|
10 11 12 13 14 15 16 17 18 19 20 21 22 23 24 25 26 27 28 29 30 31 32 33 34 35 36 37 38 39 40 |
1,42 1,47 1,53 1,58 1,63 1,69 1,76 1.82 1,69 1,96 2,04 2,12 2,20 2,28 2,37 2,46 2,53 2,67 2,78 2,69 3,00 3,12 3,25 3,39 3,54 3,69 3,65 4,02 4,20 4,39 4,60 |
1,51 1,57 1,64 1,72 1,79 1,66 1,96 2,04 2,14 2,25 2,35 2,49 2,63 2,78 2,94 3,10 3,25 3,41 3,58 3,76 3,94 4,17 4,39 4,67 4,95 5,29 5,64 6,05 6,50 7,05 7,57 |
1,58 1,64 1,71 1,80 1,09 2,00 2,11 2,21 2,36 2,47 2,63 2,80 2,99 3,19 3,38 3,58 3,60 4,02 4,30 4,57 4,85 5,60 5,22 5,97 6,42 6,90 7,41 8,13 8,88 8,75 10,71 |
1,58 1,65 1,72 1,79 1,87 1,94 2,01 2,08 2,15 2,23 2,30 2,56 2,42 2,48 2,54 2,60 2,67 2,73 2,80 2,87 2,94 |
2,04 2,14 2,23 2,32 2,42 2,52 2,62 2,73 2,84 2,95 3,06 3,22 3,37 3,53 3,68 3,84 3,96 4,07 4,18 4,30 4,41 |
2,39 2,45 2,53 2,68 2,81 2,99 3,14 3,24 3,38 3,55 3,76 3,96 4,18 4,41 4,57 4,76 4,96 5,14 5,40 5,62 5,83 |
Примечание
При определении расчетных значений пассивного давления грунта рекомендуется принимать коэффициент условии работы равным единице.
3.2.2.
Заанкеренные больверки следует рассчитывать в соответствии с требованиями РТМ
31.3016-76 и
учитывал рекомендации пп. 3.1.3,
3.1.4 настоящего РД.
3.3.1. Номенклатуру нагрузок и их
сочетания, величины нагрузок и характеристики грунтов, а также коэффициенты для
определения расчетных величин усилий в элементах сооружения следует принимать в
соответствии с требованиями
учитывая рекомендации п.п. 3.1.3, 3.1.4 настоящего РД.
Дополнительно при расчете сооружений ячеистого типа необходимо учитывать следующие нагрузки:
а) вес (сила тяжести) ячейки и верхнего строения;
б) вес грунта внутри ячейки и над ней;
в) боковое давление грунта на внутренний контур ячейки, определяемое по Приложению 1 настоящего РД.
3.3.2. Расчетную схему сооружения ячеистого типа и метод его расчета следует принимать в зависимости от критерия α, определяемого при заданной глубине и принятых размерах ячеек.
3.3.3. Глубину погружения ячеек t в первом приближении рекомендуется принимать такой, чтобы подошва ячеек находилась в плотных грунтах не менее 1-2 м.
Глубина погружения ячеек t уточняется последовательными расчетами в зависимости от расчетной схемы сооружения по пп. 3.3.7, 3.3.8, 3.3.10 настоящего РД
3.3.4. Критерий α определяется по формуле
(1)
где М - суммарный момент от внешних вертикальных и горизонтальных нагрузок (пп. 3.3.5, 3.3.6 настоящего РД) относительно точки, расположенной в центре тяжести основания ячейки;
Е - равнодействующая внешних горизонтальных нагрузок, Е действующих на 1 м длины сооружения, определяемая по п. 3.3.5 настоящего РД;
N - равнодействующая внешних вертикальных нагрузок, N действующих в основании ячейки на 1 м длины сооружения, определяемая по п. 3.3.6 настоящего РД;
- коэффициент трения; рейки по грунту в
плоскости основания, принимаемым равным
tg φосн ;
r - величина, определяемая по формуле
(2)
где В - ширина (диаметр) ячейки;
t - глубина погружения ячейки;
fy - коэффициент трения грунта по боковой поверхности ячейки, принимаемый равным tg (0,5 φc);
φc - средневзвешенное значение угла внутреннего трения грунта по высоте ячейки.
3.3.5. Равнодействующая внешних горизонтальных нагрузок определяется по формуле
(3)
где - горизонтальная составляющая активного давления
Ea - грунта с учетом временных равномерно распределенных нагрузок на причале;
Eвр - швартовная или волновая нагрузка при откате волны, отнесенная к 1 м длины сооружения.
Примечание. Активное давление грунта следует определять на расчетную плоскость, проходящую через тыловую грань ячейки.
3.3.6. Равнодействующая внешних вертикальных нагрузок определяется по формуле
N = Gя +Gг + Ев + q0B, (4)
где Gя - собственный вес ячейки, приведенный к 1 м длины сооружения;
Gг - вес грунта внутри ячейки, приведенный к 1 м длины сооружения;
Ев - вертикальная составляющая активного давления грунта с учетом временных равномерно распределенных нагрузок на причале;
q0 - интенсивность равномерно распределенной нагрузки на уровне верха ячейки;
В - ширина ячейки.
Примечание. Интенсивность равномерно неопределенной нагрузки на уровне верха ячейки q0 следует определять как осредненное значение всех нагрузок, расположенных в пределах ширины, ячейки о, аналогично определению нагрузки q0 (п. 4 Приложения 1).
3.3.7. Сооружение ячеистого типа при α ≥ 1 следует рассчитывать как защемленную конструкцию в соответствии с требованиями СН-РФ 54.1-68 с учетом вертикальных сил трения на контакте грунта с поверхностью ячейки и рекомендации п.п. 3.1.3, 3.1.4 настоящего РД.
3.3.8. Сооружение ячеистого типа при α1 < 1 следует рассчитывать как гравитационную заглубленную конструкцию в соответствии с требованиями пп. 3.3.9, 3.3.10 настоящего РД.
3.3.9. Расчет гравитационной заглубленной конструкции с поперечником 0,7-0,9 Нст полигонального очертания ячеек в плане при заглублении ниже дна до 0,3 Нст следует выполнять в соответствии с требованиями РТМ 31.3013-77 и рекомендациями п. 3.3.1 настоящего РД.
а) проверку устойчивости сооружения по схеме глубинного сдвига;
б) проверку устойчивости сооружения на опрокидывание;
в) проверку устойчивости-сооружения по схеме плоского сдвига;
г) проверку достаточности продельной величины отпора для реализации реактивного давления грунта перед ячейкой;
д) проверку прочности основания сооружения;
е) определение усилий в элементах сооружения и расчет их прочности.
Примечание:
1. Проверки следует выполнять на нагрузки, действующие на 1 м длины сооружения.
2. В случаях, если одна из проверок не выполняется, следует увеличить глубину погружения ячеек t или изменить ее ширину В.
3.3.11. Проверку устойчивости
сооружения по схеме глубинного сдвига следует наполнять для всех сооружений,
кроме опирающихся на скальное основание, в соответствии с требованиями
и
.
3.3.12. Проверку устойчивости сооружения на опрокидывание вокруг оси, проходящей через лицевую грань ячеек на уровне подошвы, следует выполнять для сооружений, опирающихся на скальное основание (рис. 11).

Рис. 11. К проверке устойчивости сооружения на опрокидывание.
При расчете должно быть выполнено условие
(5)
где Mопр - суммарный момент от внешних горизонтальных нагрузок, опрокидывающих сооружение;
Муд - суммарный момент от вертикальных и горизонтальных нагрузок, удерживающих сооружение от опрокидывания (п. 3.3.13 настоящего РД);
nc, n, mg, m ,kн - расчетные коэффициенты, определяемые в
соответствии с требованиями
.
3.3.13. Суммарный момент вертикальных и горизонтальных нагрузок, удерживающих ячейку опрокидывания Муд рекомендуется определять по формуле
(6)
где В - ширина ячейки;
Gя - собственный вес ячейки, приведенный к 1 м длины сооружения;
Ев - вертикальная составляющая активного давления грунта;
Еп - горизонтальная составляющая пассивного давления грунта;
hп - плечо силы Eп;
Gн -вес надстройки и грунта лежащего на ней, приведенный к 1 м длины сооружения;
bн - расстояние от оси вращения до линии действия силы Gн;
Ев.з. - суммарная величина вертикальных сил трения грунта, возникающих на внутреннем контуре ячейки, определяемая по формуле
(7)
где Gг - вес грунта внутри ячейки, приведенный к 1 м длины сооружения;
qc - интенсивность равномерно распределенной, нагрузки на поверхности грунта внутри ячейки (п. 4 Приложение 1);
b - внутренний размер ячейки по ширине причала;
-
интенсивность вертикального давления грунта внутри ячейки на уровне ее подошвы,
определяемая, по п. 3 Приложения
1.
3.3.14. Проверку устойчивости сооружения по схеме плоского сдвига по контакту подошвы сооружения с грунтом основания следует выполнять для сооружений, имеющих глубину погружения ячеек менее 0,3 Нст.
При расчете должно быть выполнено условие
(8)
где Е - равнодействующая внешних горизонтальных нагрузок (п. 3.3.5 настоящего РД);
N - равнодействующая внешних вертикальных нагрузок, действующих в основании ячейки, без учета временных нагрузок в пределах ширины ячейки B (п. 3.3.6 настоящего РД);
f0 - коэффициент трения ячейки по грунту в плоскости основания, принимаемый равным tg φосн;
c -удельное сцепление грунта основания;
Fc - площадь полного сечения по подошве ячейки, приведенная к 1 м длины сооружения;
Еп - горизонтальная составляющая пассивного давления грунта
nc, n, mg, m, kн
- расчетные коэффициенты, определяемые в соответствии с требованиями
.
3.3.15. Проверку достаточности предельной ветчины отпора для реализации реактивного давления грунта перед ячейкой следует выполнять для сооружений, имеющих глубину погружения ячеек t более 0,3 Нст;
При расчете должно быть выполнено условие
(9)
где σr - ординаты эпюры горизонтальной составляющей реактивного давления грунта перед ячейкой, определяемые по п. 3.3.16 настоящего РД;
σп - ординаты эпюры предельного отпора перед ячейкой;
nc, n, m, kн -
расчетные коэффициенты, определяемые в соответствии с требованиями
;
mg - дополнительный коэффициент условий работы, принимаемый при расстоянии от уровня дна до точки поворота ячейки y0 (см. п. 3.3.17 настоящего РД) менее глубины погружения ячейки t равным 0,8, в остальных случаях 0,9.
Примечание. Допускается превышение реактивного давления грунта перед ячейкой на глубине равной 0,3 t от уровня дна в пределах 10 %.
, (10)
где Е - равнодействующая внешних горизонтальных нагрузок;
L - протяженность ячейки по длине причала;
y - текущая координата, отсчитываемая от уровня дна;
yo - расстояние от уровня дна до точки поворота ячейки, определимое по п. 3.3.17 настоящего РД;
A - коэффициент, определяемый по п. 3.3.17 настоящего РД;
t - глубина погружения ячеек.
Ординаты эпюры вертикальной составляющей реактивного давления, грунта определяются по формуле
(11)
Где φi - угол внутреннего трения грунта на глубине, для которой определяется ордината реактивного давления грунта.
3.3.17. Расстояние уровня дна до точки поворота ячейки yo и коэффициент A определяется по формулам:
(12)
(13)
где Kc - средневзвешенное значение коэффициента пропорциональности упругих свойств грунта в пределах глубины погружения ячеек t;
t -глубина погружения ячеек;
λ - величина, определяемая по формуле
(14)
где М - суммарный момент от внешних вертикальных и горизонтальных нагрузок относительно точки, расположенной, в центре тяжести основания (п. 3.3.4 настоящего РД);
Е - равнодействующая внешних горизонтальных нагрузок;
ωя - момент сопротивления бетонного сечения ячейки длиной;
L - относительно ее продольной оси,
В - ширина ячейки;
Сп - коэффициент постели грунта в основании сооружения, принимаемый равным Сп = kt, но не менее 10k;
где k - коэффициент пропорциональности упругих свойств грунта основания.
Коэффициенты пропорциональности упругих свойств грунта принимается по табл. 3.
3.3.18. Проверку прочности основания следует выполнять в соответствии с требованиями СНиП II-15-74 для всех сооружений.
Величина максимального краевого напряжения σmax по контакту подошвы сооружения с основанием должна удовлетворять условию
(15)
где Rгр - расчетное давление на грунт основания, определяемое в соответствии с требованиями СНиП II-15-74.
При этом для сооружения, точка поворота ячеек (п. 3.3.17 настоящего РД), которых находится на подошве или ниже подошвы сооружения необходимо, чтобы равнодействующая нагрузок не выходила из ядра сечения ячейки, что определяется условием
(16)
Таблица 3
Коэффициенты пропорциональности упругих свойств грунта
|
Наименование, вид грунта и его характеристика |
Значения k (в кН/м4) |
|
Текучепластичные глины и суглинки (0,75< JL ≤ 1,00) |
500-2000 |
|
Мягкопластичные глины и суглинки (0,50 < JL ≤0,75), пластичные супеси (0 £ JL £ 1,00), пылеватые пески (0,60 £ е £ 0,80) |
2000-4000 |
|
Тугопластичные и полутвердые глины и суглинки (0 ≤ JL ≤0,50) твердые супеси (JL < 0) и пески мелкие (0,60 ≤ е ≤ 0,75) и средней крупности (0,55 ≤ е ≤ 0,70) |
4000-6000 |
|
Твердые глины и суглинки (JL < 0), пески крупные (0,55 ≤ е ≤ 0,70) |
6000-10000 |
|
Пески гравелистые (0,5 ≤ е ≤ 0,70) гравий и галька с песчаным заполнением |
10000-20000 |
Примечания:
1. Меньше значения k соответствуют наибольшим значениям консистенции JL глинистых и пористости е песчаных грунтов, указанным в скобках после наименования грунта, а большие значения к соответственно более низким значениям JL и l Для грунтов с промежуточными значениями JL и е величина k принимается по интерполяции.
В случаях, когда консистенция глинистого грунта дается не численно, а наименованием, а пески указываются как средней плотности, величина k принимается равной среднему арифметическому из указанных пределов k для данного вида грунта.
2. Коэффициенты k для плотных песков принимаются на 30 % выше, чем наибольшие значения, указанные для данного вида грунта.
3. Коэффициенты к для насыпных грунтов принимаются на 30 % ниже, чем указанные в таблице значения для данного вида грунта.
4. Коэффициенты пропорциональности k в таблице приняты по "Руководству по проектированию свайных фундаментов", М., 1971 г.
3.8.19. Краевые напряжения
и
по контакту подошвы сооружения с основанием определяются по
формуле
(17)
где N - равнодействующая внешних вертикальных нагрузок, действующих в основании ячейки, с учетом временных нагрузок в пределах ширины ячейки В (п. 3.3.6 настоящего РД);
Fc - площадь полного сечения по подошве ячейки, приведенная к 1 м длины сооружения;
- суммарный момент от вертикальных и
горизонтальных нагрузок относительно точки, расположенной в центре тяжести
основания п. 3.3.20 настоящего РД);
ω - момент сопротивления бетонного сечения ячейки относительно ее продольной оси, приведенный к 1 м длины сооружения.
3.3.20. Суммарный момент от
вертикальных и горизонтальных нагрузок
определяется:
для сооружений, точка поворота ячеек которых находится выше подошвы сооружения,
(18)
где E1 - равнодействующая внешних горизонтальных нагрузок;
h - плечо равнодействующей E;
Eв -вертикальная составляющая активного давления грунта;
- ширина ячейки;
Er -горизонтальная составляющая реактивного давления грунта, ординаты эпюры которой определяется по формуле (10) п. 3.3.18 настоящего РД;
hr - плечо силы Er;
Eb.r - вертикальная составляющая реактивного давления грунта, ординаты эпюры которой определяются по формуле (11) п. 3.3.16 настоящего РД;
Eb.c.- вертикальная составляющая давления грунта, возникающая за счет сил трения на внутреннем контуре ячейки и отнесенная к 1 м контура, ординаты которой определяются по п. 6 Приложения 1 без учета временных нагрузок в пределах свободного поперечного контура ячейки bсв;
b - внутренний размер ячейки по ширине причала;
для сооружений, точка поворота ячеек которых находится на подошве или ниже подошвы сооружения,
(19)
где Eп - горизонтальная составляющая пассивного давления грунта;
hп - плечо силы Еп;
Ев.п. - вертикальная составляющая пассивного давления грунта.
3.3.21. Гравитационную
заглубленную конструкцию с прямоугольным очертанием ячеек в плане, следует
рассчитывать на общую и местную прочность в соответствии с требованиями СНиП II-21-75, СНиП II -56-77 и
.
Расчет общей прочности необходимо выполнять на нагрузки, действующие на лицевую и поперечную стенки ячейки, а расчет местной прочности - на усилия, действующие непосредственно в элементах или в узлах соединений.
3.3.22. Лицевую стенку ячейки следует рассчитывать на изгиб при воздействии максимального давления грунта на внутренний контур ячейки, определяемого по п. 2 Приложения 1 настоящего РД.
При этом необходимо выполнить
а) расчет средней захватки лицевой стенки, опертой на консоли тавровых, захваток;
б) расчет консолей тавровых захваток;
в) расчет элементов рабочего стыка.
Примечание. Армирование и элементы стыков тыловой стенки рекомендуется принимать аналогично лицевой стенке.
3.3.23. Поперечную стенку ячейки и ее рабочие стыки следует рассчитывать на растяжение.
Усилие, отнесенное к 1 м стенки по высоте, определяется по формуле:
(20)
где
- максимальное
значение горизонтальной составляющей давления грунта на внутренний контур
ячейки, определяемое по п. 2 Приложения
1;настоящего РД;
l - внутренний размер ячейки по длине причала.
3.3.24. Усилия в элементах надстройки следует определять, как для уголковых стенок, в соответствии с действующими ведомственными нормативными документами.
3.3.25. Расчет гравитационной заглубленной конструкции с прямо угольным очертанием ячеек в плане по второй группе предельных г состояний должен включать:
а) определение общих смещений (осадки и горизонтальные перемещения) сооружения;
б) определение величины раскрытия трещин в железобетонных элементах конструкции.
3.3.26. При определении общих смещений сооружения должно быть выполнено условие
(21)
где D - вертикальные осадки, горизонтальные перемещения и углы поворота сооружения, определяемые в соответствии с требованиями СНиП II-16-76 и рекомендациями п. 3.3.27 настоящего РД;
Dq - допускаемая величина перемещения, устанавливаемая в зависимости от условий эксплуатации сооружения в соответствии с требованиями РГМ 31.3009-76 и РТМ 31.3012-77, как для незаанкеренных больверков.
3.3.27. Горизонтальное
перемещение верха ячейки
следует определять в соответствии с
требованиями СН 200-62 по формуле
(22)
где y - расстояние от уровня дна до точки поворота ячейки (см. п. п. 3.3.17 настоящего РД);
Hcn - расстояние от отметки кордона до дна;
k1,k2 - коэффициенты, учитывающие влияние конечной жесткости и принимаемые в соответствии с требованиями СН 200-62;
- угол (в радианах) поворота ячейки
бесконечной жесткости, определяемый по формуле
(23)
где E, L, A, kc, t определены в п.п. 3.3.16, 3.3.17 настоящего РД.
3.3.28. При расчете железобетонных элементов сооружения по раскрытию трещин должно быть выполнено условие
(24)
где аТ - величина раскрытия, трещин в элементе, определяемая в соответствии с требованиями СНиП П-56-77
aq - допускаемая величина раскрутил трещин, устанавливаемая в соответствии с требованиями СниП П-28-73.
3.3.29. Для наглядности расчета в Приложении 2 (справочное) приведен пример расчета сооружения ячеистого типа из монолитного железобетона с прямоугольным очертанием ячеек в плане.
Перечень заимствованных нормативно-технических документов указан в Приложении 3 (справочное).
4.1.1. При строительстве причальных сооружений следует руководствоваться нормативными документами, указанными в п. 1.1 настоящего Р.Д.
Ниже приводятся особенности производства работ при строительстве причальных сооружении.
4.1.2. Проектная организация, разрабатывающая технический или техно-рабочий проект причального сооружения, возводимого способом, "стена в грунте", должна составлять и проект организации строительства (ПОС). Проект производства работ (ППР.) должна составлять организация, ведущая строительство, или проектная организация по заказу строителей.
4.1.3. Проект производства работ (ППР), учитывающий местные условия строительной площадки, должен содержать:
а) план строительной площадки со схемой расположения оборудования и устройств для рытья траншей и бетонирования стен под глинистым раствором;
б) перечень оборудования для приготовления и очистки глинистого раствора, схему его размещения на стройплощадке и способы подачи глинистого раствора в траншею;
в) перечень оборудования и технологические схемы производства, работ по рытью траншеи;
г) технологические схемы заполнения траншеи монолитным железобетоном или сборными железобетонными конструкциями;
д) указания по методам и последовательности, выполнения производственных процессов, в том числе в зимнее время, данные о необходимых затратах труда, потребности в материалах, а также по операционному контролю качества работ.
4.1.4. Особое внимание должно быть уделено подготовке строительной площадки с обеспечением на весь период строительства незатопляемости территории. Отметка поверхности площадки должна соответствовать указаниям п. 1.4 настоящего РД. Площадка должна иметь специальные покрытия для передвижения механизмов и транспорта.
Организация строительной площадки, складирование материалов и строительных, конструкции, организация глинистого хозяйства и всех служб по подбору и контролю качества глинистого раствора осуществляется, как и при строительстве других объектов, способом, "стена в грунте".
4.1.5. При техно-экономическом обосновании допускается строительство в зимнее время при температуре до минус 15 °С. При утеплении всех элементов технологической линии по приготовлению, перекачке и очистке глинистого раствора и применении морозостойких растворов в соответствии с требованиями п. 5.5 настоящего РД. Бетонирование конструкций и обеспечение твердения бетона их подводной части должны осуществляться в соответствии с требованиями, действующих нормативных документов по бетонированию в зимнее время.
4.1.6. Для обеспечения устойчивости стенок траншеи и направления механизмов отрывки и бетонирования, необходимо устраивать в ее устье железобетонную форшахту (рис. 12.).
Рекомендуется принимать следующие размены, форшахты:
при прямоугольном сечении высоту 600-800 мм, толщину 400-600 мм,
при Г - образном сечении высоту 600-1200 мм, толщину 300-400 мм.
Расстояние между внутренними гранями форшахты следует принимать на 10-15 см больше ширины отрываемой траншеи. Отметка верха форшахты должна соответствовать указаниям п. 1.4 настоящего РД. Прочность и устойчивость форшахты должна обеспечивать возможность подвешивания на ней армокаркаса или сборных железобетонных панелей во время их монтажа в траншее.
Учитывая, что строительная площадка, расположена вблизи акватории, где меняется уровень воды при волнении, рекомендуется форшахту устраивать из монолитного железобетона. Бетон форшахты следует укладывать на хорошо подготовленное песчано-гравийное основание.
4.1.7. До начала рытья траншеи на форшахте наносятся границы захваток. Траншея разрабатывается непрерывно или в шахматном порядке.
4.1.8. Всю длину причальной стенки рекомендуется разбивать на участки, принимая длину участка не менее 50 м и не более 100 м. На каждом участке следует проводить работы самостоятельно до полного окончания всех видов работ. При наличии механизмов и материалов целесообразно проводить работу параллельно на двух и более участках.
4.1.9. Отрывка грунта перед сооружением, построенным способом "стена в грунте", должна производиться после достижения проектной прочности бетоном монолитных конструкций или материалом заполнения стыков омоноличивания сборных элементов.
Прочность бетона и материала стыков омоноличивания должна устанавливаться испытанием контрольных, образцов, твердевших в условиях аналогичных забетонированной конструкции.
Рис. 12. Конструкции форшахт:
а - прямоугольного сечения; б - гэобразного сечения; 1 - стенка форшахты; 2 - обратная засыпка; 3 - траншея, заполненная глинистым раствором.
4.1.10. Удаление грунта перед сооружением следует производить дноуглубительными снарядами любого типа, а в непосредственной близости у стенок сооружения грейферными земснарядами или грейферными кранами, устанавливаемыми на причале.
После удаления грунта до проектной отметки дна поверхность стен, выполненных способом "стена в грунте", должна быть очищена от грунта гидромонитором.
Примечание. При строительстве в бассейнах (см. п. 1.5 а настоящего РД) и наличии грунтовой перемычки, закрывающей вход в бассейн, для отрывки грунта рекомендуется использовать землеройные машины, применяемые при обычном строительстве.
4.2.1. Выбор механизма для рытья траншеи производится с учетом глубины траншеи.
Перечень отечественного оборудования для рытья траншеи приведен в Приложении 33 "Руководства по производству и приемке работ при устройстве оснований и фундаментов".
Для рытья траншеи глубиной более 13 м следует применять грейферные экскаваторы с телескопическими штангами.
Рекомендуется применять грейферный экскаватор ЭО-5122 с телескопической штангой Воронежского завода, обеспечивающий глубину копания 25 м, ширину траншеи 0,6; 0,8; 1 м. Величина раскрытия грейфера 2,5 м.
Для рытья траншеи глубиной до 13 м рекомендуется применять грейферное оборудование без телескопической штанги.
К разработке траншеи разрешается приступать посла полной инженерной подготовки и изучения технологии строительства сооружения способом "стена в грунте".
4.2.2. Рытье траншеи производится захватками под глинистым раствором. Нумерация захватки должна соответствовать последовательности их разработки.
Устойчивость стен траншеи в процессе ее рытья и до заполнения бетонной смесью обеспечивается глинистым раствором, который должен иметь параметры, предусмотренные СНиП III-9-74, с учетом гидрогеологических условии строительной площадки.
Направление разработки траншеи по захваткам и движение землеройного агрегата, а также его рабочие стоянки доданы быть показаны в ППР.
4.2.3. При рытье траншеи на длину захватки следует обеспечивать бесперебойную подачу глинистого раствора в траншею, добавляя раствор по мере выемки грунта и удерживая его уровень в траншее не ниже 10-20 см от верха форшахты.
Не допускается понижение уровня раствора ниже отметки основания форшахты.
В процессе рытья траншеи должен вестись журнал.
4.2.4. При рытье непрерывной траншеи каждая захватка отрывается на всю длину и глубину частями, равными величине раскрытия грейфера. Перед рытьем следующей захватки на конце предыдущей должен устанавливаться в траншею специальный ограничитель (элемент стыка, см. п. 2.2.10 настоящего РД).
Особое внимание должно быть обращено на вертикальность траншеи.
4.2.5. При рытье траншей в шахматном порядке захватки разрабатываются через одну и на их концах устанавливаются ограничители. После укладки бетона в эти захватки разрабатываются промежуточные захватки. Ограничители могут быть инвентарные, удаляемые после укладки бетона, и постоянные, оставляемые в траншее и образующие стык между захватками (см. п. 2.2.10 настоящего РД).
4.2.6. Устойчивость стенок траншеи в процессе ее разработки заполнения бетоном должна обеспечиваться в течение заданного срока (2¸3 суток).
4.2.7. После разработки траншеи на длину захватки должны быть проверены ее геометрические размеры, очищено дно от осадка. Траншея должна приниматься по акту.
4.2.8. Разработку траншеи на каждой захватке следует начинать только тогда, когда будет, обеспечен полным цикл работ без перерывов по устройству стенки на длину захватки (рытье траншеи, установка армокаркаса и укладка бетона в траншею).
Допускается отрывать траншею не более чем на длину двух захваток с обязательным бетонированием сразу же первой из них.
При наличии верховодки вблизи траншеи она должна быть удалена для обеспечения устойчивости стенок траншеи от обрушения.
4.3.1. После принятия по акту отрытой траншеи на длину захватки на ее границах устанавливаются ограничители.
4.3.2. При применении ограничителя в виде железобетонной перемычки (см. рис. 6) последняя устанавливается в траншее монтажным краном. При траншее глубиной до 10-12 м железобетонная перемычка изготавливается целиком. При траншее большей глубины перемычка должна состоять из двух элементов, которые свариваются между собой в процессе опускания в траншею. Прочность ограничителя должна проверяться на транспортные и монтажные нагрузки.
4.3.3. В случаях, когда конструкция стыка входит в арматурный каркас в виде металлической диафрагмы (см. рис. 7), которая является ограничителем, то при установке армокаркаса в траншею диафрагма должна перекрывать траншею и при укладке бетона удерживать его от проникновения в соседнюю захватку.
4.3.4. Устройство стыков между захватками, которые одновременно должны являться ограничителями, требует плотного соприкасания ограничителя со стенками траншеи, обеспечивающего удержание бетона в бетонируемой захватке. При слабых грунтах и возможных образованиях каверн при рытье траншеи следует к ограничителям приваривать уголки так, чтобы при их опускании в траншею полка уголка врезалась в стенки траншеи на 2-3 см с каждой стороны ограничителя.
4.3.5. Изготовление арматурных каркасов должно производиться на заводе или на стройплощадке. При изготовлении на заводе размеры блоков каркаса и их жесткость до даты обеспечивать возможность транспортирования на стройплощадку.
4.3.6. Жесткость сварного каркаса при его подъеме краном должна исключать возможность его деформации и изменения проектных размеров. При траншее глубиной более 10-12 м каркас должен состоять из двух блоков, имеющих ширину по длине захватки и стыкующихся по длине в процессе опускания в траншею.
После опускания первого блока в траншею он подвешивается на форшахте и второй блок стыкуется с первым, соблюдая вертикальность всего каркаса.
4.3.7. Армокаркас, подвешенный к крюку крана на специальной траверсе, после стыковки блоков приподнимается, снимается с форшахты и после проверки его вертикальности опускается в траншею. Приваренные с обеих сторон каркаса салазки должны свободно проходить в траншее и фиксировать величину защитного слоя бетона. После опускания каркаса в траншею до проектной отметки он подвешивается на форшахте.
4.3.8. После установки арматурного каркаса в траншею и проверка параметров глинистого раствора необходимо сразу же вести подготовку к укладке бетона методом ВПТ. Нахождение армокаркаса в глинистом растворе должно быть минимальным и ограничиваться временем, необходимым на установку бетонолитных труб и воронок для приемки бетонной смеси.
4.4.1. Железобетонные монолитные стены причала следует бетонировать методом ВПТ (вертикально-перемещающейся трубы) отдельными захватками. Бетонная смесь должна доставляться на стройплощадку в автобетоносмесителях равномерно в соответствии с принятой интенсивностью бетонирования.
4.4.2. Бетон следует применять литой с осадкой конуса 16-20 см и крупностью заполнителя до 50 мм. В процессе укладки бетона в траншеи необходимо периодически откачивать вытесняемый излишек глинистого раствора, не допуская снижения его уровня ниже 0,67 высоты форшахты.
4.4.3. Укладка бетона методом ВПТ под глинистым раствором должна производиться в соответствии с требованиями СНиП III-15-76 и Руководства по производству бетонных работ, разработанного ЦНИИОМТП в развитие СНиП III-В1-70, также как под водой. Укладка бетонной смеси производится до момента, когда на поверхности появится чистый бетон и глинистый осадок будет удален с поверхности. При бетонировании лицевых и анкерных стенок больверков бетон укладывается до отметки низа оголовка, в котором закрепляется анкер. Оголовок бетонируется в опалубке после удаления грунта со стороны акватории до отметки низа оголовка.
В процессе бетонирования должен вестись журнал в соответствии с требованиями СНиП III-15-76.
4.4.4. Для укладки бетонной смеси методом ВПТ следует применять инвентарные сборные бетонолитные трубы, имеющие диаметр 150-200 мм и звенья длиной 1500-2000 мм, соединяемые между собой быстроразъемными замками.
В комплект оборудования должны входить:
а) воронка металлическая υ = 0,8 м3;
б) рама опорная;
в) шайба опорная;
г) решетка металлическая.
4.4.5. Бетонолитную трубу следует собирать на горизонтальной площадке, соединяя звенья между собой быстроразъемными замками. Собранная труба поднимается краном и черва опорную рану, установленную на форшахте, опускается в траншею (в специальное отверстие в армокаркасе) и закрепляется на раме с помощью опорной шайбы. На верхней секции трубы устанавливается воронка.
4.4.6. До укладки бетонной смеси необходимо проверить исправность насоса, откачивающего глинистый раствор в процессе бетонирования захватки.
4.4.7. Бетонирование стенки под глинистым раствором следует осуществлять приемами и с очередностью проведения операций, рекомендованных Руководством по производству бетонных работ.
4.4.6 Подъем трубы производится краном и выполнится плавно, не допуская зацепления за армокаркас. Откачка глинистого раствора при бетонировании захватки производится в емкость-отстойник по мере укладки бетона.
4.5.1. Глинистое хозяйство для приготовления, очистки и хранения глинистого раствора рекомендуется организовывать во временном закрытом помещении, в котором должно быть предусмотрено:
а) склад глинопорошка;
б) узел для приготовления раствора (смесители с подачей к ним порошка и воды);
в) емкости для хранения раствора.
При необходимости специальной очистки раствора должна устанавливаться ситогидроциклонная установка.
От емкостей прокладываются трубопроводы, по которым глинистый раствор насосами подается в траншею и обратно откачивается в емкость.
Перечень оборудования для приготовления и очистки глинистого раствора приведен в Разделе 7 "Руководства по производству и приемке работ при устройстве оснований и фундаментов".
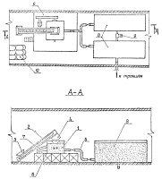
Принципиальная схема глинисторастворного узла приведена на рис. 13
4.5.2. Свойства глинистых растворов должны обеспечивать устойчивость стенок траншеи в процессе ее разработки и на период заполнения бетонной смеси.
Глинистый раствор для заполнения траншей подбирается в лаборатории строительства в соответствии с требованиями СНиП III-9-74, временной инструкцией СН 477-75 и Руководством к ней. Данные по подбору состава глинистого раствора должны содержаться в проекте производства работ.
Для приготовления глинистых растворов, как правило, следует применять бентонитовые глины, а при наличии местные глины (с параметрами: число пластичности не менее 0,2, содержание глинистых частиц размером до 0,001 мм не менее 10 % и частиц размером 0,005 мм не менее 40 %, влажность на границе раскатывания не менее 0,25), которые используются самостоятельно или в сочетании с бентонитовыми глинами.
4.5.3. При определении, качества глин для приготовления растворов, проверке их пригодности, улучшения показателей качества растворов, расчета потребного количества глины, порядка приготовления раствора, проверке показателей качества глинистых суспензий и их восстановления следует руководствоваться Руководством по производству и приемке работ при устройстве оснований и фундаментов.
Рис. 13. Схема глинисторастворного узла:
1 – глиномешалка ГM-2-4; 2 - скребковый транспортер; 3 - загрузочной бункер; 4 - разгрузочной бункер; 5 - трубопровод; 6 - деревянный помост; 7 - электродвигатель; 8 - емкости для глинистого раствора объемом 25-30 м3; 9 - насос для перемешивания раствора С-204; 10 - площадка складирования бентонита;
4.5.4. При проведении работ, в зимних условиях следует применять морозостойкие глинистые растворы. В качестве незамерзающей основы морозоустойчивых растворов следует применять нитрит натрия в сочетании с хлоридом кальция, хлорид натрия, в сочетании с ингибиторами коррозии стали и другие добавки, не обладающие агрессивностью по отношению к металлу и бетону.
Для стабилизации морозоустойчивых растворов могут быть применены химические добавки, обычно используемые для улучшения параметров глинистых и цементных растворов.
4.5.5. На строительной площадке должна находиться полевая лаборатория (ЛГP-3), оснащенная приборами для определения параметре суспензии в процессе строительства. Результаты измерений заносятся в журнал контроля качества глинистого раствора.
4.5.6. Расход глинистого раствора на одну захватку с учетом потерь раствора на фильтрацию и при экскавации грейфером с учетом оборачиваемости раствора определяется по формуле
(25)
где Uтр - объем траншейной захватки;
n -
оборачиваемость раствора, принимаемая обычно равной 2
3
kп - коэффициент учитывающий потери раствора, принимаемый по опытным данным или аналогам, а при отсутствии данных равным 0,4.
4.5.7 Подача глинистого раствора из емкости, объем которой должен быть не менее объема захватки, в траншею выполняется по трубопроводу, проложенному от емкости до траншеи и имеющему диаметр 90-110 мм с помощью насоса 11 ГР.
4.5.8. Откачка раствора из захватки при укладке бетонной смеси и подача его в емкость производится насосом С-204 или другой марки в емкость-отстойник № 1, откуда самотеком подается в емкость-отстойник № 2 для вторичного отстоя.
После отстоя глинистый раствор подается в основную емкость (см. рис. 13), где производится его обогащение путем перемешивания со свежим раствором для последующего использования при рытье следующей захватки. Размеры емкостей принимаются в соответствии с объемом суточной потребности в глинистом растворе.
4.6.1. Строительство причальных сооружений способом "стена в грунте" следует производить под постоянным контролем авторского надзора проектной организации и технадзора заказчика.
4.6.2. Контроль качества работ должен осуществляться техническим аппаратом строительных управлений.
4.6.3. В процессе строительства должен вестись журнал работ и журналы разработки траншеи, контроля качества глинистого раствора и бетонирования в соответствии с требованиями СНиП III-9-74 (Приложения 12, 13, 14).
4.6.4. При устройстве форшахты должны быть проверены геометрические размеры опалубки и расстояние между внутренними гранями форшахты. Отметка верха форшахты должна быть одинаковой по всей ее длине.
4.6.5. В процессе рытья траншеи, следует контролировать глубину и ширину отрытой траншеи и качество глинистого раствора. Качество глинистого раствора должно проверяться в процессе рытья траншей, после проходки, захватки, перед установкой арматурного каркаса и укладкой бетона в траншею.
4.6.6. Форшахта, отрытая траншея, армокаркас и качество бетона должны приниматься по акту.
4.6.7. После удаления грунта у сооружения и расчистки его поверхности гидромонитором следует произвести водолазное освидетельствование поверхности лицевой стенки и ее стыков, а также произвести проверку однородности и качества бетона.
Результаты водолазного осмотра и. проверки качества бетона оформляются актом.
4.6.8. Для проверки однородности и. качества бетона лицевых стенок рекомендуется применять импульсно-акустические и радиометрические методы.
В отдельных случаях по требованию проектной организации и заказчика качество бетона может проверяться выбуриванием и испытанием кернов.
Примечание. Керны рекомендуется выбуривать в ребрах стенок таврового и ребристого сечения, в анкерных стенках, экранирующих элементах или элементах открылков причалов.
4.6.9. Составной частью контрольных работ в процессе строительства и эксплуатации сооружений является геодезический контроль, который должен включать:
а) наблюдения при разработке, траншеи;
б) наблюдения в период установки армокаркасов, бетонирования, монтажа панелей;
в) наблюдения по маркам, установленным на сооружении в процессе возрастания нагрузок;
г) наблюдения в период эксплуатации, продолжительность и цикличность которых устанавливается проектом. Результаты геодезических наблюдений заносятся в специальный журнал.
Примечание. Для осуществления геодезических работ должна быть разбита и закреплена на местности, опорная и наблюдательная сеть знаков и реперов.
4.6.10. Приемка законченных работ по возведению причального сооружения способом "стена в грунте" должна осуществляться на основании следующих материалов:
а) журналов производства работ по строительству сооружения;
б) журналов разработав траншеи, контроля качества глинистого раствора и бетонирования методом ВПТ;
в) актов на скрытые работы по рытью траншей, установке армокаркасов, ограничителей между захватками и укладке бетонной смеси в траншею.
1. Давление грунта на внутренний контур ячейки следует определять так же, как для сооружений силосного типа с учетом равномерно распределенной нагрузки на поверхности грунта внутри ячейки.
2. Ординаты эпюры горизонтальной составляющей давления грунта на внутренний контур ячейки определяются по формуле
(1)
где
- интенсивность
вертикального давления грунта внутри ячейки (п. 3. настоящего Приложения);
- коэффициент бокового, давления грунта, принимаемый в
зависимости от угла внутреннего трения грунта по таблице настоящего Приложения.
Коэффициенты, бокового давления грунта
|
Параметры |
Числовые характеристики бокового давления грунта |
||||||
|
φ, град λ0 |
15 0,82 |
20 0,71 |
25 0,60 |
30 0,50 |
35 0,40 |
40 0,32 |
45 0,25 |
3. Интенсивность вертикального давления грунта внутри ячейки определяется:
при однородном грунте в пределах, высоты-ячейки
(2)
где γ - объемная масса грунта;
g - ускорение силы тяжести, принимаемое равным 9,81м/сек2;
(3)
где у - текущая координата по высоте ячейки;
(4)
где F - площадь поперечного сече ни л ячейки по внутреннему контуру;
U - периметр ячейки по внутреннему контуру;
λ0 - коэффициент бокового давления грунта (см. таблицу настоящего Приложения);
f - коэффициент трения грунта о ячейку, принимаемый равным tg (0,5 φ)
qc - интенсивность равномерно распределенной нагрузки на поверхности грунта внутри ячейки, определяемая по п. 4 настоящего Приложения; при разнородных грунтах в пределах высоты ячейки
(5)
i - порядковый номер слоя грунта с одинаковыми физико-механическими характеристиками в пределах высоты ячейки;
γi - объемная масса грунта i-того слоя;
g - ускорение силы тяжести;
(6)
где y - текущая координата по высоте ячейки;
h0i- величина, определяемая для каждого i-того слоя грунта по формуле (4) п. 3 настоящего Приложения;
- интенсивность вертикального давления грунта внутри
ячейки на поверхности i-того слоя с
учетом нагрузки qc.
4. Интенсивность равномерно распределенной нагрузки на поверхности грунта внутри ячейки qc определяется как осредненное значение всех нагрузок, расположенных в пределах свободного поперечного контура ячейки, по формуле:
(7)
где γ3 - объемная масса грунта засыпки;
g - ускорение силы тяжести;
hc - расстояние от отметки кордона до верха ячейки;
bсв - свободный размер контура ячейки по ширине причала;
qi - интенсивность временной равномерно распределенной нагрузки, расположенной в пределах bсв.;
Bi- полоса нагрузки интенсивностью qi;
b - внутренний размер ячейки по ширине причала.
5. Ординаты эпюры вертикальной составлявшей давления грунта от зависания грунта на внутреннем контуре ячейки определяются по формуле:
(8)
где
- определены в п. 2
настоящего Приложения;
φi - угол внутреннего трения грунта в сечении, для которого определяется давление грунта.
1. УСТАНОВЛЕНИЕ КОМПОНОВОЧНОЙ СХЕМЫ СООРУЖЕНИЯ
1.1. Глубина у причала 15,0 м, отметка кордона +2,5 м. Нагрузка, действующая на поверхности причала, q = 40,0 кПа.
1.2. Грунт выше отметки - 10,0 м- песок с φ = 30˚ объемной массой над водой γ = 1,8 т/м3 и под водой γ = 1,0 т/м3. Грунт между отметками -10,0 м и -23,0 м - супесь с φ = 25˚, с = 9,0 кПа, объемной массой γ = 1,0 т/м3.
Грунт ниже отметки -23,0 м - плотные глины φ = 40°, объемной массой γ = 1,0 т/м3, Е = 60,0 МПа.
1.3. Для расчета принимается сооружение ячеистого типа из монолитного железобетона (бетон марки «300», Еб = 29,0·103 МПа) с прямоугольным очертанием ячеек в плане.
Поперечный размер ячейки принимается равным В = 10,0 м, протяженность ячейки по длине причала L = 6,0 м. Толщина лицевой и тыловой стенок ячейки принимается равной 0,8 м, поперечных - 0,6.м.
Конструктивная схема, сооружения приведена на рис. 1.
Бетонирование осуществляется захватками. Членение ячеек на захватки приведено на рис. 1.
1.4. В первом приближении глубина погружения ячеек принимается равной t = 10,0м.
2. ВЫБОР РАСЧЕТНОЙ СХЕМЫ СООРУЖЕНИЯ
2.1. Равнодействующая внешних горизонтальных нагрузок.

Е = Еа = 0,5(11,6 + 24,4)·2,5 + 0,5(24,4 +52,8)·10,0 + 0,5(55,5 + 101,4)·13,0 + 0,5(58,8 + 62,6)·20,0 = 1572,2 кН/м.
Результаты подсчетов ординат эпюры горизонтальной составляющей активного давления грунта на тыловую грань ячейки σа приведены в табл. 1.
Таблица 1
Активное давление грунта
|
Отм. м |
м |
кПа |
кПа |
кПа |
кПа |
кПа |
кПа |
τα кПа |
|
+2,5
|
0 2,5 |
0 44,1 |
|
0 44,1 |
11,6 24,4 |
|
11,6 24,4 |
3,1 6,5 |
|
-10,0 |
0 10,0 |
0 98,1 |
44,1 44,1 |
44,1 142,2 |
24,4 52,8 |
|
24,4 52,8 |
6,5 14,2 |
|
-10,0 -23,0 |
0 13,0 |
0 127,5 |
142,2 142,2 |
142,2 269,7 |
65,6 111,5 |
10,1 10,1 |
55,5 101,4 |
12,3 22,5 |
|
-23,0 -25,0 |
0 2,0 |
0 19,6 |
269,7 269,7 |
269,7 289,3 |
58,8 62,6 |
|
58,8 62,6 |
21,4 22,8 |
2.2. Равнодействующая внешних вертикальных нагрузок:
N = Gя +Gг + Ев +q0B = 957,4 + 1967,6 + 385,9 + 66,5 10,0 = 3995,9 кН/м,
где Gя = 1/6,0 (2,5 9,81 1,0 + 1,5 9,61 25,0)(10,0 6,0 - 8,4 5,4) = 957,4 кН/м;
Gг = 1/6,0 (1,8 9,81 1,0 + 1,0 9,81 25,0) 8,4 5,4 = 1987,6 кН/м;
Ев = 0,5(3,1 + 6,5) 2,5 + 0,5(6,5 + 14,2) 10,0 + 0,5(12,3 + 22,5) 13,0 + 0,5(21,4 + 22,8) 2,0 = 385,9 кН/м
q0 = 1,8 9,81 1,5 + 40,0 = 66,5 кПа.
Результаты подсчетов ординат эпюры вертикальной составляющей активного давления грунта на тыловую грань ячейки τa приведены в табл. 1.
![]()
где ![]()

2.4. Критерий α < 1, сооружение следует рассчитывать как гравитационную заглубленную стенку.
3. РАСЧЕТ СООРУЖЕНИЯ ПО ПЕРВОЙ ГРУППЕ ПРЕДЕЛЬНЫХ СОСТОЯНИЙ
3.1. Проверка устойчивости сооружения по схеме глубинного сдвига.
3.1.1. Расчет по глубинному сдвигу в предположении круглоцилиндрической поверхности скольжения по программе Крей АК показал, что при глубине погружения ячеек t = 10,0 м устойчивость сооружения обеспечена.
3.2. Проверка достаточности предельной величины отпора для реализации реактивного давления грунта перед ячейкой.
3.2.1. Предельная величина отпора перед ячейкой
![]()
где
- интенсивность
вертикального давления грунта на глубине y
от уровня дна.
Результаты подсчетов ординат эпюры, предельного отпора перед ячейкой σп приведены в табл. 2.
Таблица 2
Предельный отпор перед ячейкой
|
Отм. м |
y м |
кПа |
кПа |
кПа |
кПа |
|
-15,0 -16,0 -16,0 -20,0 -22,0 -23,0 |
0 1,0 3,0 5,0 7,0 8,0 |
0 9,8 29,4 49,0 68,7 78,5 |
0 35,1 105,2 175,4 245,9 281,0 |
0 42,8 42,8 42,8 42,8 42,8 |
0 77,9 148,0 218,2 338,7 323,8 |
|
-23,0 -25,0 |
8,0 10,0 |
78,5 98,1 |
840,7 1050,6 |
|
840,7 1050,6 |
3.2.2. Ординаты эпюры горизонтальной составляющей реактивного давления грунта перед ячейкой.
где
![]()
где ![]()
![]()
где ![]()
где М определено в п. 2.3 настоящего Приложения;
Е определено в п. 2.1 настоящего Приложения;
![]()
![]()
Результаты подсчет ординат эпюры горизонтальной составляющей реактивного давления грунта перед ячейкой σп приведены в табл. 3.
Таблица 3
Реактивное давление грунта перед ячейкой
|
Отм. м |
y м |
м |
кПа |
τr кПа |
|
-15,0 -16,0 -18,0 -20,0 -22,0 -23,0 |
0 1,0 3,0 5,0 7,0 8,0 |
8,9 7,9 5,9 3,9 1,9 0,9 |
0 67,0 150,1 165,4 112,8 61,1 |
0 20,1 45,0 49,6 33,8 18,3 |
|
-23,0 -24,0 -25,0 |
8,0 9,0 10,0 |
0,9 -0,1 -1,1 |
61,1 7,6 -93,3 |
30,7 -3,8 -46,9 |
3.2.3. Условие достаточности считается выполненным, если
![]()
где nc, n ,m ,kн принимаются по
соответственно 1,0; 1,25; 1,15; 1,15;
mg=0,8;
σп, σr определены соответственно в п.п. 3.2.1 , 3.2.2 настоящего Приложения.
Предельной величины отпора достаточно для реализации реактивного давления грунта перед ячейкой (см. рис. 2).

Рис. 2. К проверке достаточности предельной величины отпора:
_______ расчетный предельный отпор
- - - - - - расчетное реактивное давление грунта
3.3. Проверка прочности основания сооружения
3.3.1. Максимальное краевое напряжение σmax по контакту подошвы сооружения с основанием
![]()
где N определено в п. 2.2 настоящего Приложения;
![]()
определено в п. 3.3.2 настоящего Приложения;

3.3.2. Суммарный момент от вертикальных и горизонтальных нагрузок

где Е - определено в п. 2.1 настоящего Приложения;
Eв - определено в п. 2.2 настоящего Приложения;
Еr. = 0,5·67,0·1,0 + 0,5(67,0 + 150,1)·2,0 + 0,5(150,1 + 165,4)·2,0 + 0,5(165,4 + 112,8)·2,0 + 0,5(112,8 + 61,1)1,0 + 0,5(61,1 - 7,6)·1.0 + 0,5(-7,6 - 93,3)·1,0 = 907,7 кН/м
Eв.r. = 0,5·20,1·1,0 + 0,5 (20,1 + 45,0)·2,0 + 0,5(45,0 + 49,6)·2,0 + 0,5(49,6 + 33,8)·2,0 + 0,5(33,8 + 18,3)·1,0 + 0,5(30,7 - 3,8)·1,0 + 0,5(-3,8 - 46,9)·1,0 = 267,1 кН/м;
Eв.c = 0,5(3,6 + 5,6)·1,0 + 0,5(5,6 + 9,1)·5,0 +0,5 (9,1 +11,5)·5,0 + 0,5(11,4 + 13,3)·6,5 + 0,5(13,3 + 14,5)·6,5 + 0,5(12,6 + 13,1)·2,0 = 289,2 кН/м.
Результаты подсчетов ординат эпюры горизонтальной и вертикальной составляющих реактивного давления грунта σr и τr приведены в табл. 3.
Ординаты эпюры вертикальной составляющей давления грунта от зависания грунта на внутреннем контуре ячейки определены в п. 3.3.3 настоящего Приложения.
3.3.3. Ординаты эпюры вертикальной составляющей давления грунта от зависания грунта на внутреннем контуре ячейки
![]()
где
- интенсивность
вертикального давления, грунта внутри ячейки на глубине y от ее
верха.
![]()
где

![]()
где
F = b·l = 8,4·5,4 = 45,4 м2;
U = 2(b + l) = 2(8,4 + 5,4) = 27,6 м;


Результаты подсчетов ординат
эпюры вертикальной составляющей давления грунта
приведены в табл. 4.
3.3.4. Расчетное давление на грунт основания, определенное в соответствии с требованиями СНиП II-15-74, равно:
Rгр = 1475,0 кПа.
3.3.5. Условие прочности основания считается выполненным, если
σmax ≤ Rгр ; 1373,6 кПа < 1475,0 кПа,
где σmax, Rгр определены соответственно в пп. 3.3.1, 3.3.4 настоящего Приложения.
Условие прочности выполнено.
3.4. Определение усилий в элементах сооружениям расчет их прочности.
3.4.1. Ординаты эпюры горизонтальной составляющей давления грунта на внутренний контур ячейки
Таблица 4
Давление грунта на внутренний контур ячейки
|
Отм. м |
м |
м |
м |
кПа |
кПа |
кПа |
кПа |
кПа |
кПа |
|
+1,0 +0,0 |
0 1,0 |
0 0,081 |
0 0,079 |
0 17,1 |
26,5 26,5 |
1,000 0,921 |
26,5 24,4 |
26,5 41,5 |
3,6 5,6 |
|
5,0 -10,0 |
0 5,0 10,0 |
0 0,406 0,813 |
0 0,333 0,557 |
0 40,2 67,2 |
41,5 41,5 41,5 |
1,000 0,667 0,443 |
41,5 27,7 18,4 |
41,5 67,9 85,6 |
5,6 9,1 11,5 |
|
-10,0 -16,5 -23,0 |
0 6,5 13,0 |
0 0,528 1,057 |
0 0,410 0,653 |
0 49,5 78,8 |
85,6 85,6 85,6 |
1,000 0,590 0,347 |
85,6 50,5 29,7 |
85,6 100,0 108,5 |
11,4 13,3 14,5 |
|
-23,0 -25,0 |
0 ? |
0 0,142 |
0 0,133 |
0 18,4 |
108,5 106,5 |
0 0,867 |
108,5 9,4,1 |
108,5 112,5 |
12,6 13,1 |
![]()
где
- интенсивность
вертикального давления грунта внутри ячейки на глубине y от ее верха;
![]()
Результаты подсчетов ординат
эпюры горизонтальной составляющей давления грунта
приведены в табл. 5.
3.4.2. Максимальный изгибающий момент в средней захватке лицевой стенки ячейки
![]()
где
- максимальное значение горизонтальной
составляющей давления грунта на внутренний контур ячейки (табл. 5 настоящего Приложения);
l = 3,5 м (см. рис. 1 настоящего Приложения).
3.4.3. Максимальный изгибающий момент в консолях тавровых вахваток лицевой стенки ячейки
![]()
где
определено в табл. 5 настоящего Приложения).
lк (см. рис. 1 настоящего Приложения).
3.4.4. Усилие среза для рабочего стыка лицевой стенки ячейки
где
определено в табл. 5
настоящего Приложения;
lср = 3,5м (см. рис. 1 настоящего Приложения).
Давление грунта на внутренний контур ячейки
|
Отм. м |
м |
м |
|
кПа |
кПа |
|
кПа |
кПа |
кПа |
|
+1,0 ±0,0 |
1,0 |
0 0,081 |
0 0,079 |
0 17,1 |
66,5 66,5 |
1,000 0,921 |
66,5 51,2 |
66,5 78,3 |
33,2 39,2 |
|
±0,0 -5,0 -10,0 |
0 5,0 10,0 |
0 0,406 0,813 |
0 0,333 0,557 |
0 40,2 67,2 |
78,3 78,3 78,3 |
1,000 0,667 0,443 |
78,3 52,2 34,7 |
78,3 92,4 101,9 |
39,2 46,2 50,9 |
|
-10,0 -1,5 -23,0 |
0 6,5 13,0 |
0 0,528 1,057 |
0 0,410 0,653 |
0 49,5 78,8 |
101,9 101,9 101,9 |
1,000 0,590 0,347 |
101,9 60,1 35,4 |
101,9 109,6 114,2 |
61,1 65,8 68,5 |
|
-23,0 -25,0 |
0 2,0 |
0 0,142 |
0 0,133 |
0 18,4 |
114,2 114,2 |
0 0,867 |
14,2 99,0 |
114,2 117,4 |
36,5 37,6 |
3.4.5. Растягивающие усилия в поперечной стенке ячейки.
![]()
где
определено в табл. 5
настоящего Приложения.
3.4.6. Расчетные значения усилий в элементах
сооружения определяются в соответствии с требованиями
.
3.4.7. Железобетонные элементы сооружения на прочность рассчитываются в соответствии с требованиями СНиП II-21-75 и СНиП II-56-77, металлические элементы рабочих стыков, в соответствии с требованиями СНиП II-В.3-72.
4. РАСЧЕТ СООРУЖЕНИЯ ПО ВТОРОЙ ГРУППЕ ПРЕДЕЛЬНЫХ СОСТОЯНИЙ
4.1. Определение общих смещений сооружения.
4.1.1. Угол поворота сооружения
![]()
где E, L, A, kc, t определены в п. 3.2.2 настоящего Приложения (расчетное значение характеристик грунтов равно нормативному).
4.1.2. Допускаемая величина угла поворота, принятая в соответствии с требованиями РТМ. 31.3012-77 как для незаанкеренных больверков, равна.
θд = 0,0020 рад,
4.1.3. Условие по углу поворота сооружения Считается выполненным, если
θ ≤ θд ; 0,0019 рад < 0,0020 рад,
где θ, θд определены соответственно в п.п. 4.1,1; 4.1.2 настоящего Приложения.
Условие выполнено.
4.1.4. Горизонтальное перемещение верха сооружения
![]()
где θ определено в п. 4.1.1 настоящего Приложения;
y0 определено в п. 3.2.2 настоящего Приложения;
k1,k2 принимаются в соответствии с требованиями СН 300-62.
4.1.5. Допускаемая величина горизонтального перемещения верха сооружения
![]()
где θд определено в п. 4.1.2 настоящего Приложения.
4.1.6. Условие по горизонтальному перемещению верха сооружения считается выполнено, если
∆ ≤ ∆д ;
0,0050 рад < 0,0053 рад,
где ∆, ∆д определено соответственно в пп. 4.1.4, 4.1.5 настоящего Приложения.
Условие выполнено.
4.2. Определение величины раскрытия трещин в железобетонных элементах конструкции
4.2.1. Величины раскрытия трещин в железобетонных изгибаемых и растянутых стенках ячеек определяются в соответствии с требованиями СНиП II-56-77 по значениям Мmax и Т, определенных в пп. 3.4.2, 3.4.3, 3.4.5 настоящего Приложения.
СНиП II-10-71 Строительные конструкции и основания. Основные положения проектирования.
СНиП II-28-73 Защита строительных конструкций от коррозии.
СНиП II-15-74 Основания зданий и сооружений.
СНиП II-51-74 Гидротехнические сооружения морские. Основные положения проектирования.
СНиП II-21-75 Бетонные и железобетонные конструкции.
СНиП II-16-76 Основания гидротехнических сооружений.
СНиП II-56-77 Бетонные и железобетонные конструкции гидротехнических сооружений.
СНиП III-9-74 Правила производства и приемки работ. Основания и фундаменты.
СНиП III-15-76 Бетонные и железобетонные конструкции монолитные.
Указания по
обеспечению долговечности бетонных и железобетонных конструкций морских
гидротехнических сооружений.
Указания по
расчету обшей, устойчивости портовых причальных сооружений по методу
разрушающих усилий.
Инструкция по
проектированию морских причальных сооружений.
СН-РФ 54.1-68 Указания по проектированию причальных набережных, утвержденные Минречфлота РСФСР 28.II-68 г.
СН. 200-62 Технические условия проектирования железнодорожных, автодорожных и городских мостов и труб.
СН 477-75 Временная инструкция по проектированию стен сооружений и противофильтрационных завес, устраиваемых способом "стена в грунте".
ТУ 5-679-78 Технические условия на изготовление анкерного оборудования из круглого, проката.
РТМ 31.3009-76 Правила технической эксплуатации портовых сооружений и акваторий.
РТМ 31.3012-77 Руководство по расчету оснований причальных, сооружений распорного типа на слабых грунтах по деформациям.
РТМ 31.3013-77 Руководство по расчету морских гидротехнических сооружений из оболочек большого диаметра.
РТМ 31.3016-78 Указания по проектированию больверков с учетом перемещений и деформации элементов.
Руководство по производству и приемке работ при устройстве оснований и фундаментов, разработанное НИИОСП им. М.Н. Герсеванова в развитие СНиП III-9-74.
Руководство по производству бетонных работ, разработанное ЦНИИОМТП в развитии СНиП III-В1-70.
Руководство по проектированию стен сооружений и противофильтрационных завес, устраиваемых способом "стена в грунте", разработанное НИИОСП. им. М.Н. Герсеванова в развитие СН 477-75.