
ГОСУДАРСТВЕННЫЙ СТАНДАРТ СОЮЗА ССР
ПЕРЕВОДНИКИ
ДЛЯ БУРИЛЬНЫХ КОЛОНН
ТЕХНИЧЕСКИЕ УСЛОВИЯ
ГОСТ 7360-82
Е
ГОСУДАРСТВЕННЫЙ КОМИТЕТ СССР ПО СТАНДАРТАМ
МОСКВА
РАЗРАБОТАН Министерством нефтяной промышленности
ИСПОЛНИТЕЛИ
В. Ф. Кузнецов; Д. Н. Полячек, канд. техн. наук (руководитель темы); В. Д. Шепелев (руководитель темы); В. С. Краснова; Л. Б. Милевская
ВНЕСЕН Министерством нефтяной промышленности
Зам. министра В. И. Игревский
УТВЕРЖДЕН И ВВЕДЕН В ДЕЙСТВИЕ Постановлением Государственного комитета СССР по стандартам от 29 января 1982 г. № 383.
ГОСУДАРСТВЕННЫЙ СТАНДАРТ СОЮЗА ССР
|
ПЕРЕВОДНИКИ ДЛЯ БУРИЛЬНЫХ КОЛОНН Технические условия Drill-stem subs. Technical conditions |
ГОСТ Взамен |
Постановлением Государственного комитета СССР по стандартам от 29 января 1982 г. № 383 срок действия установлен
с 01.01.1983 г.
до 01.01.1988 г.
Настоящий стандарт распространяется на переводники для соединения между собой частей бурильной колонны и присоединения к ней инструмента, применяемого при бурении скважин, изготовляемые для нужд народного хозяйства и для экспорта.
1.1. Переводники должны изготовляться типов:
П - переходные;
М - муфтовые;
Н - ниппельные.
1.2. Переводники каждого типа должны изготовляться с правыми и левыми резьбами исполнений:
1 - цилиндрической конфигурации;
2 - ступенчатой конфигурации.
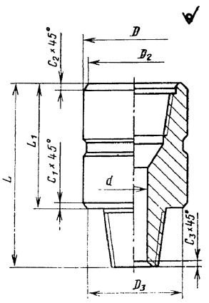
1.3. Размеры переводников типа П должны соответствовать указанным на черт. 1, 2 и 3 и в табл. 1; типа М указаны на черт. 4, 5 и 7а и в табл. 2, типа Н - указанным на черт. 6 и 7 и в табл. 2.
(Измененная редакция, Изм. № 1).
1.4. Применяемость переводников приведена в приложении 1.
Взаимозаменяемость резьб, предусмотренных настоящим стандартом, и резьб по стандарту API 7 приведена в справочном приложении 2.
(Введен дополнительно, Изм. № 1).
Черт. 1
Черт. 2
Черт. 3
Черт. 4
Черт. 5
Черт. 6
Черт. 7
Черт. 7а
(Измененная редакция, Изм. № 1).
Таблица 1
Размеры в мм
|
Обозначение замковой резьбы |
Номер чертежа |
Общая длина L |
Длина ступени |
Размер фаски |
Наружный диаметр переводника D (пред. откл. ±0,5) |
Наружный диаметр ступени D1 (пред. откл. ±0,5) |
Диаметр упорного торца и упорного уступа |
Внутренний диаметр d (пред. откл. ±0,6) |
Диаметр фаски ниппеля d*1 |
Расчетная масса, кг |
|||||||
|
муфтовый конец |
ниппельный конец |
номин. |
пред. откл. |
L*1 |
L2 (пред. откл. +5 -0) |
с1 (пред. откл. ±0,25) |
с2 (пред. откл. ±0,25) |
с3 (пред. откл. ±0,30 |
D*2 |
D*3 |
|||||||
|
П-76/88 |
З-76 |
З-88 |
1 |
395 |
+30 -10 |
300 |
- |
2,25 |
|
|
113 |
- |
91,0 |
108,5 |
38 |
- |
21,9 |
|
П-86/66 |
З-86 |
З-66 |
1 |
356 |
280 |
- |
15,75 |
2,25 |
- |
108 |
- |
103,5 |
76,6 |
25 |
- |
16,9 |
|
|
П-86/73 |
З-86 |
З-73 |
1 |
356 |
280 |
- |
12,75 |
2,25 |
- |
108 |
- |
103,5 |
82,5 |
44 |
- |
15,4 |
|
|
П-86/76 |
З-86 |
З-76 |
1 |
369 |
280 |
- |
8,50 |
2,25 |
- |
108 |
- |
103,5 |
91,0 |
32 |
- |
17,0 |
|
|
П-86/88 |
З-86 |
З-88 |
1 |
395 |
300 |
- |
4,75 |
2,25 |
- |
113 |
- |
103,5 |
108,5 |
38 |
- |
20,4 |
|
|
П-86/101 |
З-86 |
З-101 |
1 |
420 |
325 |
- |
7,25 |
2,00 |
4,0 |
118 |
- |
103,5 |
114,0 |
54 |
62 |
23,0 |
|
|
П-88/88 |
З-88 |
З-88 |
1 |
395 |
+30 -10 |
300 |
- |
2,25 |
2,25 |
- |
113 |
- |
108,5 |
108,5 |
38 |
- |
20,7 |
|
П-88/101 |
З-88 |
З-101 |
1 |
420 |
325 |
- |
7,25 |
2,00 |
2,0 |
118 |
- |
103,5 |
114,0 |
58 |
62 |
22,2 |
|
|
П-88/121 |
З-88 |
З-121 |
2 |
500 |
+35 -5 |
203 |
178 |
2,75 |
2,25 |
11,0 |
146 |
113 |
108,5 |
140,5 |
58 |
80 |
37,8 |
|
П-101/88 |
З-101 |
З-88 |
1 |
420 |
+30 -10 |
325 |
- |
2,00 |
7,25 |
- |
118 |
- |
114,0 |
103,5 |
38 |
- |
23,5 |
|
П-101/102 |
З-101 |
З-102 |
1 |
437 |
335 |
- |
3,00 |
2,00 |
4,0 |
120 |
- |
114,0 |
116,0 |
62 |
70 |
22,2 |
|
|
П-101/117 |
З-101 |
З-117 |
2 |
500 |
+35 -5 |
203 |
178 |
2,00 |
2,75 |
- |
140 |
118 |
114,0 |
134,5 |
58 |
- |
34,8 |
|
П-101/121 |
З-101 |
З-121 |
2 |
497 |
203 |
178 |
2,00 |
2,75 |
9,0 |
146 |
118 |
114,0 |
140,5 |
62 |
80 |
36,5 |
|
|
П-102/88 |
З-102 |
З-88 |
1 |
430 |
+30 -10 |
335 |
- |
2,00 |
8,25 |
- |
120 |
- |
116,0 |
103,5 |
38 |
- |
24,0 |
|
П-102/101 |
З-102 |
З-101 |
1 |
430 |
335 |
- |
2,00 |
3,00 |
- |
120 |
- |
116,0 |
114,0 |
62 |
- |
20,8 |
|
|
П-102/117 |
З-102 |
З-117 |
2 |
499 |
+35 -5 |
203 |
178 |
2,75 |
2,00 |
- |
140 |
120 |
116,0 |
134,5 |
58 |
- |
34,5 |
|
П-102/121 |
З-102 |
З-121 |
2 |
496 |
203 |
178 |
2,75 |
2,00 |
- |
146 |
120 |
116,0 |
140,5 |
78 |
- |
30,9 |
|
|
П-108/88 |
З-108 |
З-88 |
3 |
451 |
178 |
178 |
2,27 |
2,25 |
- |
133 |
113 |
108,5 |
127,5 |
38 |
- |
27,0 |
|
|
П-108/101 |
З-108 |
З-101 |
3 |
459 |
178 |
178 |
2,75 |
2,00 |
- |
133 |
118 |
114,0 |
127,5 |
62 |
- |
24,6 |
|
|
П-108/102 |
З-108 |
З-102 |
3 |
465 |
178 |
178 |
2,75 |
2,00 |
- |
133 |
120 |
116,0 |
127,5 |
70 |
- |
23,5 |
|
|
П-108/117 |
З-108 |
З-117 |
1 |
463 |
+30 -10 |
355 |
- |
6,25 |
2,75 |
- |
140 |
- |
127,5 |
134,5 |
58 |
- |
35,5 |
|
П-108/121 |
З-108 |
З-121 |
2 |
490 |
+35 -5 |
203 |
178 |
2,75 |
2,75 |
4,0 |
146 |
133 |
127,5 |
140,5 |
72 |
80 |
35,0 |
|
П-117/121 |
З-117 |
З-121 |
1 |
457 |
+30 -10 |
355 |
- |
5,75 |
2,75 |
- |
146 |
- |
134,5 |
140,5 |
78 |
- |
33,5 |
|
П-117/147 |
З-117 |
З-147 |
2 |
523 |
+35 -5 |
203 |
178 |
3,75 |
2,75 |
11,5 |
178 |
140 |
134,5 |
170,5 |
78 |
101 |
55,8 |
|
П-121/86 |
З-121 |
З-86 |
3 |
489 |
+ 35 -5 |
203 |
178 |
2,75 |
2,25 |
- |
146 |
108 |
103,5 |
140,5 |
54 |
- |
29,1 |
|
П-121/101 |
З-121 |
З-101 |
3 |
490 |
203 |
178 |
2,75 |
2,00 |
- |
146 |
118 |
114,0 |
140,5 |
62 |
- |
31,0 |
|
|
П-121/102 |
З-121 |
З-102 |
3 |
496 |
203 |
178 |
2,75 |
2,00 |
- |
146 |
120 |
116,0 |
140,5 |
70 |
- |
29,5 |
|
|
П-121/108 |
З-121 |
З-108 |
3 |
502 |
203 |
178 |
2,75 |
2,75 |
- |
146 |
133 |
127,5 |
140,5 |
72 |
- |
33,0 |
|
|
П-121/121 |
З-121 |
З-121 |
1 |
457 |
+30 -10 |
355 |
- |
2,75 |
2,75 |
- |
146 |
- |
140,5 |
140,5 |
80 |
- |
32,2 |
|
П-121/122 |
З-121 |
З-122 |
1 |
469 |
355 |
- |
2,75 |
2,75 |
- |
146 |
- |
140,5 |
140,5 |
80 |
- |
33,3 |
|
|
П-121/133 |
З-121 |
З-133 |
1 |
484 |
370 |
- |
7,25 |
2,25 |
7,5 |
155 |
- |
140,5 |
150,5 |
80 |
95 |
42,6 |
|
|
П-121/147 |
З-121 |
З-147 |
2 |
524 |
+35 -5 |
203 |
178 |
3,75 |
2,75 |
10,5 |
178 |
146 |
140,5 |
170,5 |
80 |
101 |
55,9 |
|
П-121/161 |
З-121 |
З-161 |
2 |
537 |
203 |
178 |
2,50 |
2,75 |
20,0 |
203 |
146 |
140,5 |
180,0 |
80 |
120 |
73,2 |
|
|
П-122/101 |
З-122 |
З-101 |
3 |
490 |
+35 -5 |
203 |
178 |
2,75 |
2,00 |
- |
146 |
118 |
114,0 |
140,5 |
62 |
- |
29,0 |
|
П-122/102 |
З-122 |
З-102 |
3 |
496 |
203 |
178 |
2,75 |
2,00 |
- |
146 |
120 |
116,0 |
140,5 |
70 |
- |
28,0 |
|
|
П-122/108 |
З-122 |
З-108 |
3 |
502 |
203 |
178 |
2,75 |
2,75 |
- |
146 |
133 |
127,5 |
140,5 |
72 |
- |
31,8 |
|
|
П-122/117 |
З-122 |
З-117 |
1 |
463 |
+30 -10 |
355 |
- |
2,75 |
5,75 |
- |
146 |
- |
140,5 |
134,5 |
58 |
- |
37,0 |
|
П-122/121 |
З-122 |
З-121 |
1 |
457 |
355 |
- |
2,75 |
2,75 |
- |
146 |
- |
140,5 |
140,5 |
80 |
- |
31,0 |
|
|
П-122/133 |
З-122 |
З-133 |
1 |
484 |
370 |
- |
7,25 |
2,25 |
- |
155 |
- |
140,5 |
150,5 |
95 |
- |
35,6 |
|
|
П-122/147 |
З-122 |
З-147 |
2 |
524 |
+35 -5 |
203 |
178 |
3,75 |
2,75 |
3,0 |
178 |
146 |
140,5 |
170,5 |
95 |
101 |
48,2 |
|
П-133/101 |
З-133 |
З-101 |
3 |
495 |
+35 -5 |
203 |
178 |
2,25 |
2,00 |
- |
155 |
118 |
114,0 |
150,5 |
62 |
- |
31,0 |
|
П-133/108 |
З-133 |
З-108 |
3 |
506 |
203 |
178 |
2,25 |
2,75 |
- |
155 |
133 |
127,5 |
150,5 |
72 |
- |
33,9 |
|
|
П-133/117 |
З-133 |
З-117 |
3 |
497 |
203 |
178 |
2,25 |
2,75 |
- |
155 |
140 |
134,5 |
150,5 |
58 |
- |
40,0 |
|
|
П-133/121 |
З-133 |
З-121 |
1 |
482 |
+30 -10 |
370 |
- |
2,25 |
7,25 |
- |
155 |
- |
150,5 |
140,5 |
80 |
- |
36,0 |
|
П-133/122 |
З-133 |
З-122 |
1 |
484 |
370 |
- |
2,25 |
7,25 |
- |
155 |
- |
150,5 |
140,5 |
82 |
- |
37,0 |
|
|
П-133/140 |
З-133 |
З-140 |
1 |
510 |
390 |
- |
10,75 |
3,75 |
- |
172 |
- |
150,5 |
160,5 |
70 |
- |
59,0 |
|
|
П-133/147 |
З-133 |
З-147 |
2 |
520 |
+35 -5 |
203 |
178 |
3,75 |
2,25 |
- |
178 |
155 |
150,5 |
170,5 |
101 |
- |
46,1 |
|
П-133/152 |
З-133 |
З-152 |
2 |
529 |
203 |
178 |
5,50 |
2,25 |
- |
197 |
155 |
150,5 |
186,0 |
89 |
- |
63,0 |
|
|
П-133/161 |
З-133 |
З-161 |
2 |
532 |
203 |
178 |
2,50 |
2,25 |
7,5 |
203 |
155 |
150,5 |
180,0 |
105 |
120 |
61,1 |
|
|
П-147/121 |
З-147 |
З-121 |
3 |
516 |
+35 -5 |
220 |
178 |
3,75 |
2,75 |
- |
178 |
146 |
140,5 |
170,5 |
80 |
- |
45,0 |
|
П-147/122 |
З-147 |
З-122 |
3 |
528 |
220 |
178 |
3,75 |
2,75 |
- |
178 |
146 |
140,5 |
170,5 |
82 |
- |
45,0 |
|
|
П-147/133 |
З-147 |
З-133 |
3 |
524 |
220 |
178 |
3,75 |
2,25 |
- |
178 |
155 |
150,5 |
170,5 |
95 |
- |
44,0 |
|
|
П-147/140 |
З-147 |
З-140 |
1 |
510 |
+30 -10 |
390 |
- |
3,75 |
6,75 |
- |
178 |
- |
170,5 |
164,5 |
70 |
- |
60,0 |
|
П-147/147 |
З-147 |
З-147 |
1 |
517 |
390 |
- |
3,75 |
3,75 |
- |
178 |
- |
170,5 |
170,5 |
101 |
- |
51,0 |
|
|
П-147/152 |
З-147 |
З-152 |
1 |
517 |
390 |
- |
13,25 |
5,50 |
- |
197 |
- |
170,5 |
186,5 |
89 |
- |
74,0 |
|
|
П-147/161 |
З-147 |
З-161 |
1 |
517 |
390 |
- |
7,25 |
2,50 |
9,5 |
185 |
- |
170,5 |
180,0 |
101 |
120 |
60,0 |
|
|
П-147/171 |
З-147 |
З-171 |
2 |
521 |
+35 -5 |
203 |
178 |
3,50 |
3,75 |
13,0 |
203 |
178 |
170,5 |
196,0 |
101 |
127 |
62,8 |
|
П-152/121 |
З-152 |
З-121 |
3 |
526 |
+35 -5 |
220 |
178 |
5,50 |
2,75 |
- |
197 |
146 |
140,5 |
186,0 |
80 |
- |
55,0 |
|
П-152/147 |
З-152 |
З-147 |
1 |
517 |
+30 -10 |
390 |
- |
5,50 |
13,25 |
- |
197 |
- |
186,0 |
170,5 |
101 |
- |
67,0 |
|
П-152/171 |
З-152 |
З-171 |
1 |
517 |
390 |
- |
8,50 |
3,50 |
2,5 |
203 |
- |
186,0 |
196,0 |
122 |
127 |
67,4 |
|
|
П-161/147 |
З-161 |
З-147 |
1 |
517 |
390 |
- |
2,50 |
7,25 |
- |
185 |
- |
180,0 |
170,5 |
101 |
- |
53,0 |
|
|
П-161/171 |
З-161 |
З-171 |
2 |
538 |
+ 35 -5 |
220 |
178 |
5,50 |
3,50 |
- |
229 |
203 |
196,0 |
218,0 |
127 |
- |
81,3 |
|
П-161/177 |
З-161 |
З-177 |
1 |
523 |
+30 -10 |
390 |
- |
5,00 |
14,50 |
- |
225 |
- |
196,0 |
215,0 |
102 |
- |
97,3 |
|
П-171/147 |
З-171 |
З-147 |
3 |
538 |
+ 35 -5 |
220 |
178 |
3,50 |
3,75 |
- |
203 |
178 |
170,5 |
196,0 |
101 |
- |
61,0 |
|
П-171/171 |
З-171 |
З-171 |
1 |
517 |
+30 -10 |
390 |
- |
3,50 |
3,50 |
- |
203 |
- |
196,0 |
196,0 |
127 |
- |
59,4 |
|
П-171/177 |
З-171 |
З-177 |
1 |
523 |
390 |
- |
7,00 |
5,50 |
- |
229 |
- |
218,0 |
215,0 |
101 |
- |
99,0 |
|
|
П-171/201 |
З-171 |
З-201 |
2 |
518 |
+35 -5 |
203 |
178 |
5,75 |
5,50 |
- |
254 |
229 |
218,0 |
242,5 |
121 |
- |
115,0 |
|
П-177/171 |
З-177 |
З-171 |
1 |
517 |
+30 -10 |
390 |
- |
5,00 |
14,50 |
12,5 |
225 |
- |
215,0 |
196,0 |
102 |
127 |
93,0 |
|
П-201/177 |
З-201 |
З-177 |
1 |
533 |
400 |
- |
19,50 |
5,75 |
- |
254 |
- |
242,5 |
215,0 |
101 |
- |
118,2 |
|
|
П-201/201 |
З-201 |
З-201 |
1 |
537 |
400 |
- |
5,75 |
5,75 |
- |
254 |
- |
242,5 |
242,5 |
120 |
- |
121,9 |
|
|
П-76/76 |
З-76 |
З-76 |
1 |
369 |
+30 -10 |
280 |
- |
2,00 |
2,00 |
- |
95 |
- |
91,0 |
91,0 |
32 |
- |
13,6 |
|
П-88/76 |
З-88 |
З-76 |
1 |
389 |
+35 -5 |
300 |
- |
11,00 |
2,25 |
- |
113 |
- |
108,5 |
91,0 |
32 |
- |
20,3 |
|
П-101/76 |
З-101 |
З-76 |
3 |
482 |
203 |
178 |
2,00 |
2,00 |
- |
118 |
95 |
91,0 |
114,0 |
32 |
- |
22,2 |
|
|
П-117/117 |
З-117 |
З-117 |
1 |
463 |
+30 -10 |
355 |
- |
2,75 |
2,75 |
- |
140 |
- |
134,5 |
134,5 |
58 |
- |
36,0 |
|
П-121/88 |
З-121 |
З-88 |
3 |
493 |
+35 -5 |
203 |
178 |
2,75 |
2,25 |
- |
146 |
113 |
108,5 |
140,5 |
38 |
- |
32,6 |
|
П-121/117 |
З-121 |
З-117 |
1 |
463 |
+30 -10 |
355 |
- |
5,75 |
2,75 |
- |
146 |
- |
140,5 |
134,5 |
58 |
- |
38,4 |
|
П-147/117 |
З-147 |
З-117 |
3 |
525 |
+35 -5 |
220 |
178 |
3,75 |
2,75 |
- |
178 |
140 |
134,5 |
170,5 |
58 |
- |
47,7 |
|
П-152/152 |
З-152 |
З-152 |
1 |
517 |
+30 -10 |
390 |
- |
5,50 |
5,50 |
- |
197 |
- |
186,0 |
186,0 |
89 |
- |
73,5 |
|
П-171/121 |
З-171 |
З-121 |
3 |
529 |
+35 -5 |
220 |
178 |
3,50 |
2,75 |
- |
203 |
146 |
140,5 |
196,0 |
80 |
- |
49,4 |
|
П-171/133 |
З-171 |
З-133 |
3 |
536 |
220 |
178 |
3,50 |
2,25 |
- |
203 |
155 |
150,5 |
196,0 |
95 |
- |
48,9 |
|
|
П-171/152 |
З-171 |
З-152 |
1 |
517 |
+30 -10 |
390 |
- |
8,50 |
3,50 |
- |
203 |
- |
196,0 |
186,0 |
89 |
- |
74,3 |
* Размеры для справок.
Примечание. В случае использования бурильных труб с приваренными замками ЗП-162 допускается изготовлять переводники П-121/133, 11-133/121, П-133/122, П-133/147, П-133/161 и П-147/133 - с наружным диаметром D = 162 мм.
(Измененная редакция, Изм. № 1).
Таблица 2
Размеры в мм
|
Обозначение замковой резьбы |
Номер чертежа |
Общая длина L |
Длина ступени |
Размер фаски |
Наружный диаметр переводника D (пред. откл. ±0,5) |
Наружный диаметр ступени D1 (пред. откл. ±0,5) |
Диаметр упорного торца и упорного уступа |
Внутренней диаметр d* (пред. откл. ±0,6) |
Диаметр фаски ниппеля d*1 |
Расчетная масса, кг |
|||||||
|
Верхний конец |
Нижний конец |
номин. |
пред. откл. |
L*1 |
L2 (пред. откл. ±0,25) |
с1 (пред. откл. ±0,25) |
с2 (пред. откл. ±0,25) |
с3 (пред. откл. ±0,25 |
D*2 |
D*3 |
|||||||
|
М-73/66 М-73/76 |
З-73 З-73 |
З-66 З-76 |
4 4 |
300 325 |
+30 -10 |
- - |
- - |
4,75 1,65 |
1,75 6,25 |
- - |
86 95 |
- - |
82,5 82,5 |
76,5 91,7 |
36 44 |
- - |
8,5 11,3 |
|
М-86/76 |
З-86 |
З-76 |
7а |
363 |
+35 -5 |
178 |
178 |
2,00 |
2,25 |
- |
108 |
95 |
103,5 |
91,0 |
45 |
- |
14,4 |
|
М-86/88 М-88/88 М-101/88 |
З-86 З-88 З-101 |
З-88 З-88 З-88 |
4 4 4 |
325 325 325 |
+30 -10 |
- - |
- - |
4,3 4,3 6,8 |
4,75 2,25 2,00 |
- - - |
113 113 118 |
- - - |
103,5 108,5 114,0 |
104,4 104,4 104,4 |
54 58 58 |
- - - |
15,7 15,4 16,4 |
|
М-108/88 |
З-108 |
З-88 |
7а |
366 |
+35 -5 |
178 |
178 |
4,3 |
2,75 |
- |
133 |
113 |
127,5 |
104,4 |
58 |
- |
20,0 |
|
М-117/117 |
З-117 |
З-117 |
4 |
355 |
+30 -10 |
- |
- |
2,25 |
2,75 |
- |
140 |
- |
134,5 |
135,5 |
78 |
- |
23,3 |
|
М-121/88 |
З-121 |
З-88 |
7а |
398 |
+35 -5 |
178 |
203 |
4,3 |
2,75 |
- |
146 |
113 |
140,5 |
104,4 |
58 |
- |
26,0 |
|
М-121/117 М-121/121 М-133/117 |
З-121 З-121 З-133 |
З-117 З-121 З-117 |
4 4 4 |
355 355 385 |
+30 -10 |
- - - |
- - - |
5,25 2,35 9,75 |
2,75 2,75 2,25 |
- - - |
146 146 155 |
- - - |
140,5 140,5 150,5 |
135,5 141,3 135,5 |
78 80 78 |
- - - |
24,8 24,9 32,0 |
|
М-147/117 М-147/121 |
З-147 З-147 |
З-117 З-121 |
7а 7а |
400 397 |
+35 -5 |
178 178 |
203 203 |
2,25 2,75 |
3,75 2,35 |
- - |
178 178 |
140 146 |
170,5 170,5 |
135,5 141,3 |
78 80 |
- |
33,5 39,7 |
|
М-147/147 |
З-147 |
З-147 |
4 |
400 |
+30 -10 |
- |
- |
3,75 |
3,75 |
- |
178 |
- |
170,5 |
170,5 |
101 |
- |
37,9 |
|
М-147/152 |
З-147 |
З-152 |
5 |
391 |
+35 -5 |
203 |
178 |
5,50 |
3,75 |
- |
197 |
178 |
170,5 |
186,0 |
101 |
- |
44,0 |
|
М-147/171 |
З-147 |
З-171 |
5 |
436 |
220 |
203 |
3,50 |
3,75 |
- |
203 |
178 |
170,5 |
196,0 |
101 |
- |
50,0 |
|
|
М-161/152 |
З-161 |
З-152 |
4 |
400 |
+30 -10 |
- |
- |
8,05 |
3,50 |
- |
203 |
- |
196,0 |
186,9 |
122 |
- |
53,1 |
|
М-161/177 |
З-161 |
З-177 |
4 |
400 |
- |
- |
5,00 |
14,50 |
- |
225 |
- |
196,0 |
215,0 |
102 |
- |
71,7 |
|
|
М-171/152 |
З-161 |
З-152 |
4 |
400 |
- |
- |
21,05 |
5,50 |
- |
229 |
- |
218,0 |
186,9 |
122 |
- |
77,8 |
|
|
М-171/171 |
З-171 |
З-171 |
4 |
415 |
- |
- |
3,50 |
3,50 |
- |
203 |
- |
196,0 |
196,0 |
127 |
- |
47,1 |
|
|
М-171/177 |
З-171 |
З-177 |
4 |
415 |
- |
- |
7,00 |
5,50 |
- |
229 |
- |
218,0 |
215,0 |
101 |
- |
76,9 |
|
|
М-201/152 |
З-201 |
З-152 |
7а |
469 |
+35 -5 |
220 |
220 |
5,05 |
5,75 |
- |
254 |
197 |
242,5 |
186,9 |
122 |
- |
81,6 |
|
М-201/177 |
З-201 |
З-177 |
4 |
420 |
+30 -10 |
- |
- |
19,50 |
5,75 |
- |
254 |
- |
242,5 |
215,0 |
101 |
- |
98,9 |
|
М-147/171 |
З-147 |
З-171 |
6 |
707 |
+30 -5 |
220 |
220 |
3,50 |
3,75 |
13,00 |
203 |
178 |
170,5 |
196,0 |
101 |
127 |
92,3 |
|
Н-121/121 |
З-121 |
З-121 |
7 |
525 |
+30 -10 |
321 |
- |
2,75 |
2,75 |
- |
146 |
- |
140,5 |
140,5 |
80 |
- |
36,0 |
|
Н-147/147 |
З-147 |
З-147 |
7 |
550 |
296 |
- |
3,75 |
3,75 |
- |
178 |
- |
170,5 |
170,5 |
101 |
- |
51,0 |
|
|
Н-147/152 |
З-147 |
З-152 |
7 |
550 |
296 |
- |
5,50 |
13,25 |
6,00 |
197 |
- |
170,5 |
186,0 |
89 |
101 |
70,0 |
|
|
H-171/177 |
З-171 |
З-177 |
7 |
550 |
290 |
- |
5,00 |
14,50 |
13,00 |
225 |
- |
196,0 |
215,0 |
101 |
127 |
93,9 |
|
|
Н-171/201 |
З-171 |
З-201 |
6 |
671 |
+35 -5 |
203 |
178 |
5,75 |
3,50 |
3,50 |
254 |
203 |
196,0 |
242,5 |
120 |
127 |
113,7 |
* Размеры для справок.
(Измененная редакция, Изм. № 1).
Пример условного обозначения переводника типа П с правой резьбой муфтового конца З-122 и ниппельного конца З-147:
Переводник П-122/147 ГОСТ 7360-82
То же, двухниппельного переводника с левой резьбой ниппельных концов З-147 и З-171:
Переводник Н-147/171 Л ГОСТ 7360-82
То же типа П с правой резьбой муфтового конца З-133 и ниппельного конца З-122 для бурильных труб с замками ЗП-162:
Переводник П-133/122 D = 162 ГОСТ 7360-82
То же для бурильных труб с замками ЗУК-155:
Переводник П-133/122 ГОСТ 7360-82
(Измененная редакция, Изм. № 1).
2.2. Переводники должны изготовляться из стали марки 40ХН по ГОСТ 4543-71 или из других сталей по физико-механическим свойствам не ниже, чем у марки 40ХН.
Механические свойства готовых изделий должны соответствовать указанным ниже:
Временное сопротивление разрыву sв МПа (кгс/см2) не менее 882 (90)
Предел текучести sт, МПа (кгс/мм2) не менее 735 (75)
Относительное удлинение d5, %, не менее 10
Относительное сужение y, % не менее 45
Ударная вязкость KCV, Дж/м2 (кгс×гм/см2) не менее 685×103 (7).
Твердость по Бринеллю НВ 285 ... 341
Вырубка, заварка и заделка дефектных мест не допускается.
1,5 мм - у переводников с резьбами ниппельного конца З-66; З-73; З-76; З-86; З-88; З-101; З-102; З-108; З-117; З-121; З-122; З-133;
2,0 мм - у переводников с остальными резьбами.
2.5. Допуск соосности резьбы обоих концов переводника, измеренный в плоскости упорного уступа ниппеля или упорного торца муфты, - не более 0,6 мм.
2.7. Допуск торцевого биения упорного торца муфты или упорного уступа ниппеля - не более 0,1 мм.
Допуск плоскостности на ширине упорного уступа ниппельного конца или упорного уступа муфтового конца не более 0,07 мм.
2.8. Все элементы резьбовых соединений переводников должны быть фосфатированы по ГОСТ 9.301-78.
2.9. На наружной поверхности каждого переводника должен быть проточен поясок для маркировки (черт. 8а).
Поясок на переводниках цилиндрического исполнения должен находиться посередине, а на переводниках ступенчатого исполнения - на ступени большого диаметра на расстоянии 20 мм от переходной фаски.
На переводниках с левыми резьбами, кроме маркировочного пояска, должен быть проточен опознавательный поясок (черт. 8б).
1 - маркировочный поясок; 2 - опознавательный поясок
Черт. 8
2.11. Форма и размеры профиля замковой резьбы, размеры замковых соединений и требования к их изготовлению - по ГОСТ 5286-75, а для резьб З-177 и З-201 - по ГОСТ 20692-75.
2.12. Величина натяга замковой резьбы ниппелей и муфт по ГОСТ 5286-75, а для резьб З-177 и З-201 - по ГОСТ 20692-75.
2.13. Ресурс переводников до первого ремонта - не менее 750 свинчиваний.
(Измененная редакция, Изм. № 1).
3.1. Для проверки соответствия переводников требованиям настоящего стандарта предприятие-изготовитель должно проводить приемо-сдаточные и периодические испытания.
3.2. При приемо-сдаточных испытаниях проверяют:
каждый переводник на соответствие требованиям пп. 1.3; 2.3; 2.4; 2.6 - 2.10; 2.12;
5 % переводников на соответствие требованиям п. 2.1;
не менее двух переводников от партии на соответствие п. 2.2;
10 % переводников от партии на соответствие п. 2.11.
3.3. Партия должна состоять из переводников одного типоразмера, прошедших одинаковый режим термообработки по одному сопроводительному документу.
3.4. При периодических испытаниях проверяется ресурс переводника (п. 2.13), качество покрытия резьбы и все другие показатели, установленные настоящим стандартом.
3.5. Периодические испытания должны проводиться не реже одного раза в три года, не менее чем на трех переводниках одного типоразмера, взятых от партии, прошедшей приемо-сдаточные испытания.
3.6. Механические свойства стали переводников должны проверяться на двух отобранных от партии деталях одного типоразмера, прошедших термообработку по одинаковому режиму.
Образцы должны вырезаться из замкового конца ниппеля для переводников типа М - из муфты замкового соединения. Образцы должны вырезаться методом, не изменяющим механические свойства стали проверяемого изделия.
3.7. Порядок предъявления к приемке, порядок приемки продукции - по ГОСТ 5286-75.
3.8. При неудовлетворительных результатах приемо-сдаточных и периодических испытаний хотя бы по одному показателю следует проводить дополнительные испытания по этому показателю на удвоенном количестве переводников, взятых из той же партии.
4.1. Испытания на растяжение - по ГОСТ 1497-84 на продольных образцах.
(Измененная редакция, Изм. № 1).
4.2. Испытания на ударную вязкость - по ГОСТ 9454-78.
4.3. Твердость должна проверяться по ГОСТ 9012-59. Твердость проверяют на наружной цилиндрической поверхности переводника в трех местах: на расстоянии 15 - 20 мм от пояска для маркировки и на этом же расстоянии от торцов резьбовых соединений.
4.4. Отклонение от соосности резьб обоих концов проверяют следующим способом: проверяемый переводник одним концом свинчивают с контрольной оправкой, точно центрированной в приспособлении (или на токарном станке), другим концом переводник свинчивают со второй оправкой, шлифованная цилиндрическая часть которой длиной 100 - 200 мм, соосна с нарезанной частью. Вращая деталь, определяют биение второй оправки у торца детали и на конце оправки при помощи двух индикаторов часового типа. Отклонение от соосности у торца определяют по индикатору (отклонение от соосности равно половине величины биения). Перекос осей на длине 1 м определяют из соотношения величины биения у торца переводника и у конца оправки.
4.5. Отклонение от плоскостности должно проверяться по всей ширине упорных поверхностей ниппелей и муфт с помощью универсального инструмента или специальных приборов.
Торцевое биение в каждом ниппеле и в каждой муфте проверяется одновременно с проверкой резьбы калибрами.
Торцевое биение определяется как разность наибольшего и наименьшего расстояния между измерительной плоскостью калибра и упорными поверхностями ниппелей и муфт.
4.6. Качество покрытия на резьбе проверяется в трех равномерно расположенных точках по окружности нитки резьбы по ГОСТ 9.302-79.
4.7. Контроль формы и размеров профиля резьбы и элементов замкового соединения и требования к изготовлению - по ГОСТ 5286-75.
5.1. На наружной цилиндрической поверхности маркировочного пояска каждого переводника должна быть нанесена клеймами шрифтом ПО-6 или ПО-8 маркировка, содержащая:
товарный знак предприятия-изготовителя;
обозначение переводника по настоящему стандарту;
дату выпуска (месяц и год);
надпись «Сделано в СССР» (для переводников, предназначенных на экспорт);
изображение государственного Знака качества по ГОСТ 1.9-67.
5.2. Консервация переводников - по ГОСТ 9.014-78.
Срок действия консервации - 3 года.
5.3. Резьбы переводников должны быть защищены колпаками для предохранения их от повреждения при транспортировании.
5.4. Переводники, предназначенные для экспорта, должны быть обернуты водонепроницаемой бумагой по ГОСТ 9569-79 в два слоя.
5.5. Переводники должны быть упакованы в ящики по ГОСТ 2991-85.
(Измененная редакция, Изм. № 1).
5.6. Переводники, предназначенные для экспорта, должны быть упакованы в деревянные ящики по ГОСТ 24634-81.
5.7. Транспортная тара должна маркироваться в соответствии с требованиями ГОСТ 14192-77 и заказа-наряда внешнеторговой организации.
5.8. Каждая партия переводников, направляемая в один адрес, должна сопровождаться документом, удостоверяющим соответствие их требованиям настоящего стандарта.
5.9. В сопроводительном документе должно быть указано:
наименование предприятия-изготовителя или товарный знак;
обозначение типоразмера переводника по настоящему стандарту;
количество переводников в партии;
результаты приемо-сдаточных испытаний;
дата выпуска.
5.10. На переводники, предназначенные для экспорта, товаросопроводительная документация должна соответствовать требованиям ГОСТ 6.37-79 и заказа-наряда внешнеторговой организации.
Сопроводительная документация должна быть завернута в водонепроницаемую бумагу и упакована в пакет из полиэтиленовой пленки по ГОСТ 10354-82, для стран с тропическим климатом - в два пакета. Швы пакета должны быть заварены. Пакет с сопроводительной документацией должен быть вложен в тару с изделиями.
(Измененная редакция, Изм. № 1).
5.11. Транспортирование переводников допускается любым видом транспорта.
5.12. Переводники, рассортированные по типоразмерам, должны храниться под навесом или в закрытых помещениях на стеллажах или уложенными в штабели.
6.1. Применяемость переводников, соединяющих части бурильных колонн, указана в рекомендуемом приложении.
7.1. Предприятие-изготовитель гарантирует соответствие переводников требованиям настоящего стандарта при соблюдении условий хранения, транспортирования и эксплуатации.
Гарантийный срок эксплуатации переводников - 6 месяцев со дня ввода в эксплуатацию.
|
Обозначение переводника |
Соединяемая часть бурильной колонны |
||
|
верхняя |
нижняя |
||
|
П-76/88 |
ЗН-95 |
УБТ, D = 108 мм |
|
|
П-86/66 |
ЗШ-108 |
Ловильный инструмент |
|
|
П-86/73 |
ЗУ-86 |
||
|
П-86/76 |
УБТ, D = 108 мм |
Турбобур, D = 104 мм |
|
|
П-86/88 |
ЗШ-108 |
Ловильный инструмент |
|
|
П-86/101 |
УБТ, D = 108 мм |
УБТ, D = 120 мм |
|
|
П-88/88 |
ЗН-108 |
УБТ, D = 108 мм |
|
|
П-88/101 |
УБТ, D = 108 мм |
Турбобур, D = 127 мм |
|
|
П-88/121 |
ЗН-113 |
УБТ, D = 146 мм |
|
|
П-101/88 |
ЗШ-118 |
Ловильный инструмент |
|
|
П-101/102 |
|||
|
П-101/117 |
|||
|
П-101/121 |
УБТ, D = 146 мм Ловильный инструмент |
||
|
П-102/88 |
ЗУ-120 |
||
|
П-102/101 |
ЗУ-120 |
Ловильный инструмент |
|
|
П-102/117 |
Ловильный инструмент |
||
|
П-102/121 |
УБТ, D = 146 мм |
||
|
П-108/88 |
ЗШ-133 |
Ловильный инструмент |
|
|
П-108/101 |
ЗШ-118 |
||
|
П-108/102 |
Ловильный инструмент |
||
|
П-108/117 |
Ловильный инструмент |
||
|
П-108/121 |
УБТ, D = 146 мм |
||
|
П-117/121 |
Турбобур, D = 172; 195 мм |
Долото, D = 190; 215 мм |
|
|
П-117/147 |
ЗН-140 |
УБТ, D = 178 мм |
|
|
П-121/86 |
ЗШ-146 |
ЗШ-108, ЗУ-108 |
|
|
П-121/101 |
ЗШ-118 |
||
|
П-121/102 |
ЗУ-120 |
||
|
П-121/108 |
ЗШ-133 |
||
|
П-121/121 |
Ведущая бурильная труба |
ЗШ-146 |
|
|
П-121/122 |
ЗУ-146 |
||
|
П-121/133 |
ЗУ-155 |
||
|
П-121/147 |
УБТ, D = 146 мм |
УБТ, D = 178 мм |
|
|
П-121/161 |
УБТ, D = 146 мм |
УБТ, D = 203 мм |
|
|
П-122/101 |
ЗУ-146 |
ЗШ-118 |
|
|
П-122/102 |
ЗУ-120 |
||
|
П-122/108 |
ЗШ-133 |
||
|
П-122/117 |
Ловильный инструмент |
||
|
П-122/121 |
УБТ, D = 146 мм |
||
|
П-122/133 |
Ловильный инструмент |
||
|
П-122/147 |
УБТ, D = 178 мм |
||
|
П-133/101 |
ЗУ-155 |
ЗШ-118 |
|
|
П-133/108 |
ЗШ-133 |
||
|
П-133/117 |
Ловильный инструмент |
||
|
П-133/121 |
ЗШ-146 |
||
|
П-133/122 |
ЗУ-146 |
||
|
П-133/140 |
Ловильный инструмент |
||
|
П-133/147 |
УБТ, D = 178 мм |
||
|
П-133/152 |
ЗУ-155 |
Ловильный инструмент |
|
|
П-133/161 |
УБТ, D = 203 мм |
||
|
П-147/121 |
ЗШ-178 |
ЗШ-146 |
|
|
П-147/122 |
ЗУ-146 |
||
|
П-147/133 |
ЗУ-155 |
||
|
П-147/140 |
Ловильный инструмент |
||
|
П-147/147 |
Ведущая бурильная труба |
ЗШ-178 |
|
|
П-147/152 |
ЗШ-178 |
Ловильный инструмент |
|
|
П-147/161 |
ЗШ-178 |
УБТ, D = 203 мм |
|
|
П-147/171 |
УБТ, D = 178 мм |
УБТ, D = 229 мм |
|
|
П-152/121 |
Турбобур, D = 172; 195 мм |
Долото, D = 245 мм |
|
|
П-152/147 |
Турбобур, D = 215 мм |
Долото, D = 245 мм |
|
|
П-152/171 |
Электробур, D = 290 мм |
Долото, D = 320 мм |
|
|
П-161/147 |
УБТ, D = 203 мм |
Турбобур, D = 215 мм |
|
|
П-161/171 |
УБТ, D = 203 мм |
УБТ, D = 229 мм |
|
|
П-161/177 |
Долото, D = 445 мм |
||
|
П-171/147 |
ЗШ-103 |
ЗШ-178 |
|
|
П-171/171 |
УБТ, D = 229 мм |
Электробур, D = 290 мм |
|
|
П-171/177 |
Долото, D = 445 мм |
||
|
П-171/201 |
УБТ, D = 254 мм |
||
|
П-177/171 |
Электробур, D = 290 мм |
||
|
П-201/177 |
УБТ, D = 254 мм |
Долото, D = 445 мм |
|
|
П-201/201 |
D = 490 мм |
||
|
М-73/66 |
ЗУ-86 |
Долото, D = 93 ¸ 112 мм |
|
|
М-86/76 |
ЗШ-108 |
Долото, D = 120 мм |
|
|
М-86/88 |
УБТ, D = 108 мм |
Долото, D = 132 ¸ 187 мм |
|
|
М-101/88 |
УБТ, D = 120 мм |
Долото, D = 132 ¸ 187 мм |
|
|
М-108/88 |
УБТ, D = 133 мм |
||
|
М-121/88 |
УБТ, D = 146 мм |
||
|
М-121/117 |
УБТ, D = 146 мм |
Долото, D = 190 мм |
|
|
М-147/117 |
УБТ, D = 178 мм |
Долото, D = 190 ¸228 мм |
|
|
М-147/152 |
Долото, D = 245 ¸ 295 мм |
||
|
М-161/152 |
УБТ, D = 203 мм |
||
|
М-161/177 |
УБТ, D = 203 мм |
Долото, D = 374 ¸ 470 мм |
|
|
М-171/152 |
УБТ, D = 229 мм |
Долото, D = 245 ¸295 мм |
|
|
М-171/117 |
Долото, D = 374 ¸ 470 мм |
||
|
М-201/152 |
УБТ, D = 254; 273 мм |
Долото, D = 269 ¸ 295 мм |
|
|
М-201/177 |
УБТ, D=254; 273; 299 мм |
Долото, D = 374; 470 мм |
|
|
H-121/121 |
ЗШ-146 |
Ловильный инструмент |
|
|
Н-147/147 |
ЗШ-178 |
||
|
Н-147/152 |
|||
|
Н-171/177 |
Турбобур, D = 290 мм |
Долото, D = 444,5 мм |
|
|
Н-171/201 |
Турбобур, D = 290 мм |
Долото, D = 490 мм |
|
Примечание. В таблице обозначены:
УБТ - утяжеленные бурильные трубы,
D - диаметр соединяемой части бурильной колонны,
ЗУ, ЗН, ЗШ - условные обозначения замков по ГОСТ 5286-75.
Справочное
Для компоновок бурильных колонн импортных труб или их комбинаций с трубами отечественного производства, выбор замковых соединений бурильных переводников осуществляется с учетом их взаимозаменяемости по приведенной таблице.
|
Обозначение замковой резьбы |
Применение |
||
|
По ГОСТ 5286-75, по ГОСТ 20692-75 |
По стандарту |
API 7 |
|
|
Новое |
Старое |
||
|
З-117 |
41/2 Reg |
- |
Верхние соединения ведущих труб |
|
З-121 |
41/2 FH |
- |
Бурильные замки |
|
З-177 |
75/8 Reg |
- |
Утяжеленные бурильные трубы |
|
З-147 |
51/2 FH |
- |
Нижние соединения ведущих труб, бурильные трубы |
|
З-152 |
65/8 Reg |
- |
Нижние соединения ведущих труб |
|
З-171 |
6 5/8 FH |
- |
Нижние соединения ведущих труб |
|
З-73 |
NC-26 |
23/8 IF |
Нижние соединения ведущих труб, соединения УБТ и замки |
|
З-86 |
NC-31 |
27/8 IF |
Соединения ведущих труб и УБТ, замки бурильных труб |
|
З-102 |
NC-38 |
31/2 IF |
То же |
|
З-108 |
NC-40 |
4 FH |
Замки бурильных труб |
|
З-122 |
NC-46 |
4 FH |
Соединения ведущих труб и УБТ, замки бурильных труб |
|
З-133 |
NC-50 |
41/2 IF |
То же |
СОДЕРЖАНИЕ
|
1. ТИПЫ, ОСНОВНЫЕ ПАРАМЕТРЫ И РАЗМЕРЫ.. 1 5. МАРКИРОВКА, УПАКОВКА, ТРАНСПОРТИРОВАНИЕ И ХРАНЕНИЕ. 10 6. УКАЗАНИЯ ПО ЭКСПЛУАТАЦИИ. 11 ПРИМЕНЯЕМОСТЬ ПЕРЕВОДНИКОВ. 11
|