Изменение № 1 ГОСТ 30546.3-98 Методы определения сейсмостойкости машин, приборов и других технических изделий, установленных на месте эксплуатации, при их аттестации или сертификации на сейсмическую безопасность
Принято Межгосударственным советом по стандартизации, метрологии и сертификации (протокол № 24 от 05.12.2003)
Зарегистрировано Бюро по стандартам МГС № 4749
За принятие изменения проголосовали национальные органы по стандартизации следующих государств: AZ, AM, BY, KZ, KG, MD, RU, TJ, TM, UZ, UA [коды альфа-2 по МК (ИСО 3166) 004]
Дату введения в действие настоящего изменения устанавливают указанные национальные органы по стандартизации
Раздел 2 дополнить ссылками:
«ГОСТ 30630.1.1-99 Методы испытаний на стойкость к механическим внешним воздействующим факторам машин, приборов и других технических изделий. Определение динамических характеристик конструкции
ГОСТ 30631-99 Общие требования к машинам, приборам и другим техническим изделиям в части стойкости к механическим внешним воздействующим факторам при эксплуатации».
Пункт 4.1. Вариант 1. Заменить слова: «или о группе их механического исполнения» на «или о группе их механического исполнения2)»;
дополнить сноской -2):
«2) Здесь и далее - группа механического исполнения по ГОСТ 30631»;
Вариант 2 дополнить абзацем:
«Варианты 2.3 и 2.4 применяют для ЭРИ»;
Вариант 3. Заменить слова: «(вариант 3.2)» на «(вариант 3.2) или же испытания на месте установки (вариант 3.3)»;
Вариант 5. Предпоследний, последний абзацы изложить в новой редакции:
«При использовании настоящего варианта испытания по вариантам 5.1 и 5.2 проводят по вариантам 2, 3.1 и 3.2, испытания по варианту 5.3 проводят, если невозможны или нецелесообразны испытания по вариантам 5.1 и 5.2; требования по сейсмостойкости определяют для места крепления промежуточных конструкций.
Варианты 5.1, 5.2 и 5.3 - см. пункты 6.2.1 и 6.2.2».
Пункт 4.2. Заменить слова: «в соответствии с 4.1 ГОСТ 30546.1» на «в соответствии с ГОСТ 30546.1».
Пункт 4.3. Заменить слова: «подвергаемых согласно варианту 2 испытанию» на «подвергаемых согласно вариантам 2 или 3.3 испытанию».
Пункт 5.1.1. Первый абзац до слов «В этом случае» изложить в новой редакции: «В НД на изделие приведены данные о его сейсмостойкости согласно ГОСТ 30546.1».
Пункт 5.1.2. Заменить слова: «исполнения изделия по стандартам на группу изделий,» на «исполнения изделия,».
Пункт 5.1.2.1. Исключить слова: «(например, по таблице 1 ГОСТ 17516.1)».
Пункт 5.1.2.5 изложить в новой редакции:
«5.1.2.5 Проводят сравнение требований по максимальным вибрационным ускорениям для данной группы механического исполнения с требованиями по сейсмическому воздействию на месте установки в соответствии с приложением В ГОСТ 30546.1».
Пункт 5.2. Заменить слова: «в соответствии с ГОСТ 30546.2» на «в соответствии с ГОСТ 30630.1.1 с учетом раздела 5 ГОСТ 30546.2».
Пункт 5.2.1. Второй абзац. Заменить слова: «В соответствии с ГОСТ 30546.2» на «В соответствии с ГОСТ 30630.1.1», «определенной по ГОСТ 30546.1» на «определенной по ГОСТ 30546.1 (или меньшей силе в соответствии с разделом 5 ГОСТ 30546.2»;
дополнить абзацем:
«Если в соответствии с 5.8 ГОСТ 30546.2 испытания были прерваны на одном из промежуточных этапов вследствие того, что механические напряжения в опасных местах конструкции достигли недопустимых значений, разрабатывают и проводят необходимые мероприятия по повышению сейсмостойкости конструкции. После этого испытания продолжают до последнего этапа по 5.8 ГОСТ 30546.2 с целью проверки соответствия требованиям сейсмостойкости изделия на месте его установки».
Пункт 5.2.2.1. Заменить ссылку: ГОСТ 30546.2 на ГОСТ 30630.1.1.
Пункт 5.2.2.2. Первый абзац. Заменить слова: «согласно таблице 1 ГОСТ 30546.1» на «согласно ГОСТ 30546.1 и, если требуется, расчетного срока службы и вероятности непревышения по приложению А ГОСТ 30546.1»;
второй абзац исключить.
Пункт 5.2.2.3 дополнить абзацем:
«Сейсмостойкость встроенного элемента считают достаточной, если значения ускорения для соответствующей частоты, полученные для данного узла по 5.2.2.2 или 5.2.3.2, не превышают значений ускорения, полученных по 5.2.2.3».
Пункт 5.2.3.2. Второй абзац после слов «для места размещения изделия» дополнить словами: «и, если требуется, расчетного срока службы и вероятности непревышения по приложению А ГОСТ 30546.1».
Пункт 5.2.3.3. Последний абзац исключить.
Пункт 5.2.4.4. Заменить слова: «по методу свободных колебаний» на «по методу свободных колебаний при воздействии растягивающей силы, равной эквивалентной статической силе,».
Пункт 5.3 дополнить абзацем:
«Если невозможно (или нецелесообразно) проводить испытания в лабораторных условиях по вариантам 3.1 или 3.2, то проводят испытания комплектного изделия по варианту 3.3».
Раздел 5 дополнить пунктами - 5.3.1-5.3.1.3:
«5.3.1 Вариант 3.3
5.3.1.1 Проводят подготовку комплектного изделия для определения его работоспособности на месте его установки, выбрав необходимые и доступные для измерения параметры изделия.
5.3.1.2 Проводят подготовку комплектного изделия для испытаний по методу свободных колебаний при воздействии растягивающей силы, равной эквивалентной статической силе в соответствии с ГОСТ 30630.1.1 с учетом раздела 5 ГОСТ 30546.2, но без определения АЧХ (или ЧМХ).
5.3.1.3 Осуществляют освобождение изделия от действия растягиваю щей силы по 5.2.1 и определяют его работоспособность по 5.3.1.1».
Пункт 6.1.1.1. Заменить слова: «в соответствии с ГОСТ 30546.2» на «в соответствии с ГОСТ 30630.1.1 с учетом раздела 5 ГОСТ 30546.2».
Пункт 6.1.1.2. Заменить слова: «согласно таблице 1 ГОСТ 30546.1» на «согласно ГОСТ 30546.1 и, если требуется, расчетного срока службы и вероятности непревышения по приложению А ГОСТ 30546.1».
Пункты 6.1.1.3, 6.1.3. Заменить слова: «Определяют ускорения» на «Определяют максимальные амплитуды вибрационного воздействия».
Пункт 6.1.4 дополнить абзацами:
«Вариант 5.3
Испытания проводят по варианту 3.3».
Пункт 6.2.1. Второй абзац. Заменить слова: «в соответствии с ГОСТ 30546.2 и ГОСТ 30546.1» на «в соответствии с ГОСТ 30546.2, ГОСТ 30546.1 и ГОСТ 30630.1.1».
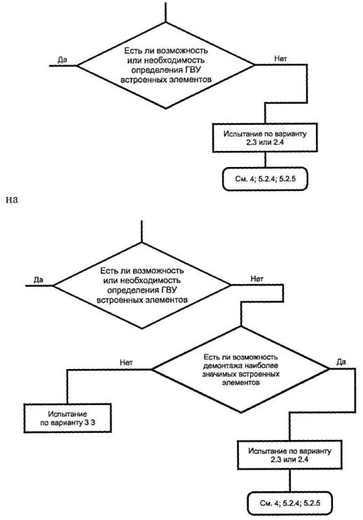
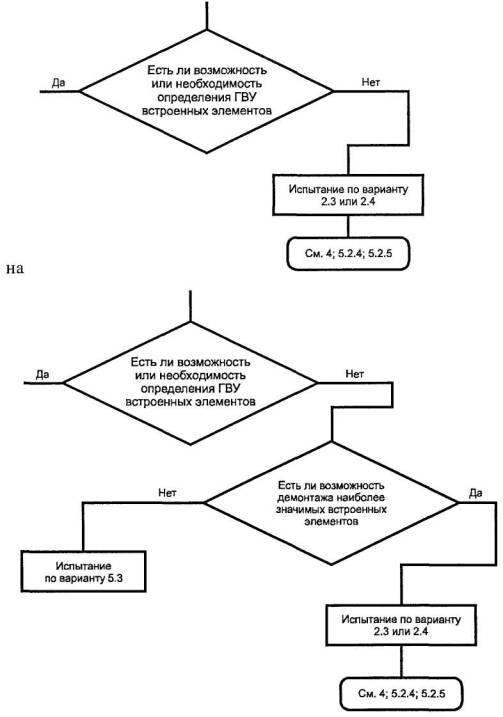
Приложение А. Заменить части схемы:


Приложение Б. Заменить часть схемы:

(ИУС № 4 2005 г.)