
ГОСУДАРСТВЕННЫЙ СТАНДАРТ СОЮЗА ССР
ПОРОДЫ ГОРНЫЕ
МЕТОД ОПРЕДЕЛЕНИЯ КОЭФФИЦИЕНТА ТЕПЛОПРОВОДНОСТИ
ГОСТ 25499-82
ГОСУДАРСТВЕННЫЙ КОМИТЕТ СССР ПО СТАНДАРТАМ
Москва
РАЗРАБОТАН Министерством высшего и среднего специального образования СССР
ИСПОЛНИТЕЛИ
Г.Я. Новик (руководитель темы), И.Ю. Буров, В.Н. Морозов, А.Г. Судиловский, В.Д. Христолюбов
ВНЕСЕН Министерством высшего и среднего специального образования СССР
Зам. министра Н.С. Егоров
УТВЕРЖДЕН И ВВЕДЕН В ДЕЙСТВИЕ Постановлением Государственного комитета СССР по стандартам от 9 ноября 1982 г. № 4215
ГОСУДАРСТВЕННЫЙ СТАНДАРТ СОЮЗА ССР
|
ПОРОДЫ ГОРНЫЕ Метод определения коэффициента теплопроводности Rocks. Method for determination of coefficient of thermal conductivity |
ГОСТ 25499-82 |
Постановлением Государственного комитета СССР по стандартам от 9 ноября 1982 № 4215 срок действия установлен
с 01.01.84
до 01.01.89
Несоблюдение стандарта преследуется по закону
Настоящий стандарт распространяется на твердые горные породы и устанавливает эталонный метод определения коэффициента теплопроводности для расчетов процессов теплового и термомеханического разрушения горных пород, их теплоизоляционных свойств, режимов вентиляции горных выработок и сушки горной массы в процессах рудоподготовки.
Метод основан на равенстве количества тепла, проходящего через исследуемую породу и эталон при идентичности геометрических размеров в направлении прохождения тепла в стационарном режиме.
Стандарт не распространяется на рыхлые и связные горные породы.
1.1. Коэффициент теплопроводности следует измерять в интервале температур от 30 до 50°С при нормальных внешних условиях: относительная влажность воздуха 65%, температура окружающей среды 20°С, атмосферное давление 1013 Па.
1.2. В качестве эталона выбирают кварцевое стекло марки КВ по ГОСТ 15130-69.
2.1. Отбор и хранение проб горных пород - по ГОСТ 21153.0-75.
2.2. Образцы для испытаний и эталон должны быть изготовлены в виде плоскопараллельных дисков диаметром от 40 до 50 мм и толщиной от 4 до 5 мм или квадратиков со стороной от 40 до 50 мм и толщиной от 4 до 5 мм для мелко- и среднезернистых горных пород.
2.3. Для крупнозернистых горных пород толщина испытываемых образцов должна превышать средний размер зерна в два раза, однако во всех случаях отношение диаметра образца к его толщине должно быть не менее 8:10.
2.4. Поверхность образцов должна быть ровной, гладкой, без трещин, вмятин, царапин, посторонних включений и прочих дефектов.
2.5. Толщина образца должна определяться как среднее арифметическое результатов измерений не менее чем в пяти точках, равномерно расположенных по его поверхности. Каждое из измеренных значений толщины не должно отличаться от среднего арифметического более чем на 2%.
2.6. Испытываемые образцы должны быть воздушно-сухого состояния и их массовая влажность не должна превышать 2-4%. При испытании породы с большей влажностью следует указывать их влажность.
3.1. Для проведения испытания применяют:
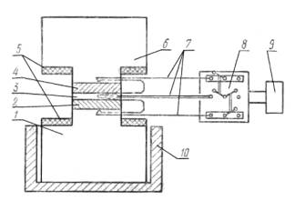
установку, собранную по схеме, приведенной на чертеже;

1 - нагреватель; 2 - исследуемый образец; 3 - мерная прокладка; 4 - эталон; 5 - теплоизоляционные прокладки; 6 - калориметр; 7 - дифференциальные термопары; 8 - переключатель; 9 - микровольтметр; 10 - теплоизоляционный экран
термостат воздушный типа ТС-15-3;
микровольтметр с классом точности не более 0,1;
термопары хромельалюмелевые дифференциальные (хромелевый провод по ГОСТ 1790-77, алюмелевый провод по ГОСТ 1790-77), диаметр проволоки не должен быть более 0,3 мм;
штангенциркуль по ГОСТ 166-80 с погрешностью измерения не более 0,1 мм;
сверло диаметром 1,5 мм по ГОСТ 10902-77;
нагреватель и калориметр, представляющие собой цилиндры диаметром 90 мм и высотой 90 мм из алюминия марки В51 или В59;
соломку керамическую двухканальную диаметром 1,5 мм;
прокладку плоскопараллельную толщиной 2,0 мм с поперечными размерами, равными соответствующим размерам выбранных исследуемого и эталонного образцов, из технической меди марок М0 и М1 по ГОСТ 859-78.
4.1. Нормализацию и кондиционирование используемых образцов проводят для достижения ими воздушно-сухого состояния; для этого образцы высушивают в термостате до постоянной массы при температуре 105-110°С, охлаждают в эксикаторе и выдерживают в воздушной среде с влажностью 4-60% в течение 24 ч.
4.2. Для сохранения ненарушенности эталона и образца при размещении спая дифференциальной термопары между ними помещают тонкую медную прокладку толщиной 2,0 мм.
4.3. В нагревателе, калориметре и медной прокладке для установки спаев дифференциальных термопар высверливают отверстия диаметром 1,5 мм и глубиной в половину их поперечных размеров на минимальном расстоянии от рабочих поверхностей, контактирующих с образцом и эталоном.
4.4. Дифференциальные термопары монтируют в двухканальную соломку для исключения теплообмена между проводами термопар и окружающей средой.
4.5. Для создания теплового потока через исследуемый образец и эталон используют теплосодержание нагревателя, представляющего собой массивный алюминиевый цилиндр, который предварительно помещают в термостат и нагревают в нем в течение 1 ч до 60-80°С.
4.6. Для улучшения теплового контакта в системе калориметр-образец-прокладка-эталон-нагреватель на контактирующие поверхности наносят графитовый порошок по ГОСТ 8295-73.
5.1. Толщину эталона и исследуемого образца измеряют с погрешностью не более 0,1 мм.
5.2. Нагреватель извлекают из термостата и помещают его в теплоизоляционный экран.
5.3. Установку собирают в следующем порядке: на нагреватель в центре помещают эталонный образец, затем медную прокладку, исследуемый образец и сверху устанавливают калориметр, находящийся при температуре окружающей среды.
5.4. Жестко устанавливают в высверленных отверстиях нагревателя, медной прокладки и калориметра две дифференциальные термопары, измеряющие разность температур между нагревателем и медной прокладкой и калориметром.
5.5. Соединяют дифференциальные термопары через переключатель с микровольтметром. Вследствие разности температур между нагревателем и калориметром образуется тепловой поток, проходящий через систему нагреватель-эталон-прокладка-образец-калориметр. Ввиду большой массы, а следовательно, значительной полной теплоемкости нагревателя и калориметра их температуру в течение опыта следует считать постоянной.
5.6. Включают в сеть микровольметр.
5.7. В дальнейшем с помощью микровольтметра отмечают момент, когда показания обеих термопар становятся постоянными, что соответствует установлению стационарного теплового режима.
5.8. Фиксируют показания обеих термопар.
6.1.
Коэффициент теплопроводности образца (
) в Вт/м×К вычисляют по формуле

|
где |
- теплопроводность эталона, Вт/м×К; |
|
h0; hэ |
- толщина исследуемого образца и эталона, мм; |
|
|
- перепады температур внутри эталона и образца, К. |
6.2. Перепады температур внутри эталона и образца вычисляют по формуле
;
,
|
где |
- показания дифференциальных термопар, указывающих перепады температуры между нагревателем и медной проволокой, а также медной прокладкой и калориметром, соответственно, К; |
|
|
- перепад температур на контактах нагреватель-эталон и эталон-медь, К; |
|
|
- перепад температур на контактах медь-образец и образец-калориметр, К. |
6.3. Ввиду того, что теплопроводность меди больше намного теплопроводности эталона и измеряемых образцов, перепад температуры внутри медной прокладки следует считать равным нулю.
6.4. Перепады температур на контактах не зависят от материала соприкасающихся поверхностей, следовательно,
.
6.5. Значение
определяют из
вспомогательного эксперимента, проведенного, как указано в разд.5., но вместо эталона и исследуемого образца
берут два одинаковых образца измеряемой горной породы с различной толщиной.
Значение
вычисляют по формуле
![]()
где h1; h2 - толщина образцов измеряемой горной породы, м.
6.6. Погрешность определения коэффициента теплопроводности горных пород не должна превышать 10-12 %.
6.7. Результаты вычисления заносят в таблицу, которая приведена в рекомендуемом приложении.
ПРИЛОЖЕНИЕ
Рекомендуемое
ТАБЛИЦА ЗАПИСИ РЕЗУЛЬТАТОВ ИСПЫТАНИЯ
|
№ п/п |
Типы пород |
Параметры |
Примечание |
||||||||
|
hэ, м |
h0, м |
|
|
|
|
|
|
|
|||
|
Вт/м×К |
|||||||||||
|
|
|
|
|
|
|
|
|
|
|
|
|
Примечание. В графе "Примечание" указывают:
влажность пород, если она превышает требуемую;
для слоистых пород - направление слоистости относительно проходящего теплового потока.