
ГОСУДАРСТВЕННЫЙ СТАНДАРТ СОЮЗА ССР
БЛОКИ БЕТОННЫЕ ДЛЯ СТЕН ПОДВАЛОВ
Технические условия
ГОСТ 13579-78
ГОСУДАРСТВЕННЫЙ СТРОИТЕЛЬНЫЙ КОМИТЕТ СССР
Москва
ГОСУДАРСТВЕННЫЙ СТАНДАРТ СОЮЗА ССР
|
БЛОКИ БЕТОННЫЕ ДЛЯ СТЕН ПОДВАЛОВ Технические условия Concrete blocks for basements. Technical conditions |
ГОСТ |
Дата введения 01.01.79
Настоящий стандарт распространяется на блоки, изготовляемые из тяжелого бетона, а также легкого и плотного силикатного бетонов средней плотности не менее 1800 кг/м3 и предназначаемые для стен подвалов и технических подпольев зданий. Сплошные блоки допускается применять для фундаментов.
(Измененная редакция, Изм. №1).
1.1. Блоки подразделяются на три типа:
ФБС - сплошные;
ФБВ - сплошные с вырезом для укладки перемычек и пропуска коммуникаций под потолками подвалов и технических подпольев;
ФБП - пустотные (с открытыми вниз пустотами).
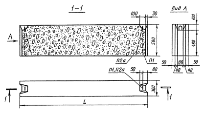
1.2. Форма и размеры блоков должны соответствовать указанным на черт. 1 - 3 и в табл. 1.
Таблица 1
|
Тип блока |
Основные размеры блока, мм |
||
|
Длина l |
Ширина b |
Высота h |
|
|
ФБС |
2380 |
300; 400; 500; 600 |
580 |
|
1180 |
400; 500; 600 |
||
|
400; 500; 600 |
280 |
||
|
880 |
300; 400; 500; 600 |
580 |
|
|
ФБВ |
400; 500; 600 |
||
|
ФБП |
2380 |
400; 500; 600 |
580 |
Блоки типа ФБС
А. Блоки шириной 300 мм
Б. Блоки шириной 400, 500 и 600 мм

Черт. 1
Блоки типа ФБВ

Черт. 2
Блоки типа ФБП
Черт. 3
Примечание (Исключено).
1.3. Структура условного обозначения (марок) блоков следующая:

Пример условного обозначения блока типа ФБС, длиной 2380 мм, шириной 400 мм и высотой 580 мм, из тяжелого бетона:
ФБС24.4.6-Т ГОСТ 13579-78
То же, типа ФБВ, длиной 880 мм, шириной 400 мм и высотой 580 мм, из легкого бетона:
ФБВ9.4.6-Л ГОСТ 13579-78
То же, типа ФБП, длиной 2380 мм, шириной 500 мм и высотой 580 мм, из плотного силикатного бетона:
ФБП24.5.6 -С ГОСТ 13579-78
1.4. Марки и характеристики блоков из тяжелого бетона приведены в табл. 2, из легкого бетона - в табл. 3, из плотного силикатного бетона - в табл. 4.
При соответствующем обосновании допускается применение блоков из бетонов классов по прочности на сжатие, отличающихся от указанных в табл. 2 - 4. При этом во всех случаях класс бетона по прочности на сжатие должен приниматься не более В15 и не менее:
В3,5 - для блоков из тяжелого и легкого бетонов;
В12,5 - для блоков из плотного силикатного бетона.
Примечание. В условное обозначение блоков из бетонов классов по прочности на сжатие, отличающихся от указанных в табл. 2 - 4, следует вводить соответствующий цифровой индекс перед буквой, характеризующей вид бетона.
1.5. Расположение монтажных петель в блоках должно соответствовать указанному на черт. 1 - 3. Конструкции монтажных петель приведены в приложении.
Допускается устанавливать монтажные петли в блоках типа ФБС длиной 1180 и 2380 мм на расстоянии 300 мм от торцов блока и заподлицо с его верхней плоскостью.
1.3 - 1.5. (Измененная редакция, Изм. № 1).
|
Марка блока |
Класс бетона по прочности на сжатие |
Монтажная петля |
Расход материалов |
Масса блока (справочная),т |
||
|
Марка |
Количество |
Бетон, м3 |
Сталь, кг |
|||
|
ФБС24.3.6-Т ФБС24.4.6-Т |
|
П2а |
|
0,406 0,543 |
1,46 |
0,97 1,30 |
|
ФБС24.5.6-Т ФБС24.6.6-Т |
|
П3 |
|
0,679 0,815 |
2,36 |
1,63 1,96 |
|
ФБС12.4.6-Т ФБС12.5.6-Т ФБС12.6.6-Т |
|
П2 |
|
0,265 0,331 0,398 |
1,46 |
0,64 0,79 0,96 |
|
ФБС12.4.3-Т ФБС12.5.3-Т ФБС12.6.3-Т |
B7,5 |
П4 |
2 |
0,127 0,159 0,191 |
0,74 |
0,31 0,38 0,46 |
|
ФБС9.3.6-Т ФБС9.4.6-Т ФБС9.5.6-Т |
|
П1 |
|
0,146 0,195 0,244 |
0,76 |
0,35 0,47 0,59 |
|
ФБС9.6.6-Т |
|
П2 |
|
0,293 |
1,46 |
0,70 |
|
ФБB9.4.6-Т ФБB9.5.6-Т ФБB9.6.6-Т |
|
П1 |
|
0,161 0,202 0,243 |
0,76 |
0,39 0,49 0,58 |
|
ФБП24.4.6-Т ФБП24.5.6-Т ФБП24.6.6-Т |
В12,5 |
П2 |
|
0,439 0,526 0,583 |
1,46 |
1,05 1,26 1,40 |
Примечание. Масса блоков приведена для тяжелого бетона средней плотности 2400 кг/м3.
Таблица 3
|
Марка блока |
Класс бетона по прочности на сжатие |
Монтажная петля |
Расход материалов |
Масса блока (справочная),т |
||
|
Марка |
Количество |
Бетон, м3 |
Сталь, кг |
|||
|
ФБС24.3.6-Л ФБС24.4.6-Л ФБС24.5.6-Л |
|
П2а |
|
0,406 0,543 0,679 |
1,46 |
0,73 0,98 1,22 |
|
ФБС24.6.6-Л |
В7,5 |
П3 |
2 |
0,815 |
2,36 |
1,47 |
|
ФБС12.4.6-Л |
|
П1 |
|
0,265 |
0,76 |
0,48 |
|
ФБС12.5.6-Л ФБС12.6.6-Л |
|
П2 |
|
0,331 0,398 |
1,46 |
0,60 0,72 |
|
ФБС12.4.3-Л ФБС12.5.3-Л ФБС12.6.3-Л |
|
П4 |
|
0,127 0,159 0,191 |
0,74 |
0,23 0,29 0,35 |
|
ФБС9.3.6-Л ФБС9.4.6-Л ФБС9.5.6-Л ФБС9.6.6-Л ФБB9.4.6-Л ФБB9.5.6-Л ФБB9.6.6-Л |
|
П1 |
|
0,146 0,195 0,244 0,293 0,161 0,202 0,243 |
0,76 |
0,26 0,35 0,44 0,53 0,29 0,37 0,44 |
|
ФБП24.4.6-Л ФБП24.5.6-Л ФБП24.6.6-Л |
В12,5 |
П2 |
|
0,439 0,526 0,583 |
1,46 |
0,79 0,95 1,05 |
Примечание. Масса блоков, а также марка монтажных петель приведены для блоков из легкого бетона средней плотности 1800 кг/м3.
|
Марка блока |
Класс бетона по прочности на сжатие |
Монтажная петля |
Расход материалов |
Масса блока (справочная), т |
||
|
Марка |
Количество |
Бетон, м3 |
Сталь, кг |
|||
|
ФБС24.3.6-С ФБС24.4.6-С ФБС24.5.6-С |
|
П2а |
|
0,406 0,543 0,679 |
1,46 |
0,81 1,09 1,36 |
|
ФБС24.6.6-С |
|
П3 |
2 |
0,815 |
2,36 |
1,63 |
|
ФБС12.4.6-С |
|
П1 |
|
0,265 |
0,76 |
0,53 |
|
ФБС12.5.6-С ФБС12.6.6-С |
|
П2 |
|
0,331 0,398 |
1,46 |
0,66 0,80 |
|
ФБС12.4.3-С ФБС12.5.3-С ФБС12.6.3-С |
|
П4 |
|
0,127 0,159 0,191 |
0,74 |
0,25 0,32 0,38 |
|
ФБС9.3.6-С ФБС9.4.6-С ФБС9.5.6-С ФБС9.6.6-С ФБB9.4.6-С ФБB9.5.6-С ФБB9.6.6-С |
В15 |
П1 |
|
0,146 0,195 0,244 0,293 0,161 0,202 0,243 |
0,76 |
0,29 0,39 0,49 0,59 0,32 0,40 0,49 |
|
ФБП24.4.6-С ФБП24.5.6-С ФБП24.6.6-С |
|
П2 |
|
0,439 0,526 0,583 |
1,46 |
0,88 1,05 1,17 |
Примечание. Масса блоков, а также марки монтажных петель приведены для блоков из плотного силикатного бетона средней плотности 2000 кг/м3.
Табл. 2 - 4 (Измененная редакция, Изм. № 1).
При применении для подъема и монтажа блоков специальных захватных устройств допускается, по согласованию изготовителя с потребителем и проектной организацией, изготовление блоков без монтажных петель.
2.1. Материалы, применяемые для приготовления бетона, должны обеспечивать выполнение технических требований, установленных настоящим стандартом, и соответствовать действующим стандартам или техническим условиям на эти материалы.
2.2. Фактическая прочность бетона блоков (в проектном возрасте и отпускная) должна соответствовать требуемой, назначаемой по ГОСТ 18105 в зависимости от нормируемой прочности бетона, указанной в проектной документации на здание или сооружение, и от показателя фактической однородности прочности бетона.
(Измененная редакция, Изм. № 1).
2.3. Морозостойкость и водонепроницаемость бетона должны назначаться в проекте в зависимости от режима эксплуатации конструкций и климатических условий района строительства согласно СНиП 2.03.01 - для тяжелого бетона и легкого бетонов и СНиП 2.03.02 - для плотного силикатного бетона.
2.4. Бетон, а также материалы для приготовления бетона блоков, предназначенных для применения в условиях воздействия агрессивной среды, должны удовлетворять требованиям СНиП 2.03.11, а также дополнительным требованиям СНиП 2.03.02 для блоков из плотного силикатного бетона.
2.5. Классы бетона по прочности на сжатие, марки бетона по морозостойкости и водонепроницаемости, а при необходимости и требования к бетону и материалам для его приготовления (см. п. 2.4), должны соответствовать проектным, указываемым в заказах на изготовление блоков.
2.6. Поставку блоков потребителю следует производить после достижения бетоном требуемой отпускной прочности (см. п. 2.2).
2.7. Значение нормируемой отпускной прочности бетона блоков (в процентах от класса по прочности на сжатие) следует принимать равным:
50 - для тяжелого бетона и легкого бетона класса В12,5 и выше;
70 - для тяжелого бетона класса В10 и ниже;
80 - для легкого бетона класса В10 и ниже;
100 - для плотного силикатного бетона.
При поставке блоков в холодный период года допускается повышать нормируемую отпускную прочность бетона, но не более значений (в процентах от класса по прочности на сжатие):
70 - для бетона класса В12,5 и выше;
90 - для бетона класса В10 и ниже.
Значение нормируемой отпускной прочности бетона следует принимать по проектной документации на конкретное здание или сооружение в соответствии с требованиями ГОСТ 13015.0.
Поставку блоков с отпускной прочностью бетона ниже прочности, соответствующей его классу по прочности на сжатие, производят при условии, если изготовитель гарантирует достижение бетоном блоков требуемой прочности в проектном возрасте, определяемой по результатам испытания контрольных образцов, изготовленных из бетонной смеси рабочего состава и хранившихся в условиях согласно ГОСТ 18105.
2.5 - 2.7. (Измененная редакция, Изм. № 1).
2.8. При отпуске блоков потребителю влажность легкого бетона не должна быть более 12 %.
(Измененная редакция, Изм. № 1).
2.9. Монтажные петли блоков следует изготовляться из стержневой горячекатаной арматуры гладкой класса А-I марок ВСт3пс2 и ВСт3сп2 или периодического профиля Аc-II, марки 10ГТ по ГОСТ 5781.
Арматуру из стали марки ВСт3пс2 не допускается применять для монтажных петель, предназначенных для подъема и монтажа блоков при температуре ниже минус 40° С.
2.10. Отклонения проектных размеров блоков не должны превышать, мм:
по длине
13
по ширине и высоте
8
по размерам вырезов
5
2.11. Отклонение от прямолинейности профиля поверхностей блока не должно превышать 3 мм на всей длине и ширине блока.
(Измененная редакция).
2.12. Устанавливаются следующие категории бетонной поверхности блоков:
А3 - лицевой, предназначенной под окраску;
А5 - лицевой, предназначенной под отделку керамическими плитками, укладываемыми по слою раствора;
А6 - лицевой, неотделываемой;
А7 - нелицевой, не видимой в условиях эксплуатации.
Требования к качеству поверхностей блоков - по ГОСТ 13015.0.
(Измененная редакция, Изм. № 1).
2.13. (Исключен, Изм. № 1).
2.14. В бетоне блоков, принимаемых согласно разд. 3, не допускаются трещины, за исключением местных поверхностных усадочных, ширина которых не должна превышать 0,1 мм в блоках из тяжелого и плотного силикатного бетонов и 0,2 мм - в блоках из легкого бетона.
(Измененная редакция, Изм. № 1).
2.15. Монтажные петли должны быть очищены от наплавов бетона.
3.1. Приемку блоков следует производить партиями в соответствии с требованиями ГОСТ 13015.1 и настоящего стандарта.
3.2. Приемку блоков по морозостойкости и водонепроницаемости бетона, отпускной влажности легкого бетона, а также по водопоглощению бетона блоков, предназначенных для эксплуатации в среде с агрессивной степенью воздействия, следует производить по результатам периодических испытаний.
3.3. Испытания бетона на водонепроницаемость и водопоглощение блоков, к которым предъявляют эти требования, следует проводить не реже одного раза в 3 мес.
3.4. Отпускную влажность легкого бетона следует контролировать не реже одного раза в месяц по результатам испытания проб, отобранных из трех готовых блоков.
Оценку фактической отпускной влажности следует проводить по результатам проверки каждого контролируемого блока по среднему значению влажности отобранных из него проб.
3.5. Приемку блоков по показателям прочности бетона (классу бетона по прочности на сжатие и отпускной прочности), соответствия монтажных петель требованиям настоящего стандарта, точности геометрических параметров, ширины раскрытия технологических трещин и категории бетонной поверхности блоков следует производить по результатам приемо-сдаточных испытаний.
3.6. Приемку блоков по показателям точности геометрических параметров, категории бетонной поверхности и ширины раскрытия технологических трещин следует осуществлять по результатам выборочного контроля.
3.7. Приемку блоков по наличию монтажных петель, правильности нанесения маркировочных надписей и знаков следует производить путем сплошного контроля с отбраковкой блоков, имеющих дефекты по указанным показателям.
Разд. 3. (Измененная редакция, Изм. № 1).
4.1. Прочность бетона на сжатие следует определять по ГОСТ 10180 на серии образцов, изготовленных из бетонной смеси рабочего состава и хранившихся в условиях, установленных ГОСТ 18105.
При испытании блоков неразрушающими методами фактическую отпускную прочность бетона на сжатие следует определять ультразвуковым методом по ГОСТ 17624 или приборами механического действия по ГОСТ 22690, а также другими методами, предусмотренными стандартами на методы испытания бетона.
(Измененная редакция, Изм. № 1).
4.2. (Исключен, Изм. № 1).
4.3. Марку бетона по морозостойкости следует определять по ГОСТ 10060.
4.4. Водонепроницаемость бетона блоков следует определять по ГОСТ 12730.0 и ГОСТ 12730.5 на серии образцов, изготовленных из бетонной смеси рабочего состава.
(Измененная редакция, Изм. № 1).
4.4.1. (Исключен, Изм. № 1).
4.5. Водопоглощение бетона блоков, предназначенных для применения в условиях воздействия агрессивной среды, следует определять в соответствии с требованиями ГОСТ 12730.0 и ГОСТ 12730.3 на серии образцов, изготовленных из бетонной смеси рабочего состава.
(Измененная редакция, Изм. № 1).
4.6. (Исключен, Изм. № 1).
4.7. Влажность легкого бетона следует определять по ГОСТ 12730.0 и ГОСТ 12730.2 испытанием проб, отобранных из готовых блоков.
От каждого блока следует отобрать не менее двух проб.
Допускается определять влажность бетона блоков диэлькометрическим методом по ГОСТ 21718.
(Измененная редакция, Изм. № 1).
4.8. Размеры и отклонения от прямолинейности блоков, положение монтажных петель, ширину раскрытия технологических трещин, размеры раковин, наплывов и околов бетона блоков следует проверять методами, установленными ГОСТ 26433.0 и ГОСТ 26433.1.
(Измененная редакция, Изм. № 1).
5.1. Маркировка блоков - по ГОСТ 13015.2.
Маркировочные надписи и знаки следует наносить на боковую поверхность блока.
(Измененная редакция, Изм. № 1).
5.2. Блоки следует хранить в штабелях рассортированными по маркам и партиям и уложенными вплотную друг к другу.
Высота штабеля из блоков должна быть не более 2,5 м.
5.3. При хранении и транспортировании каждый блок следует укладывать на прокладки, расположенные по вертикали одна над другой между рядами блоков.
Подкладки под нижний ряд блоков следует укладывать по плотному, тщательно выровненному основанию.
5.4. Толщина прокладок должна быть не менее 30 мм.
5.5. При транспортировании блоки должны быть надежно закреплены от смещения.
Высота штабеля при транспортировании устанавливается в зависимости от грузоподъемности транспортных средств и допускаемых габаритов погрузки.
5.6. Погрузку, транспортирование, разгрузку и хранение блоков следует производить с соблюдением мер, исключающих возможность их повреждения.
5.7. Требования к документу о качестве блоков, поставляемых потребителю, - по ГОСТ 13015.3.
Дополнительно в документе о качестве блоков должны быть приведены марки бетона по морозостойкости и водонепроницаемости, а также водопоглощение бетона (если эти показатели оговорены в заказе на изготовление блоков).
(Измененная редакция, Изм. № 1).
6.1. Изготовитель должен гарантировать соответствие поставляемых блоков требованиям настоящего стандарта при соблюдении потребителем правил транспортирования, условий применения и хранения блоков, установленных стандартом.
Обязательное
МОНТАЖНЫЕ ПЕТЛИ

Спецификация и выборка стали на одну монтажную петлю
|
Марка монтажной петли |
Поз. |
Диаметр, мм |
Длина, мм |
Кол. |
Масса, кг |
|
П1 |
1 |
8АI |
970 |
|
0,38 |
|
П2, П2а |
2 |
10АI |
1180 |
1 |
0,73 |
|
П3 |
3 |
12АI |
1330 |
|
1,18 |
|
П4 |
4 |
8АI |
940 |
|
0,37 |
ИНФОРМАЦИОННЫЕ ДАННЫЕ
1. РАЗРАБОТАН И ВНЕСЕН Государственным комитетом по архитектуре и градостроительству при Госстрое СССР (Госкомархитектуры)
Разработчики:
А.А. Шеренцис, канд. техн. наук (руководитель темы); В.Ф. Москвин; Л.Г. Пащевская; С.А. Каган, канд. техн. наук; В.И. Деньщиков
2. УТВЕРЖДЕН И ВВЕДЕН В ДЕЙСТВИЕ Постановлением Государственного комитета Совета Министров СССР по делам строительства от 30.12.77 № 234
3. ВЗАМЕН ГОСТ 13579-68
4. ССЫЛОЧНЫЕ НОРМАТИВНО-ТЕХНИЧЕСКИЕ ДОКУМЕНТЫ
|
Обозначение НТД, на который дана ссылка |
Номер пункта |
|
2.9 |
|
|
ГОСТ 10060-87 |
4.3 |
|
4.1 |
|
|
4.4, 4.5, 4.7 |
|
|
4.7 |
|
|
4.5 |
|
|
4.4 |
|
|
2.7, 2.12 |
|
|
3.1 |
|
|
5.1 |
|
|
5.7 |
|
|
4.1 |
|
|
2.2, 2.7, 4.1 |
|
|
4.7 |
|
|
4.1 |
|
|
4.8 |
|
|
4.8 |
|
|
2.3 |
|
|
2.3, 2.4 |
|
|
2.4 |
5 ПЕРЕИЗДАНИЕ (июнь 1990 г.) с Изменениями № 1, утвержденными в ноябре 1985 г. (ИУС 3-86), и поправками