
ГОСУДАРСТВЕННЫЙ СТАНДАРТ СОЮЗА ССР
КРАНЫ РЕГУЛИРУЮЩИЕ
ДЛЯ НАГРЕВАТЕЛЬНЫХ ПРИБОРОВ
СИСТЕМ ВОДЯНОГО ОТОПЛЕНИЯ ЗДАНИЙ
ГОСТ 10944-75
ИЗДАТЕЛЬСТВО СТАНДАРТОВ
СОДЕРЖАНИЕ
|
1. ТИПЫ И ОСНОВНЫЕ РАЗМЕРЫ... 1 3. ПРАВИЛА ПРИЕМКИ И МЕТОДЫ ИСПЫТАНИЙ.. 3 4. МАРКИРОВКА, УПАКОВКА, ТРАНСПОРТИРОВАНИЕ И ХРАНЕНИЕ. 4
|
ГОСУДАРСТВЕННЫЙ СТАНДАРТ СОЮЗА ССР
|
КРАНЫ РЕГУЛИРУЮЩИЕ ДЛЯ НАГРЕВАТЕЛЬНЫХ ПРИБОРОВ СИСТЕМ ВОДЯНОГО ОТОПЛЕНИЯ ЗДАНИЙ Control valves of the heating installations
|
ГОСТ 10944-75 Взамен ГОСТ 10944-64 |
Постановлением Государственного комитета Совета Министров СССР по делам строительства от 17 октября 1975 г. № 176 срок введения установлен
с 01.07.76
для кранов Dу 10 мм - с 01.01.78
Настоящий стандарт распространяется на краны, предназначенные для ручного регулирования теплоотдачи нагревательных приборов в системах водяного отопления зданий при температуре теплоносителя до 423К (150 °С) и рабочем давлении до 1,0МПа (10 кгс/см2).
1.1. Краны должны изготавливаться следующих типов, указанных в табл. 1.
Таблица 1
|
Обозначение |
Наименование |
Рекомендуемая область применения |
Назначение крана |
|
КРТ |
Кран регулирующий трехходовой |
Для однотрубных систем отопления |
Потребительское регулирование |
|
КРП |
Кран регулирующий проходной |
То же |
То же |
|
КРД |
Кран регулирующий двойной регулировки |
Для двухтрубных систем отопления |
Монтажное и потребительское регулирование |
1.2. Краны всех типов в зависимости от конструктивного решения регулирующего устройства могут быть шиберными (Ш), вентильными (В), пробковыми (П) и дроссельными (Д).
1.3. Краны типов КРП и КРД в зависимости от монтажного положения должны изготавливаться только в универсальном исполнении - пригодными для установки на правой и левой подводках.
Краны типа КРТ могут изготавливаться как в универсальном, так и в одностороннем исполнении - для установки только на правой (п) или только не левой (л) подводке.
1.4. Примеры возможных конструктивных решений кранов приведены в приложении к настоящему стандарту.
1.5. Основные размеры кранов должны соответствовать указанным в табл. 2.
Таблица 2
|
Тип крана |
Условный проход Dу, мм |
Длина, мм, не более |
Высота над осью трубопровода, мм, не более |
Диаметр шпинделя, мм |
Резьба присоединительного конца, трубная, дюймы |
Масса справочная, кг |
|
КРТ |
10 |
50 |
60 |
10 |
3/8 |
0,35 |
|
15 |
55 |
1/2 |
0,40 |
|||
|
20 |
60 |
70 |
3/4 |
0,50 |
||
|
КРП |
10 |
50 |
60 |
3/8 |
0,28 |
|
|
15 |
55 |
70 |
1/2 |
0,30 |
||
|
20 |
60 |
80 |
3/4 |
0,40 |
||
|
КРД |
10 |
50 |
60 |
3/8 |
0,30 |
|
|
15 |
55 |
1/2 |
0,40 |
|||
|
20 |
60 |
70 |
3/4 |
0,50 |
Пример условного обозначения трехходового регулирующего крана в универсальном исполнении, с условным проходом Dу 20 мм, с вентильным регулирующим устройством:
Кран КРТВ 20 ГОСТ 10944-75
То же, в одностороннем исполнении, для установки на правой подводке:
Кран КРТВп 20 ГОСТ 10944-75
То же, проходного регулирующего крана, с условным проходом Dу 15 мм, с пробковым регулирующим устройством:
Кран КРПП 15 ГОСТ 10944-75
То же, регулирующего крана двойной регулировки, с условным проходом Dу 15 мм, с шиберным регулирующим устройством:
Кран КРДШ 15 ГОСТ 10944-75
2.1. Краны должны изготавливаться в соответствии с требованиями настоящего стандарта по рабочим чертежам, утвержденным в установленном порядке.
2.2. Конструкция регулирующего устройства крана должна обеспечивать плавное изменение теплоотдачи нагревательного прибора.
2.3. На корпусе или регулирующем устройстве крана типа КРД для определения положения регулирующего устройства при монтажном регулировании должна быть нанесена градуировка, соответствующая паспортным характеристикам крана.
На рукоятках кранов всех типов должны быть нанесены необходимые указатели для потребительского регулирования.
2.4. Краны должны иметь ограничители крайних положений регулирующего устройства. Конструкция ограничителя должна исключать возможность изменения его положения потребителем.
2.5. Конструкция кранов должна позволять производить их установку с расположением оси шпинделя во всех промежуточных положениях от горизонтального до вертикального (рукояткой вверх).
2.6. Корпус крана и детали, соприкасающиеся с теплоносителем, должны изготавливаться из латуни марки ЛС-1Л по ГОСТ 17711-93, в качестве сальниковой набивки должен применяться фторопластовый уплотнительный материал по МРТУ 6-6-05-870-66 или сальниковая набивка по ГОСТ 5152-84.
2.7. Конструкция и материал рукояток кранов должны исключать их нагрев св. 45 °С на поверхности.
2.8. Литые детали кранов не должны иметь раковин, трещин, следов литников, шлаковых включений. Поверхности деталей должны быть очищены от облоя.
2.9. Присоединительные концы кранов должны выполняться муфтовыми по ГОСТ 6527-68 или ниппельными. В кранах типов КРА и КРД с Dу 10 мм присоединительные концы со стороны нагревательного прибора должны выполняться только ниппельными.
2.10. Противоположные присоединительные концы в кранах должны располагаться на одной оси, отводной присоединительный конец в кранах типа КРТ - под углом 90°. Отклонение не должно превышать: 1° для муфтовых и 3° для ниппельных и муфтово-ниппельных концов.
2.11. Трубная резьба присоединительных концов должна выполняться по ГОСТ 6357-81, класс точности В. Для других соединений выполняется метрическая резьба по ГОСТ 9150-81 и ГОСТ 24705-81 с допусками по ГОСТ 16093-81, грубый класс точности.
2.12. Сбеги резьб, недорезы, проточки и фаски должны выполняться по ГОСТ 10549-80.
2.13. Наличие сорванных витков, а также заусенцы на поверхности резьбы, препятствующие соединению деталей, не допускаются.
Рванины и выкрашивания на поверхности резьбы не должны выходить за пределы среднего диаметра резьбы и их общая протяженность не должна превышать 1/3 витка.
2.14. Предельные отклонения размеров деталей кранов с необработанными поверхностями должны соответствовать указанным в ОСТ 1010, 9-й класс точности; с обработанными поверхностями - в соответствии с указанными в рабочих чертежах.
2.15. Обработанные детали кранов не должны иметь заусенцев и острых кромок.
2.16. Наружные поверхности корпуса крана и деталей, выступающих из-под рукоятки, должны быть осветлены.
2.17. Перед сборкой кранов поверхности их деталей должны быть очищены от загрязнений.
2.18. Регулирующее устройство кранов должно иметь плавный и легких ход без заеданий.
Крутящий момент на рукоятке крана при открывании и закрывании регулирующего устройства не должен превышать 0,2 кгс×м.
2.19. Краны должны быть прочными и герметичными и выдерживать испытательное давление 1,5МПа (~ 15 кгс/см2).
2.20. Негерметичность регулирующих устройств в закрытом положении при разности давлений до и после них, равной 1кПа (~ 0,01 кгс/см2), не должна превышать:
20 см3/мин - в кранах Dу 10 и 15 мм;
30 см3/мин - в кранах Dу 20 мм.
2.21. Коэффициент гидравлического сопротивления кранов в открытом положении регулирующего устройства должен соответствовать указанному в табл. 3.
Таблица 3
|
Тип крана |
Dу, мм |
Расход теплоносителя в подводке к нагревательному прибору, л/ч |
Коэффициент гидравлического сопротивления |
|
КРТ |
10 |
От 300 до 600 |
От 3,5 до 4,0 - на проход от 4,0 до 4,5 - на поворот |
|
15 |
От 3,0 до 3,5 - на проход от 4,0 до 4,5 - на поворот |
||
|
20 |
От 2,5 до 3,0 - на проход от 3,0 до 3,5 - на поворот |
||
|
КРП |
10 |
От 300 до 600 |
От 3,5 до 4,0 |
|
15 |
От 3,0 до 3,5 |
||
|
От 50 до 100 |
От 300,0 до 500,0* |
||
|
20 |
От 300 до 600 |
От 2,5 до 3,0 |
|
|
КРД |
10 |
От 50 до 100 |
От 4,5 до 18,0 |
|
15 |
От 5,0 до 14,0 |
||
|
20 |
От 6,0 до 13, 0 |
____________________
* Для кранов с дроссельным регулирующим устройством.
2.22. Краны относятся к классу ремонтируемых изделий. Средний ресурс до испытания - 1500 циклов; наработка на отказ - не менее 4000 циклов.
3.1. Каждый кран должен быть принят техническим контролем предприятия-изготовителя.
3.2. Краны подвергают приемосдаточным, периодическим и типовым испытаниям.
3.3. Потребитель имеет право проводить контрольную проверку качества кранов и соответствия их требованиям настоящего стандарта.
3.4. При приемосдаточных испытаниях каждый кран подвергают внешнему осмотру и испытывают на прочность и герметичность.
Периодическим испытаниям подвергают по три крана каждого типоразмера не реже одного раза в два года.
3.6. При типовых испытаниях проверяют параметры согласно п. 3.5, а также гидравлическое сопротивление кранов.
Типовые испытания проводят при изменении конструкции кранов или технологии их изготовления, если эти изменения могут повлиять на уровень надежности и другие параметры кранов.
3.7. Проточная полость кранов, подвергающихся периодическим и типовым испытаниям, должна быть обезжирена керосином по нормативно-технической документации или уайт-спиритом по ГОСТ 3134-78.
3.8. При контрольной проверке качества кранов потребителем внешнему осмотру, проверке размеров, испытаниям на прочность и герметичность и проверке количества пропускаемой воды краном в закрытом положении регулирующего устройства подвергают 5% кранов, но не менее 10 шт. от партии. Размер партии устанавливается соглашением сторон.
3.9. Если при контрольной проверке хотя бы один кран по какому-либо показателю не будет удовлетворять требованиям настоящего стандарта, проводят повторную проверку по этому показателю удвоенного количества кранов той же партии. В случае неудовлетворительных результатов повторной проверки партия кранов приемке не подлежит.
3.10. Размеры кранов проверяют универсальным и специальным измерительным инструментом и шаблонами, резьбы - резьбовыми калибрами и кольцами.
3.11. Величину крутящего момента при открывании и закрывании регулирующего устройства крана проверяют на специальном стенде, оборудованном динамометром.
3.12. Прочность и герметичность кранов проверяют подачей в один из присоединительных концов крана (при заглушенных других) воды (гидравлические испытания) или воздуха (пневматические испытания) под давлением 1,5 МПа (~ 15 кгс/см2). Регулирующие устройства в кранах типов КРП и КРД должны быть в открытом, а в кранах типа КРТ - в среднем положениях.
Испытания проводят в течение времени, необходимого для выявления дефектов, но не менее 30 с. Выдержавшими испытания считают краны, на поверхности и в местах уплотнительных устройств которых после двукратного поворота регулирующего устройства не будет выявлено просачивания воды или «потения» при гидравлических испытаниях и появления пузырьков воздуха в воде, куда погружают кран на время испытания, при пневматических испытаниях.
3.13. Величину пропуска воды через кран при закрытом положении регулирующего устройства проверяют на специальном стенде, создающем избыточное давление воды 1кПа (~ 0,01 кгс/см2) и оснащенном мерной емкостью и секундомером.
3.14. После проведения гидравлических испытаний, а также проверки величины пропуска воды через кран вода из крана должна быть удалена, а его внутренняя полость продута воздухом или просушена.
3.15. Гидравлическое сопротивление кранов проверяют по методике базовой организации по стандартизации кранов.
3.16. Периодические и типовые испытания проводятся предприятием-изготовителем или по его заказу специализированной организацией.
4.1. Маркировка кранов - по ГОСТ 4666-75.
4.2. Упаковка кранов должна осуществляться в дощатые ящики типа II по ГОСТ 2991-85 или фанерные ящики типа IV по ГОСТ 5959-80.
Регулирующие устройства кранов перед упаковкой должны быть полностью открыты.
4.3. Рукоятки кранов, изготовленные из неметаллических материалов, должны упаковываться в ящики с кранами в специальный отсек.
4.4. Упаковка должна обеспечивать сохранность кранов и рукояток от механических повреждений при транспортировании и хранении.
4.5. Маркировка тары - по ГОСТ 14192-77.
4.6. Масса тары брутто не должна превышать 50 кг.
4.7. Партия кранов, отгружаемая одному потребителю по одному документу, должна сопровождаться двумя комплектами эксплуатационной документации по ГОСТ 2.601-68, содержащей паспорт, техническое описание и инструкцию по эксплуатации.
По требованию потребителя предприятие-изготовитель должно прилагать эксплуатационную документацию в больших количествах.
4.8. Транспортирование кранов допускается любым видом транспорта, обеспечивающим сохранность кранов от механических повреждений и воздействия атмосферных осадков.
4.9. Краны должны храниться в упакованном виде в закрытом помещении.
5.1. Предприятие-изготовитель должно гарантировать соответствие кранов требованиям настоящего стандарта.
5.2. Гарантийный срок при соблюдении потребителем требований настоящего стандарта и эксплуатационной документации при хранении, монтаже и эксплуатации кранов - один год со дня сдачи в эксплуатацию, но не более двух лет со дня отгрузки с предприятия-изготовителя.
Справочное
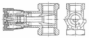
Кран регулирующий трехходовой с пробковым регулирующим устройством

Кран, регулирующий проходной с дроссельным регулирующим устройством

Кран, регулирующий проходной с шиберным регулирующим устройством

Кран, регулирующий проходной с шиберным устройством и ниппельным присоединительным концом

Кран, регулирующий двойной регулировки с шиберным регулирующим устройством
|
|
|
|
|
|