
ГОСУДАРСТВЕННЫЙ СТАНДАРТ СОЮЗА ССР
ТРУБЫ ЧУГУННЫЕ
КАНАЛИЗАЦИОННЫЕ И ФАСОННЫЕ
ЧАСТИ К НИМ.
МУФТЫ
КОНСТРУКЦИЯ И РАЗМЕРЫ
ГОСТ 6942.22-80
ГОСУДАРСТВЕННЫЙ КОМИТЕТ СССР ПО ДЕЛАМ СТРОИТЕЛЬСТВА
Москва
РАЗРАБОТАНЫ Министерством промышленности строительных материалов СССР
ИСПОЛНИТЕЛИ
О.П. Михеев, канд. техн. наук (руководитель темы); В.И. Фельдман, канд. техн. наук; В.Н. Бехалов, канд. техн. наук
ВНЕСЕНЫ Министерством промышленности строительных материалов СССР
Зам. министра Н.П. Кабанов
УТВЕРЖДЕНЫ И ВВЕДЕНЫ В ДЕЙСТВИЕ Постановлением Государственного комитета СССР по делам строительства от 4 сентября 1980 г. № 137
ГОСУДАРСТВЕННЫЙ СТАНДАРТ СОЮЗА ССР
|
ТРУБЫ ЧУГУННЫЕ КАНАЛИЗАЦИОННЫЕ И ФАСОННЫЕ ЧАСТИ К НИМ МУФТЫ Конструкция и размеры Cast iron waste pipes and fittings.
|
ГОСТ 6942.22-80 Взамен ГОСТ 6942.28-69 |
Постановлением Государственного комитета СССР по делам строительства от 4 сентября 1980 г. №137 срок введения установлен
с 01.01 1982 г.
Несоблюдение стандарта преследуется по закону
1. Настоящий стандарт распространяется на муфты к чугунным трубам, предназначенным для систем внутренней канализации зданий.
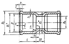
2. Конструкция и размеры муфт должны соответствовать указанным на чертеже и в таблице.

* Размеры для справок
Размеры в мм
|
Условный проход Dy |
Код ОКП |
D |
D1 |
D2 |
D3 |
b |
b1 |
r |
s |
s1 |
l |
R |
с |
Масса, кг |
|
50 |
49 2521 4511 |
72 |
81 |
90 |
81 |
13 |
8 |
6,0 |
4,0 |
4,5 |
60 |
8 |
9 |
1,4 |
|
100 |
49 2522 4511 |
123 |
133 |
145 |
133 |
14 |
10 |
6,0 |
4,5 |
5,0 |
65 |
10 |
10 |
3,2 |
|
150 |
49 2523 4511 |
176 |
187 |
202 |
187 |
15 |
12 |
7,5 |
5,0 |
5,5 |
70 |
12 |
12 |
5,6 |
Примечание. Размеры и масса даны без учета антикоррозионного покрытия.
Пример условного обозначения муфты Dy = 100 мм:
Муфта Мф-100 ГОСТ 6942.22-80
3. Технические требования, правила приемки, методы контроля, маркировка, упаковка, транспортирование, хранение, гарантии изготовителя - по ГОСТ 6942.0-80.