ГОСТ 27396-93
(МЭК 120-84)
МЕЖГОСУДАРСТВЕННЫЙ СТАНДАРТ
АРМАТУРА ЛИНЕЙНАЯ
СФЕРИЧЕСКИЕ
ШАРНИРНЫЕ
СОЕДИНЕНИЯ ИЗОЛЯТОРОВ
РАЗМЕРЫ
МЕЖГОСУДАРСТВЕННЫЙ
СОВЕТ
ПО СТАНДАРТИЗАЦИИ, МЕТРОЛОГИИ И СЕРТИФИКАЦИИ
Минск
1 РАЗРАБОТАН Российской Федерацией
ВНЕСЕН Техническим секретариатом Межгосударственного совета по стандартизации, метрологии и сертификации
2 ПРИНЯТ Межгосударственным советом по стандартизации, метрологии и сертификации 21 октября 1993 г.
Настоящий стандарт содержит полный аутентичный текст международного стандарта МЭК 120-84 «Размеры шаровых шарнирных соединений и шаровые опорные поверхности элементов гирлянд изоляторов» с дополнительными требованиями, отражающими потребности народного хозяйства
За принятие проголосовали:
|
Наименование государства |
Наименование национального органа по стандартизации |
|
Республика Беларусь |
Белстандарт |
|
Республика Казахстан |
Казглавстандарт |
|
Российская Федерация |
Госстандарт России |
3 Постановлением комитета Российской Федерации по стандартизации, метрологии и сертификации от 23 марта 1994 г. № 68 межгосударственный стандарт ГОСТ 27396-93 введен в действие непосредственно в качестве государственного стандарта Российской Федерации с 1 января 1995 г.
4 ВЗАМЕН ГОСТ 27396-87
5 ПЕРЕИЗДАНИЕ
СОДЕРЖАНИЕ
МЕЖГОСУДАРСТВЕННЫЙ СТАНДАРТ
|
Арматура линейная СФЕРИЧЕСКИЕ ШАРНИРНЫЕ СОЕДИНЕНИЯ ИЗОЛЯТОРОВ Размеры Line accessories. Ball-socket couplings of insulators. Dimensions |
ГОСТ (МЭК 120-84) |
Дата введения 1995-01-01
Настоящий стандарт распространяется на тарельчатые и длинностержневые высоковольтные изоляторы и на примыкающие к ним металлические соединительные элементы - линейную арматуру.
Целью разработки настоящего стандарта является определение размеров ряда стандартных соединений пестик-гнездо, использующих стандартные запирающие устройства по ГОСТ 12253, для обеспечения взаимозаменяемости изоляторов и арматуры, поставляемых различными изготовителями.
Примечание - В стандарте рассмотрены только размеры, необходимые для сборки. Свойства материала и рабочие нагрузки не нормированы. Связь размеров с классами прочности осуществлена в ГОСТ 27661 и в приложении Б.
Дополнительные требования, отражающие потребности народного хозяйства, отмечены вертикальной чертой слева.
Настоящий стандарт включает в себя пункты, в которых приведены шесть типоразмеров соединений, определяемых условными диаметрами стержней, и которые составляют основу стандарта. Каждый типоразмер установлен в соответствии с размерами пестика, гнезда и подвесного проходного калибра, определяющего возможность сцепления, указанными в пунктах 9, 10, 11. Размеры двусторонних пестиков для соединения двух гнезд указаны в п. 12.
Зазоры и условия запирания приведены в пунктах 13 и 14.
Размеры отверстия для замка представлены в пунктах 15 и 16.
Все размеры приведены в миллиметрах.
Для соединения пестик-гнездо все размеры относятся к готовому изделию, полученному после всех операций обработки поверхности.
Крайние положения пестика в гнезде указаны в приложении А.
Калибры для контроля размеров пестиков и гнезд приведены в приложении В.
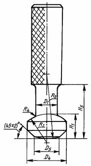
Размеры пестика должны соответствовать указанным в пункте 9.
Основные размеры, задающие форму пестика, - h1, d2, r1, r2. Размер r3 дан для справки, поскольку его точное значение может быть получено только геометрическим построением. Кроме того, значение диаметра пестика d1 не должно превышать значений, указанных на длине, равной H3 соответствующего изношенного подвесного проходного калибра (см. пункт 11).
Внутренняя поверхность гнезда должна иметь размеры, указанные в пункте 10, в котором приведена также минимальная высота замка.
Примечания
1 Гнезда, соответствующие требованиям, приведенным в пункте 10, показаны с плоскими днищами. Гнезда с округленными нижними поверхностями с радиусами кривизны не менее чем размеры r2 пестиков также могут быть использованы. В этом случае размеры R5 должны быть соответственно уменьшены.
2 Условный размер 16 мм в соответствии с требованиями пункта 10 включает в себя два различных гнезда: гнездо для стандартного пестика и его более ранних образцов с R1 = 23 (исполнение А) и гнездо для пестиков с r2 = 50 (исполнение В). Исполнения А и В отличаются одно от другого только размерами H1 Н2 и Т. Использование исполнения А, имеющего меньшие размеры, предпочтительно в тех случаях, когда монтаж с пестиками не требует применения исполнения В.
3 Минимальную внутреннюю высоту Н2 рассчитывают для замка минимальной высотой Т, помещенного на дно гнезда. Если замок имеет большую высоту или если он помещен выше дна гнезда, то размер Н2 должен быть соответственно увеличен настолько, чтобы зазор между пестиком и верхней поверхностью замка остался без изменения.
При использовании замков по ГОСТ 12253 высота Н2 должна соответствовать требованиям пункта 6 настоящего стандарта.
Внешние размеры гнезда не подлежат нормированию, однако они должны допускать прохождение подвесного проходного калибра согласно требованиям пункта 11.
Форма нижней части изолятора должна допускать возможность монтажа с использованием шапки, имеющей максимальные внешние размеры согласно требованиям пункта 6.
Замки W-образные и типа шплинт должны иметь конструкцию, обеспечивающую фиксацию пестика минимального размера в гнезде максимального размера. Это требование должно быть выполнено лишь в том случае, если значение высоты T такого замка не менее значений, указанных в пункте 5.
|
Условный размер |
d1 |
d2 |
h1 |
r1 |
r2 |
r*3 |
r4 |
|
11 |
|
|
|
35 |
35 |
3,5 |
|
|
16 |
|
|
|
23 |
50 |
3,0 |
|
|
20 |
|
|
|
27 |
60 |
5,7 |
|
|
24 |
|
|
|
40 |
70 |
6,6 |
|
|
28 |
|
|
|
55 |
80 |
8,0 |
|
|
32 |
|
|
|
70 |
90 |
10,0 |
|
|
* Размер для справок. Примечание - По согласованию между изготовителем и потребителем допускается изготовлять пестики с предельными отклонениями по диаметру d1 минус 1,5 мм для условных размеров от 11 до 24; минус 1,7 мм - для условных размеров от 28 до 32 и 0,5 мм по высоте h1 при этом минимальные значения эффективности стопорения S мин. должны соответствовать указанным в таблице 6. |
|||||||

Рисунок 1

Соединения 11, 16А, 24, 28 Соединения 16В, 20
|
Условный размер |
D1 |
D2 мин. |
D3 мин. |
H1 |
H2 для W-образного замка, мин |
H23) для шплинта |
R1 |
R3 |
R4 |
R5 |
Т2) мин. |
|
11 |
|
24,5 |
24,5 |
|
15,5 |
16,3 |
35 |
4 |
1,5 |
4 |
4,8 |
|
16А1) |
|
34,5 |
34,5 |
|
20,5 |
21,6 |
23 |
3 |
3,0 |
5 |
5,5 |
|
16В1) |
|
34,5 |
34,5 |
|
25,0 |
25,5 |
23 |
3 |
3,0 |
5 |
7,9 |
|
20 |
|
42,5 |
42,5 |
|
28,5 |
29,3 |
27 |
6 |
3,5 |
7 |
7,0 |
|
24 |
|
51,0 |
51,0 |
|
32,5 |
33,5 |
40 |
5 |
4,0 |
10 |
8,7 |
|
28 |
|
59,0 |
59,0 |
|
36,5 |
37,4 |
55 |
8 |
4,5 |
12 |
10,0 |
|
32 |
|
67,5 |
67,5 |
|
42,0 |
43,0 |
70 |
10 |
5,0 |
14 |
11,5 |
|
1) См. примечание 2 к пункту 5. 2) Высота замка. 3) Приводятся наибольшие значения, так как в этом случае шплинт не всегда находится на дне гнезда. Положение стандартного шплинта определяется высотой H3 центра отверстия, диаметром D4 (см. 15) и размером F2 (ГОСТ 12253); на это положение также оказывает влияние расположение концов шплинта, которые находятся в контакте с гнездом. Величина H3 обеспечивает правильный зазор для шплинтов. |
|||||||||||

Рисунок 3
|
Условный размер |
Калибр |
D1 |
D2 |
D3 |
D4 |
H1 |
Н2 |
Н3 |
R1 |
R2 |
R3 |
R4 |
R5 |
R6 |
|
11 |
Новый: макс. контур1) |
12,000 |
22,950 |
25,322 |
60,15 |
9,250 |
17,775 |
23,775 |
35,075 |
35,075 |
3,631 |
1,450 |
49,70 |
2,80 |
|
номин. контур |
11,980 |
22,920 |
25,348 |
59,95 |
9,220 |
17,860 |
23,860 |
35,060 |
35,060 |
3,616 |
1,460 |
49,80 |
2,70 |
|
|
мин. контур1) |
11,960 |
22,890 |
25,374 |
59,75 |
9,190 |
17,945 |
23,945 |
35,045 |
35,045 |
3,601 |
1,470 |
49,90 |
2,60 |
|
|
Изношенный предельный2) |
11,900 |
22,800 |
25,400 |
59,55 |
9,100 |
18,000 |
24,000 |
35,000 |
35,000 |
3,556 |
1,500 |
50,00 |
2,50 |
|
|
16 |
Новый: |
|
|
|
|
|
|
|
|
|
|
|
|
|
|
макс. контур1) |
17,122 |
33,490 |
35,326 |
90,59 |
13,572 |
20,686 |
31,786 |
23,086 |
50,086 |
3,071 |
2,939 |
71,70 |
2,80 |
|
|
номин. контур |
17,096 |
33,450 |
35,351 |
90,39 |
13,536 |
20,768 |
31,868 |
23,068 |
50,068 |
3,055 |
2,952 |
71,80 |
2,70 |
|
|
мин. контур1) |
17,070 |
33,410 |
35,376 |
90,19 |
13,500 |
20,850 |
31,950 |
23,050 |
50,050 |
3,039 |
2,965 |
71,90 |
2,60 |
|
|
Изношенный предельный2) |
17,000 |
33,300 |
35,400 |
89,99 |
13,400 |
20,900 |
32,000 |
23,000 |
50,000 |
2,993 |
3,000 |
72,00 |
2,50 |
|
|
20 |
Новый: |
|
|
|
|
|
|
|
|
|
|
|
|
|
|
макс. контур1) |
21,150 |
41,220 |
45,484 |
120,95 |
19,702 |
25,551 |
42,151 |
27,101 |
60,101 |
5,845 |
3,425 |
89,55 |
3,45 |
|
|
номин. контур |
21,120 |
41,170 |
45,523 |
120,65 |
19,656 |
25,678 |
42,278 |
27,078 |
60,078 |
5,824 |
3,440 |
89,70 |
3,30 |
|
|
мин. контур1) |
21,090 |
41,120 |
45,561 |
120,35 |
19,610 |
25,805 |
42,405 |
27,055 |
60,055 |
5,803 |
3,455 |
89,85 |
3,15 |
|
|
Изношенный предельный2) |
21,000 |
41,000 |
45,600 |
120,05 |
19,500 |
25,900 |
42,500 |
27,000 |
60,000 |
5,753 |
3,500 |
90,00 |
3,00 |
|
|
24 |
Новый: |
|
|
|
|
|
|
|
|
|
|
|
|
|
|
макс. контур1) |
25,172 |
49,250 |
50,490 |
140,90 |
21,242 |
25,971 |
46,171 |
40,121 |
70,121 |
6,732 |
3,914 |
104,55 |
3,45 |
|
|
номин. контур |
25,136 |
49,190 |
50,527 |
140,60 |
21,186 |
26,093 |
46,293 |
40,093 |
70,093 |
6,706 |
3,932 |
104,70 |
3,30 |
|
|
мин. контур1) |
25,100 |
49,130 |
50,564 |
140,30 |
21,130 |
26,215 |
46,415 |
40,065 |
70,065 |
6,680 |
3,950 |
104,85 |
3,15 |
|
|
Изношенный предельный2) |
25,000 |
49,000 |
50,600 |
140,00 |
21,000 |
26,300 |
46,500 |
40,000 |
70,000 |
6,615 |
4,000 |
105,00 |
3,00 |
|
|
28 |
Новый: макс. контур1) |
29,190 |
57,290 |
66,870 |
165,94 |
23,770 |
29,100 |
51,100 |
55,135 |
80,135 |
7,994 |
4,414 |
129,55 |
3,45 |
|
номин. контур |
29,150 |
57,215 |
66,915 |
165,64 |
23,708 |
29,250 |
51,250 |
55,104 |
80,104 |
7,967 |
4,432 |
129,70 |
3,30 |
|
|
мин. контур1) |
29,110 |
57,140 |
66,960 |
165,34 |
23,646 |
29,400 |
51,400 |
55,073 |
80,073 |
7,938 |
4,450 |
129,85 |
3,15 |
|
|
Изношенный предельный2) |
29,000 |
57,000 |
67,000 |
165,04 |
23,500 |
29,500 |
51,500 |
55,000 |
80,000 |
7,864 |
4,500 |
130,00 |
3,00 |
|
|
32 |
Новый: макс. контур1) |
33,220 |
65,310 |
85,800 |
198,45 |
27,300 |
34,000 |
61,400 |
70,150 |
90,150 |
9,719 |
4,914 |
149,55 |
3,45 |
|
номин. контур |
33,170 |
65,230 |
85,850 |
198,22 |
27,225 |
34,175 |
61,600 |
70,112 |
90,113 |
9,683 |
4,932 |
149,70 |
3,30 |
|
|
мин. контур1) |
33,120 |
65,150 |
85,900 |
197,98 |
27,150 |
34,350 |
61,800 |
70,075 |
90,075 |
9,647 |
4,950 |
149,85 |
3,15 |
|
|
Изношенный предельный2) |
33,000 |
65,000 |
86,000 |
197,83 |
27,000 |
34,500 |
62,000 |
70,000 |
90,000 |
9,572 |
5,000 |
150,00 |
3,00 |
|
|
1) Размеры нового калибра должны быть заключены между максимальным и минимальным их значениями. 2) См. приложение В1. |
||||||||||||||

Рисунок 4
|
Условный размер |
h4 |
|
11 |
|
|
16 |
|
|
20 |
|
|
24 |
|
|
28 |
|
|
32 |
|
Требования к остальным размерам см. в пункте 9.

Рисунок 5
|
Условный размер |
D1 – d1 |
D2 - d2 мин. |
D3 - d2 |
Р |
Q1) мин. |
||
|
мин. |
макс. |
мин. |
макс. |
||||
|
11 |
0,6 |
3,0 |
1,7 |
1,7 |
1,4 |
3,9 |
1,6 |
|
16А |
2,2 |
5,0 |
1,2 |
1,2 |
1,1 |
4,0 |
1,6 |
|
16В |
2,2 |
5,0 |
1,2 |
1,2 |
3,6 |
6,5 |
3,7 |
|
20 |
2,0 |
5,4 |
1,5 |
1,5 |
1,0 |
4,5 |
2,0 |
|
24 |
2,5 |
6,4 |
2,0 |
2,0 |
2,5 |
6,7 |
2,8 |
|
28 |
3,0 |
7,4 |
2,0 |
2,0 |
2,5 |
7,2 |
3,0 |
|
32 |
3,0 |
7,9 |
2,5 |
2,5 |
3,0 |
8,2 |
3,5 |
|
1) Зазор между пестиком и замком. |
|||||||
Т - номинальная высота замка;
S - эффективность стопорения
Рисунок 6
|
Условный размер |
S мин. |
|
11 |
0,9 |
|
16А |
1,5 |
|
16В |
1,4 |
|
20 |
2,5 |
|
24 |
2,0 |
|
28 |
2,8 |
|
32 |
3,3 |

Рисунок 7
|
Условный размер |
D4 |
D5 |
Н3 |
K мин. |
L макс. |
|
11 |
7,5±0,4 |
13,5 |
|
3,5±0,6 |
24 |
|
16А |
9,5±0,5 |
16,0 |
|
4,0±0,7 |
32 |
|
16В |
10,0±0,5 |
18,0 |
|
5,0±1,0 |
32 |
|
20 |
10,0±0,5 |
18,0 |
|
5,0±1,0 |
40 |
|
24 |
12,0±0,5 |
21,5 |
|
6,0±1,0 |
51 |
|
28 |
13,0±0,5 |
24,0 |
|
7,0±1,2 |
59 |
|
32 |
15,0±0,5 |
28,0 |
|
8,0±1,4 |
68 |
Значения размеров указаны для стандартных шплинтов и их вариантов (ГОСТ 12253).

Рисунок 8
|
Условный размер |
B1 |
B2 мин. |
Н3 |
L макс. |
|
11 |
12,5±0,8 |
24,0 |
6,5±0,8 |
18 |
|
16А |
16,0±1,0 |
33,0 |
7,0±0,8 |
24 |
|
16В |
16,0±1,0 |
33,0 |
9,5±0,8 |
24 |
|
20 |
17,0±1,0 |
34,0 |
8,5±0,8 |
29 |
|
24 |
17,5±1,0 |
34,5 |
10,5±0,8 |
34 |
|
28 |
20,0±1,0 |
39,0 |
11,5±0,8 |
42 |
|
32 |
22,0±1,0 |
42,0 |
13,0±0,8 |
48 |
В2 - длина, на которой высота H3 должна быть проконтролирована. За пределами В2 форма гнезда не имеет значения.
А1 Скольжение пестика в гнезде

Рисунок 9
|
Условный размер |
a° |
|
11 |
1,3 |
|
16А |
4,0 |
|
16В |
4,0 |
|
20 |
3,3 |
|
24 |
2,7 |
|
28 |
2,5 |
|
32 |
2,0 |
А2 Качение пестика в гнезде

Рисунок 10
|
Условный размер |
b°1) |
|
11 |
12,0 |
|
16А |
9,5 |
|
16В |
12,0 |
|
20 |
9,0 |
|
24 |
10,0 |
|
28 |
9,0 |
|
32 |
9,0 |
|
1) Значение b соответствует допускаемым значениям Н2. |
|
|
Механическая разрушающая нагрузка, кН |
Условный размер |
Механическая разрушающая нагрузка, кН |
Условный размер |
|
40 |
11 |
210 |
20 |
|
60 |
11 |
250 |
- |
|
70 |
16 |
300 |
24 |
|
100 |
16 |
400 |
28 |
|
120 |
16 |
530 |
32 |
|
160 |
20 |
|
|
Допуски на калибры соответствуют принятым в системе ИСО. Это означает, что непроходные калибры имеют лишь допуски на обработку, симметрично расположенные по отношению к соответствующему допуску детали, которая составляет часть пестика и гнезда. Это означает также, что проходные калибры имеют допустимый износ и допуски на обработку, заключенные внутри поля допуска детали, которая составляет часть пестика и гнезда.
Примечание - Что касается проходных калибров, то каждая страна свободна определять величину допустимого износа с целью расширить предложенные допуски на обработку. Калибры, износ которых превысил установленные для калибров пределы, использованию больше не подлежат.
Используемые материалы, определение их твердости, способы окончательной обработки поверхности и покрытия поверхности, а также технологический процесс изготовления калибров в разных странах могут быть различными. Значит, следующие рекомендации представляют собой лишь общие указания:
- толщина калибров для пестиков не должна превышать 5 мм;
- значение толщины калибров с круглым отверстием должно быть несколько выше указанного значения;
- рекомендуемый металл - сталь, закаленная в масле, без отпуска;
- твердость по Роквеллу для уменьшения деформации и износа должна быть HRC 62 ... 63;
- шероховатость поверхности не должна превышать 4 мкм;
- в некоторых случаях твердое хромирование может повышать сопротивление износу.
Примечание - С целью обеспечить контроль калибров для гнезда необходимо провести шлифование части калибра с диаметром D1 или предусмотреть центровочное отверстие. Центровочное отверстие удаляет часть криволинейной поверхности, что уменьшает допуск на обработку.

1 - стержень; 2 - пестик
Рисунок 11
а) Стержень и пестик должны проходить, по крайней мере, в одном направлении через проходные калибры или высоты пестика, диаметра и длины стержня (см. приложение В.5).
б) Пестик должен проходить через проходной калибр для диаметра пестика (см. приложение В.6).
в) Стержень и пестик не должны проходить ни в одном направлении через непроходной калибр для высоты пестика (см. приложение В.7).
г) Пестик не должен проходить ни в одном направлении через непроходной калибр для диаметра пестика (см. приложение В.8).
д) Стержень не должен входить ни в одном направлении в непроходной калибр для диаметра стержня (см. приложение В.9).

Рисунок 12
а) Проходные калибры для высоты, ширины входного отверстия гнезда и ширины внутренней полости должны входить во входное отверстие гнезда.
б) Высота и диаметр внутренней полости гнезда должны позволять вращение на 180" проходного калибра для диаметра и высоты внутренней полости внутри гнезда.
в) Высота входного отверстия гнезда не должна пропускать непроходной калибр для высоты входного отверстия (см. приложение В.12).
г) Непроходной калибр для ширины внутренней полости не должен проходить через входное отверстие гнезда (см. приложение В.13).
Примечание - Контур, отмеченный штрих-пунктирной линией (___...___....), должен обеспечивать проход подвесного проходного калибра (см. пункт 11).

Рисунок 13
|
Условный размер |
Калибр |
d1 |
d2 |
d4 |
h1 |
h3 |
r1 |
r2 |
r3 |
r4 |
|
|
Новый: мин. Контур1) |
11,826 |
22,712 |
25,5 |
9,008 |
24,11 |
34,954 |
34,954 |
3,509 |
2,537 |
|
11 |
номин. контур |
11,836 |
22,728 |
25,0 |
9,024 |
24,08 |
34,962 |
34,962 |
3,517 |
2,532 |
|
|
макс. контур1) |
11,846 |
22,744 |
24,5 |
9,040 |
24,05 |
34,970 |
34,970 |
3,525 |
2,527 |
|
Изношенный предельный2) |
11,900 |
22,800 |
24,0 |
9,100 |
24,00 |
35,000 |
35,000 |
3,556 |
2,500 |
|
|
|
Новый: мин. контур1) |
16,922 |
33,204 |
35,5 |
13,304 |
32,14 |
22,952 |
49,952 |
2,945 |
4,039 |
|
|
номин. контур |
16,932 |
33,222 |
35,0 |
13,320 |
32,10 |
22,960 |
49,960 |
2,952 |
4,034 |
|
16 |
макс. контур1) |
16,942 |
33,240 |
34,5 |
13,336 |
32,06 |
22,968 |
49,968 |
2,959 |
4,029 |
|
Изношенный предельный2) |
17,000 |
33,300 |
34,0 |
13,400 |
32,000 |
23,000 |
50,000 |
2,993 |
4,000 |
|
|
|
Новый: мин. контур1) |
20,916 |
40,900 |
45,5 |
19,400 |
42,64 |
26,950 |
59,950 |
5,703 |
4,542 |
|
20 |
номин. контур |
20,928 |
40,920 |
45,0 |
19,418 |
42,60 |
26,959 |
59,959 |
5,711 |
4,536 |
|
|
макс. контур1) |
20,940 |
40,940 |
44,5 |
19,436 |
42,56 |
26,968 |
59,968 |
5,719 |
4,530 |
|
Изношенный предельный2) |
21,000 |
41,000 |
44,0 |
19,500 |
42,50 |
27,000 |
60,000 |
5,753 |
4,500 |
|
|
|
Новый: мин. контур1) |
24,912 |
48,890 |
50,5 |
20,888 |
46,65 |
39,944 |
69,944 |
6,558 |
5,544 |
|
24 |
номин. контур |
24,924 |
48,912 |
50,0 |
20,908 |
46,61 |
39,954 |
69,954 |
6,567 |
5,538 |
|
|
макс. контур1) |
24,936 |
48,934 |
49,5 |
20,928 |
46,57 |
39,964 |
69,964 |
6,577 |
5,532 |
|
Изношенный предельный2) |
25,000 |
49,000 |
49,0 |
21,000 |
46,50 |
40,000 |
70,000 |
6,615 |
5,500 |
|
|
|
Новый: мин. контур1) |
28,906 |
56,881 |
68,5 |
23,380 |
51,66 |
54,940 |
79,940 |
7,803 |
6,044 |
|
|
номин. контур |
28,919 |
56,905 |
68,0 |
23,402 |
51,62 |
54,951 |
79,951 |
7,814 |
6,038 |
|
28 |
макс. контур1) |
28,932 |
56,929 |
67,5 |
23,424 |
51,58 |
54,962 |
79,962 |
7,825 |
6,032 |
|
Изношенный предельный2) |
29,000 |
57,000 |
67,0 |
23,500 |
51,50 |
55,000 |
80,000 |
7,864 |
6,000 |
|
|
|
Новый: мин. контур1) |
32,899 |
64,871 |
87,5 |
26,868 |
62,16 |
69,934 |
89,934 |
9,506 |
6,544 |
|
|
номин. контур |
32,913 |
64,897 |
87,0 |
26,892 |
62,12 |
69,946 |
89,946 |
9,517 |
6,538 |
|
32 |
макс. контур1) |
32,927 |
64,923 |
86,5 |
26,916 |
62,08 |
69,958 |
89,958 |
9,528 |
6,532 |
|
Изношенный предельный2) |
33,00 |
65,000 |
86,0 |
27,000 |
62,00 |
70,000 |
90,000 |
9,572 |
6,500 |
|
|
1) Размеры нового калибра должны быть заключены между минимальным и максимальным их значениями. 2) См. приложение В.1. |
||||||||||

Рисунок 14
|
Условный размер |
Калибр |
d2 |
|
11 |
Новый |
22,728±0,011 |
|
Изношенный1) |
22,800 |
|
|
16 |
Новый |
33,223±0,012 |
|
Изношенный1) |
33,300 |
|
|
20 |
Новый |
40,920±0,013 |
|
Изношенный1) |
41,000 |
|
|
24 |
Новый |
48,913±0,014 |
|
Изношенный1) |
49,000 |
|
|
28 |
Новый |
56,908±0,015 |
|
Изношенный1) |
57,000 |
|
|
32 |
Новый |
64,90310,016 |
|
Изношенный1) |
65,000 |
|
|
1) См. приложение В.1. |
||

Рисунок 15
|
Условный размер |
Калибр |
d1 |
d4 |
d5 |
h1 |
h4 |
r1 |
r6 |
|
11 |
Мин. контур1) |
16,08 |
18,60 |
12,3 |
7,884 |
15,5 |
34,992 |
3,7 |
|
Номин. контур |
16,10 |
18,40 |
12,0 |
7,900 |
16,0 |
35,000 |
4,0 |
|
|
Макс. контур1) |
16,12 |
18,20 |
11,7 |
7,916 |
16,5 |
35,008 |
4,3 |
|
|
16 |
Мин. контур1) |
23,66 |
30,3 |
18,3 |
12,084 |
21,5 |
22,992 |
4,7 |
|
Номин. контур |
23,70 |
30,0 |
18,0 |
12,100 |
22,0 |
23,000 |
5,0 |
|
|
Макс. контур1) |
23,74 |
29,7 |
17,7 |
12,116 |
22,5 |
23,008 |
5,3 |
|
|
20 |
Мин. контур1) |
28,36 |
36,3 |
23,3 |
18,082 |
29,5 |
26,991 |
6,7 |
|
Номин. контур |
28,42 |
36,0 |
23,0 |
18,100 |
30,0 |
27,000 |
7,0 |
|
|
Макс. контур1) |
28,48 |
35,7 |
22,7 |
18,118 |
30,5 |
27,009 |
7,3 |
|
|
24 |
Мин. Контур1) |
34,48 |
42,3 |
28,3 |
19,280 |
31,5 |
39,990 |
7,7 |
|
Номин. контур |
34,54 |
42,0 |
28,0 |
19,300 |
32,0 |
40,000 |
8,0 |
|
|
Макс. контур1) |
34,60 |
41,7 |
27,7 |
19,320 |
32,5 |
40,010 |
8,3 |
|
|
28 |
Мин. контур1) |
36,9 |
47,3 |
32,3 |
21,678 |
44,5 |
54,989 |
9,7 |
|
Номин. контур |
37,0 |
47,0 |
32,0 |
21,700 |
45,0 |
55,000 |
10,0 |
|
|
Макс. контур1) |
37,1 |
46,7 |
31,7 |
21,722 |
45,5 |
55,011 |
10,3 |
|
|
32 |
Мин. контур1) |
40,88 |
52,3 |
36,3 |
25,076 |
47,5 |
69,988 |
11,7 |
|
Номин. контур |
41,00 |
52,0 |
36,0 |
25,100 |
48,0 |
70,000 |
12,0 |
|
|
Макс. контур1) |
41,12 |
51,7 |
35,7 |
25,124 |
48,5 |
70,012 |
12,3 |
|
|
1) Размеры калибра должны находиться между минимальным и максимальным их значениями. |
||||||||

Рисунок 16
|
Условный размер |
d2 |
h4 |
h5 |
r6 |
|
11 |
21,500±0,011 |
10,0±0,5 |
1,0±0,3 |
1,5±0,5 |
|
16 |
31,800±0,012 |
12,0±0,5 |
1,0±0,3 |
1,5±0,5 |
|
20 |
39,400±0,013 |
18,0±0,5 |
1,0±0,3 |
1,5±0,5 |
|
24 |
47,200±0,014 |
20,0±0,5 |
1,0±0,3 |
1,5±0,5 |
|
28 |
55,100±0,015 |
22,0±0,5 |
1,0±0,3 |
1,5±0,5 |
|
32 |
62,900±0,016 |
25,0±0,5 |
1,0±0,3 |
1,5±0,58 |

Рисунок 17
|
Условный размер |
d1 |
d2 |
h4 |
h5 |
|
11 |
10,800±0,009 |
15,0±0,5 |
12,0±0,5 |
1,0±0,3 |
|
16 |
15,800±0,010 |
20,0±0,5 |
15,0±0,5 |
1,0±0,3 |
|
20 |
19,700±0,012 |
25,0±0,5 |
18,0±0,5 |
1,0±0,3 |
|
24 |
23,600±0,012 |
30,0±0,5 |
23,0±0,5 |
1,0±0,3 |
|
28 |
27,500±0,013 |
35,0±0,5 |
27,0±0,5 |
1,0±0,3 |
|
32 |
31,400±0,014 |
40,0±0,5 |
31,0±0,5 |
1,0±0,3 |
|
Примечание - Основные размеры непроходного калибра для цилиндрической части пестика в соответствии с примечанием к таблице 1 устанавливает изготовитель. |
||||
|
|
|
|
Соединения 11, 16А, 24 |
Соединения 16В, 20, 28, 32 |
|
Рисунок 18 |
|
|
Условный размер |
Калибр |
D1 |
D2 |
H1 |
H5 |
R1 |
R2 |
R3 |
R4 |
R5 |
|
11 |
Новый: |
|
|
|
|
|
|
|
|
|
|
макс. контур1) |
12,584 |
24,590 |
10,596 |
30,5 |
35,048 |
35,048 |
4,222 |
1,458 |
- |
|
|
номин. контур |
12,572 |
24,578 |
10,580 |
30,0 |
35,040 |
35,040 |
4,213 |
1,464 |
- |
|
|
мин. контур1) |
12,560 |
24,566 |
10,564 |
29,5 |
35,032 |
35,032 |
4,205 |
1,470 |
- |
|
|
Изношенный предельный3) |
12,500 |
24,500 |
10,500 |
29,0 |
35,000 |
35,000 |
4,173 |
1,500 |
- |
|
|
16А2) |
Новый: |
|
|
|
|
|
|
|
|
|
|
макс, контур1) |
19,294 |
34,602 |
14,608 |
40,5 |
23,054 |
50,054 |
3,338 |
2,953 |
- |
|
|
номин. контур |
19,280 |
34,588 |
14,588 |
40,0 |
23,044 |
50,044 |
3,325 |
2,960 |
- |
|
|
мин. контур1) |
19,266 |
34,574 |
14,568 |
39,5 |
23,034 |
50,034 |
3,311 |
2,967 |
- |
|
|
Изношенный предельный3) |
19,200 |
34,500 |
14,500 |
39,0 |
23,000 |
50,000 |
3,281 |
3,000 |
- |
|
|
16В2) |
Новый: |
|
|
|
|
|
|
|
|
|
|
макс. контур1) |
19,294 |
34,602 |
17,108 |
40,5 |
23,054 |
50,054 |
3,051 |
2,953 |
3,051 |
|
|
номин. контур |
19,280 |
34,588 |
17,088 |
40,0 |
23,044 |
50,044 |
3,044 |
2,960 |
3,044 |
|
|
мин. контур1) |
19,266 |
34,574 |
17,068 |
39,5 |
23,034 |
50,034 |
3,037 |
2,967 |
3,037 |
|
|
Изношенный предельный3) |
19,200 |
34,500 |
17,000 |
39,0 |
23,000 |
50,000 |
3,000 |
3,000 |
3,000 |
|
|
20 |
Новый: макс. контур1) |
23,116 |
42,630 |
20,632 |
50,5 |
27,066 |
60,066 |
6,065 |
3,442 |
5,565 |
|
номин. контур |
23,098 |
42,610 |
20,606 |
50,0 |
27,053 |
60,053 |
6,055 |
3,451 |
5,555 |
|
|
мин. контур1) |
23,080 |
42,590 |
20,580 |
49,5 |
27,040 |
60,040 |
6,045 |
3,460 |
5,545 |
|
|
Изношенный предельный3) |
23,000 |
42,500 |
20,500 |
49,0 |
27,000 |
60,000 |
6,000 |
3,500 |
5,500 |
|
|
24 |
Новый: макс. контур1) |
27,630 |
51,150 |
23,652 |
55,5 |
40,076 |
70,076 |
7,898 |
3,935 |
- |
|
номин. контур |
27,610 |
51,126 |
23,622 |
55,0 |
40,061 |
70,061 |
7,881 |
3,945 |
- |
|
|
мин. контур1) |
27,590 |
51,102 |
23,592 |
54,5 |
40,046 |
70,046 |
7,864 |
3,955 |
- |
|
|
Изношенный предельный3) |
27,500 |
51,000 |
23,500 |
54,0 |
40,000 |
70,000 |
7,821 |
4,000 |
- |
|
|
|
Новый: макс. контур1) |
32,144 |
59,166 |
26,170 |
60,5 |
55,085 |
80,085 |
8,083 |
4,429 |
10,083 |
|
28 |
номин. контур |
32,122 |
59,138 |
26,135 |
60,0 |
55,067 |
80,068 |
8,069 |
4,440 |
10,069 |
|
мин. контур1) |
32,100 |
59,110 |
26,100 |
59,5 |
55,050 |
80,050 |
8,055 |
4,451 |
10,055 |
|
|
Изношенный предельный3) |
32,000 |
59,000 |
26,000 |
59,0 |
55,000 |
80,000 |
8,000 |
4,500 |
10,000 |
|
|
32 |
Новый: макс. контур1) |
36,158 |
67,680 |
30,190 |
70,5 |
70,095 |
90,095 |
10,090 |
4,923 |
11,890 |
|
номин. контур |
36,134 |
67,650 |
30,150 |
70,0 |
70,075 |
90,075 |
10,075 |
4,935 |
11,875 |
|
|
мин. контур1) |
36,110 |
67,620 |
30,110 |
69,5 |
70,055 |
90,055 |
10,060 |
4,947 |
11,860 |
|
|
Изношенный предельный3) |
36,000 |
67,500 |
30,000 |
69,0 |
70,000 |
90,000 |
10,000 |
5,000 |
11,800 |
|
|
1) Размеры нового калибра должны быть заключены между максимальным и минимальным их значениями. 2) См. примечание 2 к пункту 5. 3) См. приложение В.1. |
||||||||||

Рисунок 19
|
Условный размер |
Калибр |
D1 |
D3 |
Н2 для W-образного замка |
Н2 для шплинта4) |
H5 |
R1 |
R2 |
R3 |
R4 |
R5 |
|
11 |
Новый: макс, контур1) |
12,584 |
24,590 |
15,596 |
16,396 |
30,5 |
35,048 |
35,048 |
4,045 |
1,458 |
4,045 |
|
номин. контур |
12,572 |
24,578 |
15,580 |
16,380 |
30,0 |
35,040 |
35,040 |
4,039 |
1,464 |
4,039 |
|
|
мин. контур1) |
12,560 |
24,566 |
15,564 |
16,364 |
29,5 |
35,032 |
35,032 |
4,033 |
1,470 |
4,033 |
|
|
Изношенный предельный3) |
12,500 |
24,500 |
15,500 |
16,300 |
29,0 |
35,000 |
35,000 |
4,000 |
1,500 |
4,000 |
|
|
16А2) |
Новый: макс. контур1) |
19,294 |
34,602 |
20,608 |
21,708 |
40,5 |
23,054 |
50,054 |
3,051 |
2,953 |
3,051 |
|
номин. контур |
19,280 |
34,588 |
20,588 |
21,688 |
40,0 |
23,044 |
50,044 |
3,044 |
2,960 |
3,044 |
|
|
мин. контур1) |
19,266 |
34,574 |
20,568 |
21,668 |
39,5 |
23,034 |
50,034 |
3,037 |
2,967 |
3,037 |
|
|
Изношенный предельный3) |
19,200 |
34,500 |
20,500 |
21,600 |
39,0 |
23,000 |
50,000 |
3,000 |
3,000 |
3,000 |
|
|
16В2) |
Новый: макс. контур1) |
19,294 |
34,602 |
25,108 |
25,608 |
40,5 |
23,054 |
50,054 |
3,051 |
2,953 |
3,051 |
|
номин. контур |
19,280 |
34,588 |
25,088 |
25,588 |
40,0 |
23,044 |
50,044 |
3,044 |
2,960 |
3,044 |
|
|
мин. контур1) |
19,266 |
34,574 |
25,068 |
25,568 |
39,5 |
23,034 |
50,034 |
3,037 |
2,967 |
3,037 |
|
|
Изношенный предельный3) |
19,200 |
34,500 |
25,000 |
25,500 |
39,0 |
23,000 |
50,000 |
3,000 |
3,000 |
3,000 |
|
|
20 |
Новый: макс, контур1) |
23,116 |
42,630 |
28,632 |
29,432 |
50,5 |
27,066 |
60,066 |
6,065 |
3,442 |
6,065 |
|
номин. контур |
23,098 |
42,610 |
28,606 |
29,406 |
50,0 |
27,053 |
60,053 |
6,055 |
3,451 |
6,055 |
|
|
мин. контур1) |
23,080 |
42,590 |
28,580 |
29,380 |
49,5 |
27,040 |
60,040 |
6,045 |
3,460 |
6,045 |
|
|
Изношенный предельный3) |
23,000 |
42,500 |
28,500 |
29,300 |
49,0 |
27,000 |
60,000 |
6,000 |
3,500 |
6,000 |
|
|
24 |
Новый: макс. контур1) |
27,630 |
51,150 |
32,652 |
33,652 |
55,5 |
40,076 |
70,076 |
5,075 |
3,935 |
8,075 |
|
номин. контур |
27,610 |
51,126 |
32,622 |
33,622 |
55,0 |
40,061 |
70,061 |
5,063 |
3,945 |
8,063 |
|
|
мин. контур1) |
27,590 |
51,102 |
32,592 |
33,592 |
54,5 |
40,046 |
70,046 |
5,051 |
3,955 |
8,051 |
|
|
Изношенный предельный3) |
27,500 |
51,000 |
32,500 |
33,500 |
54,0 |
40,000 |
70,000 |
5,000 |
4,000 |
8,000 |
|
|
28 |
Новый: макс. контур1) |
32,144 |
59,166 |
36,670 |
35,570 |
60,5 |
55,085 |
80,085 |
8,083 |
4,429 |
8,083 |
|
номин. контур |
32,122 |
50,138 |
36,635 |
37,535 |
60,0 |
55,067 |
80,068 |
8,069 |
4,440 |
8,069 |
|
|
мин. контур1) |
32,100 |
59,110 |
36,600 |
37,500 |
59,5 |
55,050 |
80,050 |
8,055 |
4,451 |
8,055 |
|
|
Изношенный предельный3) |
32,000 |
59,000 |
36,500 |
37,400 |
59,0 |
55,000 |
80,000 |
8,000 |
4,500 |
8,000 |
|
|
32 |
Новый: макс. контур1) |
36,158 |
67,680 |
42,190 |
43,190 |
70,5 |
70,095 |
90,095 |
10,090 |
4,923 |
10,090 |
|
номин. контур |
36,134 |
67,650 |
42,150 |
43,150 |
70,0 |
70,075 |
90,075 |
10,075 |
4,935 |
10,075 |
|
|
мин. контур1) |
36,110 |
67,620 |
42,110 |
43,110 |
69,5 |
70,055 |
90,055 |
10,060 |
4,967 |
10,060 |
|
|
Изношенный предельный3) |
36,000 |
67,500 |
42,000 |
43,000 |
69,0 |
70,000 |
90,000 |
10,000 |
5,000 |
10,000 |
|
|
1) Размеры нового калибра должны быть заключены между максимальным и минимальным их значениями. 2) См. примечание 2 к пункту 5. 3) См. приложение В.1. 4) При контроле гнезда, в котором есть стандартные шплинты, допускается использовать калибр, предназначенный для контроля гнезда под W-образный замок, при условии применения дополнительного плоского калибра; при этом общая высота должна соответствовать размеру Н2 для шплинтов. |
|||||||||||

Рисунок 20
|
Условный размер |
Калибр |
D1 |
D4 |
D5 |
H1 |
H5 |
R1 |
R2 |
R4 |
|
11 |
Макс. контур1) |
10,9 |
17,05 |
12,3 |
11,816 |
30,5 |
35,008 |
35,008 |
1,8 |
|
Номин. контур |
10,8 |
17,00 |
12,0 |
11,800 |
30,0 |
35,000 |
35,000 |
1,5 |
|
|
Мин. контур1) |
10,7 |
16,95 |
11,7 |
17,784 |
29,5 |
34,992 |
34,992 |
1,2 |
|
|
16А |
Макс. контур1) |
15,9 |
30,1 |
18,3 |
16,120 |
40,5 |
23,010 |
50,010 |
3,3 |
|
Номин. контур |
15,8 |
30,0 |
18,0 |
16,100 |
40,0 |
23,000 |
50,000 |
3,0 |
|
|
Мин. контур1) |
15,7 |
29,9 |
17,7 |
16,080 |
39,5 |
22,990 |
49,990 |
2,7 |
|
|
16В |
Макс. контур1) |
15,9 |
30,1 |
18,3 |
18,620 |
40,5 |
23,010 |
50,010 |
3,3 |
|
Номин. контур |
15,8 |
30,0 |
18,0 |
18,600 |
40,0 |
23,000 |
50,000 |
3,0 |
|
|
Мин. контур1) |
15,7 |
29,9 |
17,7 |
18,580 |
39,5 |
22,990 |
49,990 |
2,7 |
|
|
20 |
Макс. контур1) |
19,8 |
36,1 |
23,3 |
22,626 |
50,5 |
27,013 |
60,013 |
3,8 |
|
Номин. контур |
19,7 |
36,0 |
23,0 |
22,600 |
50,0 |
27,000 |
60,000 |
3,5 |
|
|
Мин. контур1) |
19,6 |
35,9 |
22,7 |
22,574 |
49,5 |
26,987 |
59,987 |
3,2 |
|
|
24 |
Макс. контур1) |
23,7 |
42,1 |
28,3 |
26,030 |
55,5 |
40,015 |
70,015 |
4,3 |
|
Номин. контур |
23,6 |
42,0 |
28,0 |
26,000 |
55,0 |
40,000 |
70,000 |
4,0 |
|
|
Мин. контур1) |
23,5 |
41,9 |
27,7 |
25,970 |
54,5 |
39,985 |
69,985 |
3,7 |
|
|
28 |
Макс. контур1) |
27,6 |
47,1 |
32,3 |
28,935 |
60,5 |
55,018 |
80,018 |
4,8 |
|
Номин. контур |
27,5 |
47,0 |
32,0 |
28,900 |
60,0 |
55,000 |
80,000 |
4,5 |
|
|
Мин. контур1 |
27,4 |
46,9 |
31,7 |
28,865 |
59,5 |
54,982 |
79,982 |
4,2 |
|
|
32 |
Макс. контур1) |
31,5 |
52,1 |
36,3 |
33,340 |
70,5 |
70,020 |
90,020 |
5,3 |
|
Номин. контур |
31,4 |
52,0 |
36,0 |
33,300 |
70,0 |
70,000 |
90,000 |
5,0 |
|
|
Мин. контур1) |
31,3 |
51,9 |
35,7 |
33,260 |
69,5 |
69,980 |
89,980 |
4,7 |
|
|
1) Размеры калибра должны быть заключены между максимальным и минимальным их значениями. |
|||||||||

Рисунок 21
|
Условный размер |
D1 |
H5 |
Н6 |
|
11 |
13,800±0,011 |
30,0±0,5 |
1,0±0,3 |
|
16 |
20,800±0,014 |
40,0±0,5 |
1,0±0,3 |
|
20 |
25,100±0,018 |
50,0±0,5 |
1,0±0,3 |
|
24 |
30,000±0,020 |
55,0±0,5 |
1,0±0,3 |
|
28 |
34,900±0,023 |
60,0±0,5 |
1,0±0,3 |
|
32 |
39,300±0,026 |
70,0±0,5 |
1,0±0,3 |
ИНФОРМАЦИОННЫЕ ДАННЫЕ
ССЫЛОЧНЫЕ НОРМАТИВНО-ТЕХНИЧЕСКИЕ ДОКУМЕНТЫ
|
Обозначение НТД, на который дана ссылка |
Обозначение соответствующего стандарта МЭК |
Номер пункта, приложения |
|
ГОСТ 12253-88 |
МЭК 372-84 |
|
|
МЭК 305-78 |