ГОСТ 25743-83

МЕЖГОСУДАРСТВЕННЫЙ СТАНДАРТ

ШКАФЫ ВЫТЯЖНЫЕ
РАДИОХИМИЧЕСКИЕ

ТИПЫ, ОСНОВНЫЕ ПАРАМЕТРЫ И РАЗМЕРЫ

ИПК ИЗДАТЕЛЬСТВО СТАНДАРТОВ

Москва

МЕЖГОСУДАРСТВЕННЫЙ СТАНДАРТ

ШКАФЫ ВЫТЯЖНЫЕ РАДИОХИМИЧЕСКИЕ

Типы, основные параметры и размеры

Radiochemical hoods.
Types, main characteristics and dimensions

ГОСТ
25743-83

Дата введения 01.01.84

Настоящий стандарт распространяется на радиохимические вытяжные шкафы, предназначенные для работ с радиоактивными веществами под вытяжкой и обеспечивающие защиту от альфа- и бета-излучений.

Стандарт не распространяется на радиохимические вытяжные шкафы, предназначенные для применения на передвижных объектах.

Термины и определения основных понятий, используемых в стандарте, - по ГОСТ 16950.

Общие технические требования - по ГОСТ 23308.

(Измененная редакция, Изм. № 1).

1. ТИПЫ

1.1. Типы вытяжных шкафов должны соответствовать указанным в табл. 1.

Таблица 1

Обозначение

Наименование

типа

исполнения

1 ШВ

А

Вытяжной радиохимический шкаф с наклонной передней стенкой с модулем длины корпуса 900 мм

М

Вытяжной радиохимический шкаф с наклонной передней стенкой с модулем длины корпуса 1200 мм

2 ШВ

А

Вытяжной радиохимический шкаф с вертикальной передней стенкой с модулем длины корпуса 900 мм

М

Вытяжной радиохимический шкаф с вертикальной передней стенкой с модулем длины корпуса 1200 мм

Примечание. Под модулем длины корпуса понимают кратную часть его длины, определяющую оптимальное обслуживание рабочего объема одним оператором (одна подъемная шторка, пара перчаток).

Пример условного обозначения радиохимического вытяжного шкафа типа 1 ШВ исполнения А с количеством рабочих мест n = 2, с корпусом из нержавеющей стали:

Шкаф вытяжной 1 ШВ-2А - нж ГОСТ 25743-83

(Измененная редакция, Изм. № 1).

2. ОСНОВНЫЕ ПАРАМЕТРЫ

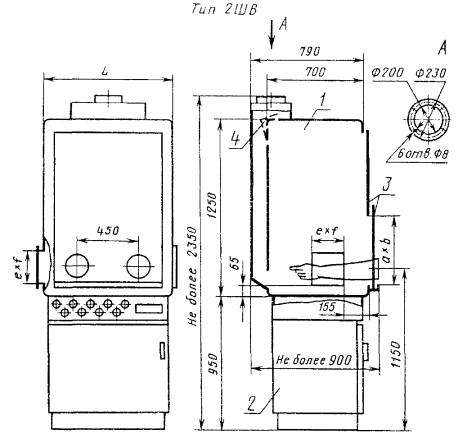
2.1. Основные параметры и размеры вытяжных шкафов должны соответствовать указанным на черт. 1 и 2 и в табл. 2.

1 - корпус; 2 - опора; 3 - шторки; 4 - регулирующая заслонка

Черт. 1

1 - корпус; 2 - опора; 3 - шторки; 4 - регулирующая заслонка

Черт. 2

Примечания к черт. 1 и 2:

1. Чертежи не определяют конструкцию вытяжных шкафов.

2. Все размеры вытяжного шкафа, за исключением размеров проемов и координат перчаток, даны по внутренней поверхности корпуса.

3. Проемы под перчатки указаны для случая комплектования вытяжных шкафов шторками с перчатками. Допускается в верхних шторках вытяжных шкафов типа 2 ШВ предусматривать проемы под перчатки с крышками для обслуживания верхней части шкафа.

4. Допускается в вытяжных шкафах на два рабочих места вывод одного вытяжного патрубка, а на три рабочих места - два.

5. Допускается выполнять конструкцию шкафа без регулирующей заслонки и без передаточного люка (е ´ f).

Таблица 2

Наименование параметра

Значение параметра для типов

1 ШВ

2 ШВ

А

М

А

М

Длина корпуса L, мм*

900

1200

900

1200

Рабочий объем корпуса, м3

0,54

0,72

0,78

1,05

Площадь столешницы, м2

0,63

0,84

0,63

0,84

Толщина стенок и столешницы корпуса, мм

из коррозионно-стойкой (нержавеющей) стали

По ГОСТ 23308

из органического стекла и других пластмасс, не более

8,0

Радиус гибки углов корпуса, мм

из стали

По ГОСТ 23308

из органического стекла и других пластмасс

38,0**

Рабочий проем при открытой шторке а × b, мм***

450 × 750

450 × 750
или
450 × 1050

450 × 750

450 × 750
или
450 × 1050

Площадь сечения вертикального короба в корпусе, м2, не менее

0,045

Проем шлюзового люка, мм, не менее

250 × 250

Проем обоймы под перчатку (диаметр), мм

180

Масса шкафа, кг, не более

из стали

250

350

300

400

из органического стекла и других пластмасс

100

130

130

160

Электрическая мощность подключаемого оборудования, Вт, не более

5000

Расчетная статическая нагрузка на столешницу, Н/м2, не менее

1000

* Допускается изготовление вытяжных шкафов с длиной корпуса на несколько рабочих мест

nА, где п = 1; 2; 3; 4

пМ, где п = 1; 2; 3.

Примечание. Под рабочим местом вытяжного шкафа понимается рабочий объем вытяжного шкафа, ограниченный модулем длины его корпуса, в котором оператор выполняет технологические операции с помощью перчаток, вмонтированных в шторку, или без них.

** Для сборно-разборных корпусов в местах сопряжения деталей допускаются тупые углы, округленные радиусом не менее 20 мм.

*** Размеры для шкафов из неметаллических материалов устанавливают в технических условиях на конкретные изделия исходя из технологических свойств материала.

(Измененная редакция, Изм. № 1).

2.2. В зависимости от назначения корпуса вытяжных шкафов должны изготовляться из следующих материалов:

коррозионно-стойкая (нержавеющая) сталь (нж);

углеродистая сталь с соответствующим покрытием (ст);

органические стекло (ос);

стеклопластик (сп);

винипласт (вп).

2.3. Допускается изготовление корпуса шкафа из других материалов, характеристики которых по прочности, антикоррозионно-стойким свойствам и способности к гибке радиусами, указанными в табл. 2, соответствуют характеристикам указанных материалов.

Марки материалов для изготовления корпусов вытяжных шкафов даны в приложении.

ПРИЛОЖЕНИЕ
Рекомендуемое

МАТЕРИАЛЫ ДЛЯ ИЗГОТОВЛЕНИЯ КОРПУСОВ ВЫТЯЖНЫХ ШКАФОВ

1. Сталь углеродистая по ГОСТ 380, тонколистовая - по ГОСТ 19903; не ниже группы III по ГОСТ 16523.

2. Сталь коррозионно-стойкая по ГОСТ 5632, тонколистовая по ГОСТ 19904, не ниже группы 2 по ГОСТ 5582.

3. Стекло органическое конструкционное марки СОЛ или СТ-1 по ГОСТ 10667.

4. Стекло органическое конструкционное марок ТОСП, ТОСН по ГОСТ 17622.

5. Винипласт по ГОСТ 9639.

ИНФОРМАЦИОННЫЕ ДАННЫЕ

1. УТВЕРЖДЕН И ВВЕДЕН В ДЕЙСТВИЕ Постановлением Государственного комитета СССР по стандартам от 20.04.83 № 1973

2. Стандарт полностью соответствует СТ СЭВ 3553-82

3. ССЫЛОЧНЫЕ НОРМАТИВНО-ТЕХНИЧЕСКИЕ ДОКУМЕНТЫ

Обозначение НТД, на который дана ссылка

Номер пункта, приложения

ГОСТ 380-94

Приложение

ГОСТ 5582-75

То же

ГОСТ 5632-72

»

ГОСТ 9639-71

»

ГОСТ 10667-90

»

ГОСТ 16523-97

»

ГОСТ 16950-81

Вводная часть

ГОСТ 17622-72

Приложение

ГОСТ 19903-74

То же

ГОСТ 19904-90

»

ГОСТ 23308-78

Вводная часть; 2.1

4. Ограничение срока действия снято по протоколу № 3-93 Межгосударственного Совета по стандартизации, метрологии и сертификации (ИУС 5-6-93)

5. ИЗДАНИЕ (июль 2002 г.) с Изменением № 1, утвержденным в июне 1988 г. (ИУС 9-88)