
ГОСУДАРСТВЕННЫЙ СТАНДАРТ СОЮЗА ССР
СОЕДИНЕНИЯ ТРУБОПРОВОДОВ
С ШАРОВЫМ НИППЕЛЕМ
конструкция
ГОСТ 24492-80
ГОССТАНДАРТ РОССИИ
Москва
ГОСУДАРСТВЕННЫЙ СТАНДАРТ СОЮЗА ССР
|
СОЕДИНЕНИЯ
ТРУБОПРОВОДОВ С ШАРОВЫМ Конструкция Tree passage connections with ball nipple. |
ГОСТ |
Срок действия с 01.01.1982
до 01.01.2000
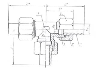
1.1. Настоящий стандарт распространяется на тройниковые проходные соединения трубопроводов с шаровым ниппелем с углом конуса тройника 24°.
2. Конструкция и основные размеры соединений трубопроводов должны соответствовать указанным на чертеже и в таблице.

______________________________
* Размер для справок
1 – тройник по ГОСТ 21862-78; 2 – накидная гайка по ГОСТ 23353-78; 3 – шаровой ниппель по ГОСТ 23355-78
Размеры, мм
|
Группа |
Наружный диаметр трубы DН |
Условные проход DУ |
L |
l |
Размеры «под ключ» |
Масса 1000 шт., кг, не более |
|
|
S |
S1 |
||||||
|
1 |
4 |
2,5 |
40 |
21 |
7 |
10 |
32 |
|
5 |
3,0 |
9 |
12 |
41 |
|||
|
2 |
6 |
4,0 |
46 |
28 |
12 |
14 |
73 |
|
8 |
6,0 |
50 |
30 |
17 |
114 |
||
|
10 |
8,0 |
53 |
31 |
14 |
19 |
145 |
|
|
12 |
10,0 |
57 |
33 |
17 |
22 |
207 |
|
|
15 |
12,0 |
63 |
37 |
19 |
27 |
337 |
|
|
(16) |
24 |
30 |
405 |
||||
|
18 |
15,0 |
67 |
41 |
32 |
456 |
||
|
22 |
20,0 |
71 |
47 |
27 |
36 |
613 |
|
|
28 |
25,0 |
76 |
51 |
36 |
41 |
883 |
|
|
(34) |
32,0 |
85 |
59 |
41 |
50 |
1227 |
|
|
35 |
1206 |
||||||
|
42 |
40,0 |
91 |
65 |
50 |
60 |
1997 |
|
|
3 |
6 |
3,0 |
50 |
32 |
12 |
17 |
121 |
|
8 |
4,0 |
53 |
33 |
14 |
19 |
155 |
|
|
10 |
5,0 |
56 |
35 |
17 |
22 |
230 |
|
|
12 |
6,0 |
62 |
39 |
24 |
288 |
||
|
14 |
8,0 |
65 |
41 |
19 |
27 |
415 |
|
|
16 |
10,0 |
68 |
44 |
24 |
30 |
475 |
|
|
20 |
12,0 |
74 |
51 |
27 |
36 |
745 |
|
|
25 |
15,0 |
80 |
56 |
36 |
46 |
1352 |
|
|
30 |
20,0 |
87 |
64 |
41 |
50 |
1839 |
|
|
38 |
25,0 |
97 |
75 |
50 |
60 |
2842 |
|
Примечание. Размеры, приведенные в скобках, непредпочтительны.
Пример условного обозначения соединения группы 1 с DН =5 мм:
Соединение 1-5 ГОСТ 24492-80
1, 2. (Измененная редакция, Изм. № 1).
3. Условные давления для каждой группы соединений приведены в рекомендуемом приложении 1 к ГОСТ 22525-77.
4. Технические требования, правила приемки, методы испытаний, маркировка, упаковка, транспортирование и хранение – по ГОСТ 15763-91.
ИНФОРМАЦИОННЫЕ ДАННЫЕ
1. РАЗРАБОТАН И ВНЕСЕН Государственным комитетом СССР по стандартам.
Б. В. Максимовский; Г.В. Поляков, канд. техн. наук С.А. Суховодова.
2. УТВЕРЖДЕН И ВВЕДЕН В ДЕЙСТВИЕ Постановлением Государственного комитета СССР по стандартам от 30.12.80 № 6079.
3. Срок проверки – 1998 г.
4. ВЗАМЕН ГОСТ 20975-75; ГОСТ 22878-77.
5. ССЫЛОЧНЫЕ НОРМАТИВНО-ТЕХНИЧЕСКИЕ ДОКУМЕНТЫ
|
Обозначение НТД, на который дана ссылка |
Номер пункта |
|
ГОСТ 15763-91 |
|
|
ГОСТ 21862-78 |
|
|
ГОСТ 22525-77 |
|
|
ГОСТ 23353-78 |
|
|
ГОСТ 23355-78 |
6. Проверен в 1989 г. Срок действия продлен до 01.01.2000 Постановлением Госстандарта СССР от 25.10.89 № 3180.
7. Переиздание (май 1991 г.) с Изменением № 1, утвержденным в октябре 1989 г. (ИУС 2-90).