
ГОСУДАРСТВЕННЫЙ СТАНДАРТ СОЮЗА ССР
СОЕДИНЕНИЯ ТРУБОПРОВОДОВ
С ШАРОВЫМ НИППЕЛЕМ
конструкция
ГОСТ 24489-80
ГОССТАНДАРТ РОССИИ
Москва
ГОСУДАРСТВЕННЫЙ СТАНДАРТ СОЮЗА ССР
|
СОЕДИНЕНИЯ
ТРУБОПРОВОДОВ С ШАРОВЫМ Конструкция Elbow passage tube connections with ball nipple. |
ГОСТ |
Срок действия с 01.01.1982
до 01.01.2000
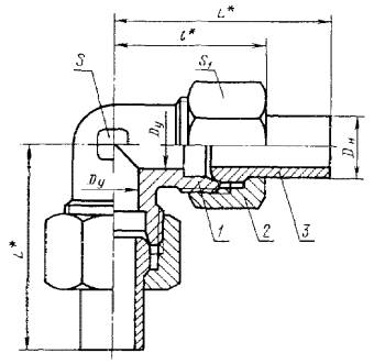
1. Настоящий стандарт распространяется на угловые проходные соединения трубопроводов с шаровым ниппелем с углом конуса угольника 24°.
2. Конструкция и основные размеры соединений трубопроводов должны соответствовать указанным на чертеже и в таблице.

*Размеры для справок
1 - угольник по ГОСТ 21859-78; 2 - накидная гайка по ГОСТ 23353-78; 3 - шаровой ниппель по ГОСТ 23355-78
Размеры, мм
|
Группа |
Наружный диаметр трубы Dн |
Условный проход Dу |
L |
l |
Размеры под «ключ» |
Масса 1000 шт., кг, не более |
|
|
S |
S1 |
||||||
|
1 |
4 |
2,5 |
40 |
21 |
7 |
10 |
25 |
|
5 |
3,0 |
9 |
12 |
33 |
|||
|
2 |
6 |
4,0 |
46 |
28 |
12 |
14 |
51 |
|
8 |
6,0 |
50 |
30 |
17 |
81 |
||
|
10 |
8,0 |
53 |
31 |
14 |
19 |
100 |
|
|
12 |
10,0 |
57 |
33 |
17 |
22 |
140 |
|
|
15 |
12,0 |
63 |
37 |
19 |
27 |
233 |
|
|
(16) |
24 |
30 |
296 |
||||
|
18 |
15,0 |
67 |
41 |
32 |
337 |
||
|
22 |
20,0 |
71 |
47 |
27 |
36 |
444 |
|
|
28 |
25,0 |
76 |
51 |
36 |
41 |
607 |
|
|
(34) |
32,0 |
85 |
59 |
41 |
50 |
976 |
|
|
35 |
962 |
||||||
|
42 |
40,0 |
91 |
65 |
50 |
60 |
1460 |
|
|
3 |
6 |
3,0 |
50 |
32 |
12 |
17 |
85 |
|
8 |
4.0 |
53 |
33 |
14 |
19 |
108 |
|
|
10 |
5.0 |
56 |
35 |
17 |
22 |
161 |
|
|
12 |
6,0 |
62 |
39 |
24 |
202 |
||
|
14 |
8,0 |
65 |
41 |
19 |
27 |
275 |
|
|
16 |
10,0 |
68 |
44 |
24 |
30 |
331 |
|
|
20 |
12.0 |
74 |
51 |
27 |
36 |
525 |
|
|
25 |
15,0 |
80 |
56 |
36 |
46 |
937 |
|
|
30 |
20,0 |
87 |
64 |
41 |
50 |
1317 |
|
|
38 |
25,0 |
97 |
75 |
50 |
60 |
2089 |
|
Примечание. Размеры, приведенные в скобках, непредпочтительны.
Пример условного обозначения соединения группы 1 с Dн = 5 мм:
Соединение 1-5 ГОСТ 24489-80
1, 2. (Измененная редакция, Изм. № 1).
3. Условные давления для каждой группы соединений приведены в рекомендуемом приложении 1 к ГОСТ 22525-77.
4. Технические требования, правила приемки, методы испытаний, маркировка, упаковка, транспортирование и хранение - по ГОСТ 15763-91.
ИНФОРМАЦИОННЫЕ ДАННЫЕ
1. РАЗРАБОТАН И ВНЕСЕН Государственным комитетом СССР по стандартам
РАЗРАБОТЧИКИ
Б.В. Максимовский; Г.В. Поляков, канд. техн. наук; С.А. Суховодова
2. УТВЕРЖДЕН И ВВЕДЕН В ДЕЙСТВИЕ Постановлением Государственного комитета СССР по стандартам от 30.12.80 № 6078
3. Срок проверки - 1998 г.
4. ВЗАМЕН ГОСТ 20972-75; ГОСТ 22875-77
5. ССЫЛОЧНЫЕ НОРМАТИВНО-ТЕХНИЧЕСКИЕ ДОКУМЕНТЫ
|
Обозначение НТД, на который дана ссылка |
Номер пункта |
|
ГОСТ 15763-91 |
|
|
ГОСТ 21859-78 |
|
6. Проверен в 1989 г. Срок действия продлен до 01.01.2000 Постановлением Госстандарта СССР от 25.10.89 № 3180
7. Переиздание (май 1991 г.) с Изменением № 1, утвержденным в октябре 1989 г. (ИУС 2-90)