
ГОСУДАРСТВЕННЫЙ СТАНДАРТ СОЮЗА ССР
ОКНА ЗАЩИТНЫХ БОКСОВ
ТИПЫ, КОНСТРУКЦИЯ И РАЗМЕРЫ
ГОСТ 23410-78
ГОСУДАРСТВЕННЫЙ КОМИТЕТ СССР
ПО СТАНДАРТАМ
Москва
ГОСУДАРСТВЕННЫЙ СТАНДАРТ СОЮЗА ССР
|
ОКНА ЗАЩИТНЫХ БОКСОВ Типы, конструкция и размеры Shield box viewing windows. Types, construction and dimensions |
ГОСТ |
Постановлением Государственного комитета СССР по стандартам от 28 декабря 1978 г. № 32 срок введения установлен
с 01.01.80
Проверен в 1984 г.
Несоблюдение стандарта преследуется по закону
Настоящий стандарт распространяется на смотровые окна, применяемые в защитных боксах с перчатками и манипуляторами, предназначенные для работы с радиоактивными веществами и другими источниками ионизирующих излучений.
Стандарт устанавливает типы, конструкцию и размеры окон.
1.1. В зависимости от способа крепления стекла устанавливаются следующие типы окон защитных боксов:
К - с креплением стекла в стальном корпусе с помощью рамки и болтов;
У - с креплением стекла в стальных уголках с помощью коробчатой рамки, шпилек, привариваемых к корпусу бокса, и маховичков (гаек);
П - с креплением стекла в резиновом профиле.
2.1. Окна типа К должны изготовляться в трех исполнениях:
1 - с корпусом и рамкой из углеродистой стали;
2 - с корпусом из коррозионно-стойкой стали, рамкой из углеродистой стали;
3 - с корпусом и рамкой из коррозионно-стойкой стали.
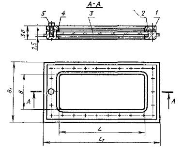
2.1.1. Конструкция, размеры и обозначения окон типа К и их составных частей должны соответствовать указанным на черт. 1-5 и в табл. 1-6.
Окно типа К
_____________
Размеры для справок
1 - корпус; 2 - рамка; 3 - стекло; 4 - прокладка; 5 - болт.
Черт. 1
Размеры, мм Таблица 1
|
Обозначение окон |
Применяемость |
L |
L1 |
В |
В1 |
|
|
1 |
К1-580-150 |
|
580 |
660-0,8 |
150 |
230-0,46 |
|
2 |
К2-580-150 |
|
||||
|
3 |
К3-580-150 |
|
||||
|
1 |
К1-580-240 |
|
240 |
320-0,57 |
||
|
2 |
К2-580-240 |
|
||||
|
3 |
К3-580-240 |
|
||||
|
1 |
К1-610-200 |
|
610 |
690-0,8 |
200 |
280-0,52 |
|
2 |
К2-610-200 |
|
||||
|
3 |
К3-610-200 |
|
||||
|
1 |
К1-610-300 |
|
300 |
380-0,57 |
||
|
2 |
К2-610-300 |
|
||||
|
3 |
К3-610-300 |
|

Черт. 2
Рамка

Черт. 3
Таблица 2
|
Исполнение |
Обозначение окна |
Деталь 1. Корпус |
Деталь 2. Рамка |
Деталь 3. Стекло |
Деталь 4. Прокладка |
Деталь 5. Болт М8´20 по ГОСТ 7798-70 |
Масса, кг |
|||||
|
Обозначение |
Количество |
Обозначение |
Количество |
Обозначение |
Количество |
Обозначение |
Количество |
Материал |
Количество |
|||
|
1 |
К1-580-150 |
К1-580-150/1 |
1 |
К1-580-150/2 |
1 |
К580-150/3 |
1 |
К580-150/4 |
2 |
сталь - марок 35, 45 по ГОСТ 1050-74 и марки 14´17Н2 по ГОСТ 5632-72 |
24 |
18,22 |
|
2 |
К2-580-150 |
К2-580-150/1 |
18,28 |
|||||||||
|
3 |
К3-580-150 |
К2-580-150/2 |
||||||||||
|
1 |
К1-580-240 |
К1-580-240/1 |
К1-580-240/2 |
К580-240/3 |
К580-240/4 |
26 |
23,06 |
|||||
|
2 |
К2-580-240 |
К2-580-240/1 |
23,12 |
|||||||||
|
3 |
К3-580-240 |
К2-580-240/2 |
||||||||||
|
1 |
К1-610-200 |
К1-610-200/1 |
К1-610-200/2 |
К610-200/3 |
К610-200/4 |
24 |
26,02 |
|||||
|
2 |
К2-610-200 |
К2-610-200/1 |
26,08 |
|||||||||
|
3 |
К3-610-200 |
К2-610-200/2 |
||||||||||
|
1 |
К1-610-300 |
К1-610-300/1 |
К1-610-300/2 |
К610-300/3 |
К610-300/4 |
28 |
30,51 |
|||||
|
2 |
К2-610-300 |
К2-610-300/1 |
30,57 |
|||||||||
|
3 |
К3-610-300 |
К2-610-300/2 |
||||||||||
Таблица 3
Размеры, мм
|
Обозначение |
L |
L1 |
L2 |
L3 |
В |
В1 |
В2 |
В3 |
В4 |
l |
l1 |
Количество промежутков между отверстиями, n |
Количество отверстий, n1 |
Масса, кг |
|
К1-580-150/1 |
580 |
602+0,7 |
616 |
660-0,8 |
150 |
172+0,4 |
186 |
70 |
230-0,46 |
63 |
58 |
1 |
24 |
11,16 |
|
К2-580-150/1 |
11,28 |
|||||||||||||
|
К1-580-240/1 |
240 |
262+0,52 |
276 |
140 |
320-0,57 |
68 |
2 |
26 |
15,52 |
|||||
|
К2-580-240/1 |
15,68 |
|||||||||||||
|
К1-610-200/1 |
610 |
632+0,8 |
646 |
690-0,8 |
200 |
222+0,46 |
236 |
70 |
280-0,52 |
78 |
83 |
1 |
24 |
18,85 |
|
К2-610-200/1 |
19,04 |
|||||||||||||
|
К1-610-300/1 |
300 |
322+0,57 |
336 |
210 |
380-0,57 |
63 |
3 |
28 |
21,90 |
|||||
|
К2-610-300/1 |
21,92 |
(Измененная редакция, Изм. № 1).
2.1.2. Материал - сталь по ГОСТ 380-71 и ГОСТ 5632-72.
Таблица 4
Размеры, мм
|
Обозначение |
L |
L1 |
L2 |
В |
В1 |
В2 |
В3 |
l |
l1 |
Количество промежутков между отверстиями, n |
Количество отверстий, n1 |
Масса, кг |
|
К1-580-150/2 |
580 |
616 |
636 |
150 |
70 |
186 |
206 |
63 |
58 |
1 |
24 |
4,52 |
|
К2-580-150/2 |
4,56 |
|||||||||||
|
К1-580-240/2 |
240 |
140 |
276 |
296 |
68 |
2 |
26 |
5,24 |
||||
|
К2-580-240/2 |
5,29 |
|||||||||||
|
К1-610-200/2 |
610 |
646 |
666 |
200 |
70 |
236 |
256 |
78 |
83 |
1 |
24 |
5,08 |
|
К2-610-200/2 |
5,13 |
|||||||||||
|
К1-610-300/2 |
300 |
210 |
336 |
356 |
63 |
3 |
28 |
5,70 |
||||
|
К2-610-300/2 |
5,76 |
2.1.3. Материал - сталь по ГОСТ 380-71 и ГОСТ 5632-72.
Таблица 5
Размеры, мм
|
Обозначение |
L |
В |
Масса, кг |
|
К580-150/3 |
600 ± 2,2 |
170 ± 1,25 |
1,34 |
|
К580-240/3 |
260 ± 1,60 |
2,05 |
|
|
К610-200/3 |
630 ± 2,2 |
220 ± 1,45 |
1,82 |
|
К610-300/3 |
320 ± 1,80 |
2,66 |
Стекло

Черт. 4
2.1.4. Материал - стекло плоское закаленное полированное 1-го сорта толщиной 5 - 6 мм по ГОСТ 5727-83.
Черт. 5
Таблица 6
Размеры, мм
|
L |
В |
Масса, кг |
|
|
К580-150/4 |
600 ± 2,2 |
170 ± 1,25 |
0,08 |
|
К580-240/4 |
260 ± 1,60 |
0,09 |
|
|
К610-200/4 |
630 ± 2,2 |
220 ± 1,45 |
0,08 |
|
К610-300/4 |
320 ± 1,80 |
0,09 |
2.1.5. Материал - резина тепло-морозо-кислото-щелочестойкая мягкая (ТМКЩМ) толщиной 5 мм по ГОСТ 7338-77 или пластины резиновые для уплотнительных прокладок вакуумных систем.
Пример условного обозначения окон типа К исполнений 1, 2 и 3 с размерами L´В = 580´150 мм
Окно К1-580-150 ГОСТ 23410-78
Окно К2-580-150 ГОСТ 23410-78
Окно К3-580-150 ГОСТ 23410-78
(Измененная редакция, Изм. № 1).
2.1.6. Неперпендикулярность поверхности Б корпуса относительно поверхности Д не должна быть более 0,25 мм.
2.1.7. Несимметричность поверхностей Г и К корпуса относительно поверхностей Б и поверхностей Е и Ж относительно поверхности Д не должна быть более 0,5 мм,
2.1.8. Несимметричность поверхности Г рамки относительно поверхности Б и поверхности Д относительно поверхности Е не должна быть более 0,5 мм.
2.1.9. Неуказанные предельные отклонения размеров: отверстия Н14, валов h14, остальных
по ГОСТ 25347-82.
2.1.10. Покрытие деталей окна из углеродистой стали цинковое с хроматированием по ГОСТ 9.306-85.
(Измененная редакция, Изм. № 2).
2.1.11. Конструкция окон типа К должна обеспечивать герметичность боксов при избыточном давлении в них 2∙103 Па (200 мм вод. ст.) во время испытаний и вакуумметрическом давлении 2∙102 Па (20 мм вод. ст.) при эксплуатации.
2.2. Окна типа У должны изготовляться в трех исполнениях:
1 - с прижимными рамками, уголками и шпильками из углеродистой стали;
2 - с прижимными рамками из углеродистой стали, уголками и шпильками из коррозионно-стойкой стали;
3 - с прижимными рамками, уголками и шпильками из коррозионностойкой стали.
2.2.1. Конструкция, размеры и обозначения окон типа У и их составных частей должны соответствовать указанным на черт. 6-12 и в табл. 7-9.
___________
* Размеры для справок.
** Размеры между уголками.
1 - прижимная рамка; 2 - маховичок; 3 - уголок; 4 - прокладка; 5 - шпилька; 6 - стекло; 7 - шайба.
Черт. 6
Рамка прижимная
Рис. 1

____________
* Размеры для справок.
** Размеры прокладок.
1 - рамка; 2, 3 - прокладка.
Черт. 7
|
Обозначение окна |
Рис. |
Применяемость |
Деталь 1. Рамка прижимная |
Деталь 2. Маховичок |
Деталь 3. Уголок |
Деталь 4. Прокладка |
|||||
|
Обозначение |
Количество |
Обозначение |
Количество |
Обозначение |
Количество |
Обозначение |
Количество |
||||
|
1 |
У1-600-190 |
|
У1-600-190/1 |
1 |
М6/2 |
10 |
1/3 |
4 |
У600-190/4 |
1 |
|
|
2 |
У2-600-190 |
|
2/3 |
||||||||
|
3 |
У3-600-190 |
|
У2-600-190/1 |
||||||||
|
1 |
У1-600-290 |
|
У1-600-290/1 |
12 |
1/3 |
У600-290/4 |
|||||
|
2 |
У2-600-290 |
|
2/3 |
||||||||
|
3 |
У3-600-290 |
|
У2-600-290/1 |
||||||||
Продолжение табл. 7
|
Исполнение |
Обозначение окна |
Рис. |
Применяемость |
Деталь 5. Шпилька |
Деталь 6. Стекло |
Деталь 7. Шайба по ГОСТ 11371-78 |
Масса, кг |
|||
|
Обозначение |
Количество |
Обозначение |
Количество |
Обозначение |
Количество |
|||||
|
1 |
У1-600-190 |
|
1-М6/5 |
10 |
К610-200/3 |
1 |
6.02.016 |
10 |
3,88 |
|
|
2 |
У2-600-190 |
|
2-М6/5 |
3,92 |
||||||
|
3 |
У3-600-190 |
|
6.21.12´18Н10Т |
3,98 |
||||||
|
1 |
У1-600-290 |
|
1-М6/5 |
12 |
К610-300/3 |
6.02.016 |
12 |
5,03 |
||
|
2 |
У2-600-290 |
|
2-М6/5 |
5,08 |
||||||
|
3 |
У3-600-290 |
|
6.21.12Х18Н10Т |
5,13 |
||||||
(Измененная редакция, Изм. № 1).
2.2.2. Материал рамки - сталь по ГОСТ 380-71 и ГОСТ 5632-72.
Таблица 8
|
Исполнение |
Обозначение |
Рис. |
Количество отверстий, п |
Масса кг |
|
1 |
У1-600-190/1 |
10 |
1,20 |
|
|
2 |
У2-600-190/1 |
1,21 |
||
|
1 |
У1-600-290/1 |
12 |
1,30 |
|
|
2 |
У2-600-290/1 |
1,31 |
Маховичок

1 - втулка; 2 - фенопласт марок 03-010-02, Э1-340-02, В´2-090-09 по ГОСТ 5689-79.
Черт. 8
Втулка маховичка

Черт. 9
2.2.3. Материал - сталь по ГОСТ 380-71 и ГОСТ 5632-72.
Уголок

____________
* Размер для справок.
Черт. 10.
2.2.4. Материал - сталь по ГОСТ 380-71 и ГОСТ 5632-72.
Прокладка

Черт. 11
Таблица 9
Размеры, мм
|
В |
Масса, кг |
|
|
У600-190/4 |
218 ± 1,45 |
0,35 |
|
У600-290/4 |
318 ± 1,80 |
0,38 |
2.2.5. Материал - резина тепло-морозо-кислото-щелочестойкая мягкая (ТМКЩМ) по ГОСТ 7338-77 или пластина резиновая для уплотнительных прокладок вакуумных систем толщиной 10 - 16 мм.

_____________
* Размеры для справок
Черт. 12
2.2.6. Материал - сталь по ГОСТ 380-71 и ГОСТ 5632-72.
Примеры условного обозначения окон типа У исполнений 1, 2 и 3 с размерами 600´190 мм:
Окно У1-600-190 ГОСТ 23410-78
Окно У2-600-190 ГОСТ 23410-78
Окно У3-600-190 ГОСТ 23410-78
2.2.7. Рамки и уголки допускается изготовлять из листовой стали толщиной 2 мм.
Прокладки допускается изготовлять из губчатой технической пластины с двумя пленками при условии соблюдения требований герметичности.
2.2.8. Смещение осей шпилек от номинального расположения при приварке их к корпусу бокса не должно быть более 0,5 мм.
2.2.9. Несимметричность расположения шпилек относительно проема бокса не более 0,3 мм.
2.2.10. При приварке уголков несимметричность их расположения относительно проема бокса не должна быть более 0,5 мм.
2.2.11. Неплоскостность поверхности корпуса бокса, к которой приклеивается прокладка, не должна быть более 1 мм.
2.2.12. Прокладки к корпусу бокса и рамке клеить клеем 88-Н или 88 НП.
(Измененная редакция, Изм. № 2).
2.2.13. Покрытие деталей окна из углеродистой стали цинковое с хроматированием по ГОСТ 9.306-85.
(Измененная редакция, Изм. № 2).
2.2.14. Масса маховичка - 0,022 кг, уголка - 0,015 кг, шпильки - 0,008 кг.
2.3. Конструкция, размеры и обозначения окон типа П и их составных частей должны соответствовать указанным на черт. 13-16 и в табл. 10-11.
Таблица 10
Размеры, мм
|
Применяемость |
L |
L1 |
L2 |
В |
В1 |
В2 |
Деталь 1. Стекло |
Деталь 2. Профиль 1 |
Деталь 3. Профиль 3 |
Масса, кг |
||||
|
Обозначение |
Количество |
Материал |
Длина |
Материал |
||||||||||
|
П433-133 |
|
433 |
465+0,63 |
488 |
133 |
165+0,40 |
188 |
П433-133/1 |
1 |
Резина В-С |
1095+2,6 |
Резина В-П |
1,54 |
|
|
П433-183 |
|
183 |
215+0,46 |
238 |
П433-183/1 |
1195+2,6 |
1,94 |
|||||||
|
П583-153 |
|
583 |
615+0,70 |
638 |
153 |
185+0,46 |
208 |
П583-153/1 |
1435+3,1 |
2,21 |
||||
|
П583-243 |
|
243 |
275+0,52 |
298 |
П583-243/1 |
1615+3,7 |
3,31 |
|||||||
|
П613-203 |
|
613 |
645+0,80 |
668 |
203 |
235+0,46 |
258 |
П613-203/1 |
1595+3,1 |
2,89 |
||||
|
П613-303 |
|
303 |
335+0,57 |
358 |
П613-303/1 |
1795+3,7 |
4,01 |
|||||||
|
П683-333 |
|
683 |
715+0,80 |
738 |
333 |
365+0,57 |
388 |
П683-333/1 |
1995+3,7 |
4,68 |
||||

___________
Линейные размеры для справок.
1 - стекло; 2 - профиль 1; 3 - профиль 3.
Черт. 13
Стекло

Черт. 14
Таблица 11
Размеры, мм
|
L |
В |
Масса, кг |
|
|
П433-133/1 |
450 ± 2,0 |
150 ± 1,25 |
1,11 |
|
П433-183/1 |
200 ± 1,45 |
1,80 |
|
|
П583-153/1 |
600 ± 2,2 |
170 ± 1,25 |
1,68 |
|
П583-243/1 |
260 ± 1,60 |
2,70 |
|
|
П613-203/1 |
630 ± 2,2 |
220 ± 1,45 |
2,28 |
|
П613-303/1 |
320 ± 1,80 |
3,32 |
|
|
П683-333/1 |
700 ± 2,5 |
350 ± 1,80 |
3,82 |
(Измененная редакция, Изм. № 1, 2).
2.3.1. Материал - стекло плоское закаленное полированное 1-го сорта, толщиной 5 - 6 мм по ГОСТ 5727-83.
Профиль 1

_____________
Размеры для справок.
Черт. 15

____________
Размеры для справок.
Черт. 16
Пример условного обозначения окна типа П с размерами L´В = 433´133 мм:
Окно П433-133 ГОСТ 23410-78.
2.3.2. Коробление корпуса бокса по контуру прилегания профиля 1 не должно быть более 1 мм.
2.3.3. Стенка бокса, на которой устанавливают окно, должна быть толщиной 2 - 3 мм.
2.3.4. Клеевой шов выполнить резиновым клеем по ГОСТ 2199-78.
2.3.5. Конструкция окон типов У и П должна обеспечивать герметичность боксов при избыточном давлении в них 1∙103 Па (100 мм вод. ст.) во время испытаний и вакуумметрическом давлении 2∙102 Па (20 мм вод. ст.) при эксплуатации.
СОДЕРЖАНИЕ