
ГОСУДАРСТВЕННЫЙ СТАНДАРТ СОЮЗА ССР
СОЕДИНЕНИЯ ТРУБОПРОВОДОВ РЕЗЬБОВЫЕ
КОНЦЫ КОРПУСНЫХ ДЕТАЛЕЙ
ВВЕРТНЫЕ И ГНЕЗДА ПОД НИХ
КОНСТРУКЦИЯ
ГОСТ 22526-77
ИПК ИЗДАТЕЛЬСТВО СТАНДАРТОВ
Москва
СОДЕРЖАНИЕ
ГОСУДАРСТВЕННЫЙ СТАНДАРТ СОЮЗА ССР
|
Соединения трубопроводов резьбовые КОНЦЫ КОРПУСНЫХ ДЕТАЛЕЙ ВВЕРТНЫЕ И ГНЕЗДА ПОД НИХ Конструкция Threaded
pipeline connections. |
ГОСТ |
Дата введения 01.01.79
1. Настоящий стандарт распространяется на ввертные концы корпусных деталей и гнезда под них с цилиндрической резьбой и плоской прокладкой и с метрической конической резьбой, применяемые в резьбовых соединениях трубопроводов, арматуре и гидропневмооборудовании.
Обязательные требования к качеству продукции, обеспечивающие ее безопасность для жизни, здоровья и охрану окружающей среды, изложены в пп. 2, 4 и 5 настоящего стандарта.
(Измененная редакция, Изм. № 2, 3).
|
|
|
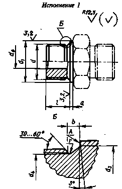
Черт. 1
|
|
|
Черт. 2
Примечания:
1. Канавки с размерами а1, d2 может не быть, если торцевое биение не превышает заданного.
2. Допускается изготовление гнезд для ввертных концов штуцеров исполнения 1 с проточкой по ГОСТ 10549.
Таблица 1
Размера концов ввертных штуцеров и гнезд с метрической резьбой, мм
|
Груп- |
d |
d1 |
d2 |
d3 |
d4 |
ds |
d6 |
а |
а1 |
b |
r |
l(пред, |
l1, |
l1 |
||
|
Пред. откл. |
Пред. откл. |
Исполнение |
||||||||||||||
|
-0,4 |
+0,4 |
+0,4 |
-0,4 |
+0,3 |
1 |
3 |
ко- |
длин- |
||||||||
|
1 |
M8×l |
12 |
13 |
8,5 |
6,4 |
MK8×l |
3 |
1,5 |
1,0 |
2 |
1,0 |
8 |
8 |
8 |
- |
5,5 |
|
M10×l |
14 |
15 |
10,5 |
8,4 |
МК10×1 |
4,5 |
14 |
|||||||||
|
2 |
M8×l |
12 |
13 |
8,5 |
6,4 |
МК 8×1 |
2,5 |
- |
||||||||
|
M10×l |
14 |
15 |
10,5 |
8,4 |
МК 10×1 |
4 |
14 |
|||||||||
|
М12×1,5 |
17 |
18 |
12,5 |
9,7 |
МК12×1,5 |
6 |
2,0 |
1,5 |
3 |
1,2 |
12 |
12 |
12 |
17 |
8,5 |
|
|
М14×1,5 |
19 |
20 |
14,5 |
11,7 |
МК14×1,5 |
7 |
||||||||||
|
М16×1,5 |
21 |
22 |
16,5 |
13,7 |
МК16×1,5 |
9 |
||||||||||
|
М18×1,5 |
23 |
24 |
18,5 |
15,7 |
МК18×1,5 |
11 |
2,5 |
2,0 |
18 |
|||||||
|
М22×1,5 |
27 |
28 |
22,5 |
19,7 |
МК22×1,5 |
12 |
3,0 |
2,5 |
14 |
14 |
27 |
|||||
|
14 |
14 |
10,0 |
||||||||||||||
|
М26×1,5 |
32 |
33 |
27,5 |
24,0 |
- |
18 |
4 |
1,6 |
16 |
- |
16 |
31 |
- |
|||
|
М33×2 |
39 |
40 |
33,5 |
30,0 |
23 |
18 |
18 |
33 |
||||||||
|
М42×2 |
49 |
50 |
42,5 |
39,0 |
30 |
20 |
20 |
- |
||||||||
|
- |
||||||||||||||||
|
М48×2 |
55 |
56. |
48,5 |
45,0 |
36 |
22 |
22 |
|
||||||||
|
3 |
М12×1,5 |
17 |
18 |
12,5 |
9,7 |
4 |
2,0 |
1,5 |
3 |
1,2 |
12 |
12 |
||||
|
М14×1,5 |
19 |
20 |
14,5 |
11,7 |
5 |
|||||||||||
|
М16×1,5 |
21 |
22 |
16,5 |
13,7 |
7 |
|||||||||||
|
М18×1,5 |
23 |
24 |
18,5 |
15,7 |
8 |
2,5' |
2,0 |
|||||||||
|
(М20×1,5) |
25 |
26 |
20,5 |
17,7 |
10 |
14 |
14 |
|||||||||
|
М22×1,5 |
27 |
28 |
22,5 |
19,7 |
12 |
3,0 |
2,5 |
|||||||||
|
М27×2 |
32 |
33 |
27,5 |
24,0 |
16 |
4 |
1,6 |
16 |
16 |
|||||||
|
М33×2 |
39 |
40 |
33,5 |
30,0 |
20 |
18 |
18 |
|||||||||
|
М42×2 |
49 |
50 |
42,5 |
39,0 |
25 |
20 |
20 |
|||||||||
|
М48×2 |
55 |
56 |
48,5 |
45,0 |
32 |
22 |
22 |
|||||||||
|
М56×2 |
64 |
65 |
56,5 |
53,0 |
- |
24 |
24 |
|||||||||
|
М72×2 |
79 |
80 |
72,5 |
69,0 |
- |
26 |
26 |
|||||||||
|
М90×2 |
100 |
101 |
90,5 |
87,0 |
- |
29 |
29 |
|||||||||
*Для поворотных соединений с полым болтом исполнений 2; 4 по ГОСТ 25683.
Примечание. Значения, приведенные в скобках, непредпочтительны.
Таблица 2
Размеры концов ввертных штуцеров и гнезд с трубной резьбой, мм
|
Группа |
d |
d1 |
d2 |
d3 |
d4 |
d6 |
а |
а1 |
b |
r |
l (пред. откл. |
l1, не менее |
|
|
Пред. откл. |
Пред. откл. |
Исполнение |
|||||||||||
|
-0,4 |
+0,4 |
-0,2 |
-0,2 |
-1-0,4 |
-0,4 |
-1-0,3 |
1 |
||||||
|
1 |
G 1/8 |
14 |
15 |
10,2 |
8,1 |
4 |
1,5 |
1,0 |
2 |
1,0 |
8 |
8 |
|
|
2 |
|||||||||||||
|
G l/4 |
18 |
19 |
13,6 |
10,8 |
7 |
2,0 |
1,5 |
3 |
1,2 |
12 |
12 |
||
|
G 3/8 |
22 |
23 |
17,2 |
14,4 |
9 |
2,5 |
2,0 |
||||||
|
G l/2 |
26 |
27 |
21,5 |
18,0 |
14 |
3,0 |
2,5 |
4 |
1,6 |
14 |
14 |
||
|
G3/4 |
32 |
33 |
27,0 |
23,5 |
18 |
16 |
16 |
||||||
|
G 1 |
39 |
40 |
33,7 |
29,2 |
23 |
5 |
2,5 |
18 |
18 |
||||
|
G11/4 |
49 |
50 |
42,5 |
38,0 |
30 |
20 |
20 |
||||||
|
G1 l/2 |
55 |
56 |
48,3 |
43,8 |
36 |
22 |
22 |
||||||
|
3 |
G1/4 |
18 |
19 |
13,6 |
10,8 |
5 |
2,0 |
1,5 |
3 |
1,2 |
12 |
12 |
|
|
G3/8 |
22 |
23 |
17,2 |
14,4 |
8 |
2,5 |
2,0 |
||||||
|
Gl/2 |
26 |
27 |
21,5 |
18,0 |
12 |
3,0 |
2,5 |
4 |
1,6 |
14 |
14 |
||
|
G3/4 |
32 |
33 |
27,0 |
23,5 |
16 |
16 |
16 |
||||||
|
G 1 |
39 |
40 |
33,7 |
29,2 |
20 |
5 |
2,5 |
18 |
18 |
||||
|
G ll/4 |
49 |
50 |
42,5 |
38,0 |
25 |
20 |
20 |
||||||
|
Gll/2 |
55 |
56 |
48,3 |
43,8 |
32 |
22 |
22 |
||||||
Примечания:
1. Значения, приведенные в скобках, непредпочтительны.
2. При новом проектировании трубную резьбу применять не допускается.
1, 2. (Измененная редакция, Изм. № 1, 2, 3).
Рекомендуемые значения номинального (условного) давления в зависимости от вида соединения - по ГОСТ 15763, приложение 3.
4. Допуск
торцового биения поверхности А относительно
оси среднего диаметра резьбы должен быть не более:
3, 4. (Измененная редакция, Изм. № 3).
5. Технические требования - по ГОСТ 15763.
|
Группа |
Резьба |
Номинальное |
Резьба
трубная |
Номинальное |
Резьба |
Номинальное |
|
1 |
М8×1 |
10(100) |
G1/8 |
10(100) |
МК8×1 |
10(100) |
|
2 |
M8×l |
25(250) |
G1/8 |
25(250) |
МК8×1 |
|
|
M12×l,5 |
G1/4. |
МК12×1,5 |
16(160) |
|||
|
М16×1,5 |
G3/8 |
МК16×1,5 |
|
|||
|
М18×1,5 |
G1/2 |
МК18×1,5 |
|
|||
|
М22×1,5 |
16(160) |
МК22×1,5 |
|
|||
|
М26×1,5 |
G3/4 |
16(160) |
- |
- |
||
|
М33×2 |
10(100) |
G 1 |
10(100) |
|||
|
3 |
М12×1,5 |
63(630) |
G 1/4 |
63(630) |
- |
- |
|
М18×1,5 |
G3/8 |
40(400) |
||||
|
(М20×1,5) |
G1/2 |
|||||
|
М22×1,5 |
40(400) |
|||||
|
М27×2 |
G 3/4 |
|||||
|
М42×2 |
25(250) |
G 1/4 |
25(250) |
ПРИЛОЖЕНИЕ. (Введено дополнительно, Изм. № 3).
1. РАЗРАБОТАН И ВНЕСЕН Государственным комитетом СССР по стандартам
РАЗРАБОТЧИКИ
Б.В. Максимовский; Г.В. Поляков, канд. техн. наук; Ю.А. Шамшурин
2. УТВЕРЖДЕН И ВВЕДЕН В ДЕЙСТВИЕ Постановлением Государственного комитета стандартов Совета Министров СССР от 12.05.77 № 1180
Изменение № 3 принято Межгосударственным Советом по стандартизации, метрологии и сертификации 12.10.95 протокол № 8
За принятие проголосовали:
|
Наименование государства |
Наименование
национального органа |
|
Республика Белоруссия |
Госстандарт Белоруссии |
|
Республика Казахстан |
Госстандарт Республики Казахстан |
|
Республика Молдова |
Молдовастандарт |
|
Российская Федерация |
Госстандарт России |
|
Республика Таджикистан |
Таджикгосстандарт |
|
Туркменистан |
Главная государственная инспекция Туркменистана |
|
Украина |
Госстандарт Украины |
3. ВВЕДЕН ВПЕРВЫЕ
4. ССЫЛОЧНЫЕ НОРМАТИВНО-ТЕХНИЧЕСКИЕ ДОКУМЕНТЫ
|
Обозначение НТД, на который дана ссылка |
Номер пункта |
|
ГОСТ 15763-75 |
|
|
ГОСТ 25683-83 |
5. Ограничение срока действия снято по протоколу № 7-95 Межгосударственного Совета по стандартизации, метрологии и сертификации (ИУС 11-95)
6. ПЕРЕИЗДАНИЕ (декабрь