
ГОСУДАРСТВЕННЫЙ СТАНДАРТ СОЮЗА ССР
ПАЙКА
МЕТОД ОПРЕДЕЛЕНИЯ ТЕМПЕРАТУРЫ РАСПАЙКИ
ГОСТ 21547-76
ГОСУДАРСТВЕННЫЙ КОМИТЕТ СССР ПО СТАНДАРТАМ
Москва
ГОСУДАРСТВЕННЫЙ СТАНДАРТ СОЮЗА ССР
|
ПАЙКА Метод определения температуры распайки Brazing and soldering. |
ГОСТ |
Постановлением Государственного Комитета стандартов Совета Министров СССР от 5 февраля 1976 г. № 345 срок введения установлен
с 01.01.1977 г.
Проверен в 1981 г. Постановлением Госстандарта от 10.08.81 № 3745 срок действия продлен
до 01.01. 1987 г.
Несоблюдение стандарта преследуется по закону
Настоящий стандарт распространяется на паяные соединения и устанавливает метод определения температуры распайки при равномерном нагреве образца, находящегося под постоянной статической нагрузкой.
1.1. Для испытания следует применять плоские образцы, паяные внахлестку и, в случае отсутствия листового материала, цилиндрические образцы, паяные встык. Форма и размеры образцов указаны на черт. 1. Тип выбранных образцов должен быть указан в протоколе испытаний.
1.2. Перед пайкой следует определить массу нижней части образца. Погрешность при определении массы не более 1 г.
Черт. 1
2.1. Электропечи сопротивления или высокочастотные установки, которые должны обеспечивать равномерный нагрев образца от температуры, лежащей на 50 - 70 °С ниже солидуса припоя, со скоростью:
10 - 15 °С в минуту для соединений, выполненных низкотемпературной пайкой;
20 - 30 °С в минуту для соединений, выполненных высокотемпературной пайкой.
2.2. Термопары по ГОСТ 6616-74 и приборы по ГОСТ 7164-78 для фиксирования температуры образца.
3.1. Образцы для определения температуры распайки следует паять в газовой среде, вакууме или с флюсом по режимам, применяемым в соответствующих технологических процессах. Зазор при пайке должен соответствовать техническим условиям на изделие. В случае отсутствия таких данных зазор должен быть не более 0,15 мм.
Зазор должен быть указан в протоколе испытаний.
3.2. Перед испытаниями на паяных образцах следует установить не менее трех термопар. Рабочие концы термопар следует крепить к образцу зачеканкой, контактной электросваркой или другим методом, обеспечивающим надежный тепловой контакт в местах, указанных на черт. 2.
Черт. 2
3.3. К нижней части образца следует подвесить удлинительную штангу с площадкой для разновесов или прикрепить разновесы с помощью сварки.
3.4. Суммарная масса нижней части образца, удлинительной штанги и площадки с разновесами должна составлять 150 ± 3 г для плоских образцов и 78 ± 2 г для цилиндрических образцов.
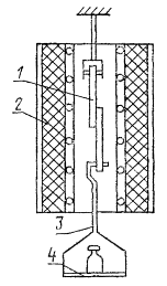
4.1. Образец с закрепленной удлинительной штангой и площадкой с разновесами следует поместить в нагревательное устройство, как показано на черт. 3.
4.2. Испытаниям следует подвергать не менее трех образцов.
4.3. Для предотвращения образования окалины допускается проведение испытаний в инертной или активной газовой среде, вакууме или с нанесением флюса на образец.
4.4. Температура распайки соединения должна быть зафиксирована в момент отрыва нижней части образца, но не позднее, чем через 2 с.
1 - испытуемый образец; 2 - нагревательное устройство; 3 - удлинительная штанга; 4 - площадка с разновесами
Черт. 3
5.1. За температуру распайки образца следует принимать среднее арифметическое значение показаний трех термопар.
5.2. За температуру распайки паяного соединения следует принимать среднее арифметическое результатов испытаний трех образцов. В протоколе следует указывать степень дисперсии результатов.
(Измененная редакция, Изм. № 1).
5.3. Испытания считаются недействительными при выходе из строя в период нагрева хотя бы одной из термопар или обнаружения непропая в шве после испытаний более 5 % от заданной площади нахлестки. В указанных случаях испытание должно быть повторено, при этом количество образцов должно соответствовать числу недействительных результатов испытаний.
5.4. Результаты испытаний каждого образца необходимо заносить в протокол испытаний, форма которого указана в рекомендуемом приложении.
Рекомендуемое
ПРОТОКОЛ № ___________
|
||||||||
|
Номер образца |
Зазор, мм |
Среда испытаний |
Показания термопар, °С |
Температура распайки образца, °С |
Температура распайки соединения, °С |
Степень дисперсии, % |
||
|
1 |
2 |
3 |
||||||
|
|
|
|
|
|
|
|
|
|
|
Подписи: |
||||||||
СОДЕРЖАНИЕ
|
3. Подготовка к испытаниям.. 2 Приложение Протокол испытаний образцов по определению температуры распайки. 4 |