ГОСТ 18132-72
МЕЖГОСУДАРСТВЕННЫЙ СТАНДАРТ
БРИКЕТЫ И ПОЛУБРИКЕТЫ
ТОРФЯНЫЕ
МЕТОД ОПРЕДЕЛЕНИЯ МЕХАНИЧЕСКОЙ ПРОЧНОСТИ
ИПК ИЗДАТЕЛЬСТВО СТАНДАРТОВ
Москва
МЕЖГОСУДАРСТВЕННЫЙ СТАНДАРТ
|
БРИКЕТЫ И ПОЛУБРИКЕТЫ ТОРФЯНЫЕ Метод определения механической прочностиPeat briquetts and semibriquetts. Method for determination of mechanical strength |
ГОСТ Взамен |
Дата введения 01.01.74
Настоящий стандарт распространяется на торфяные брикеты и полубрикеты и устанавливает метод определения механической прочности.
Сущность метода заключается в механической обработке брикетов или полубрикетов во вращающемся барабане закрытого типа и последующем рассеве.
1.1. Для проведения испытания применяют следующее оборудование:
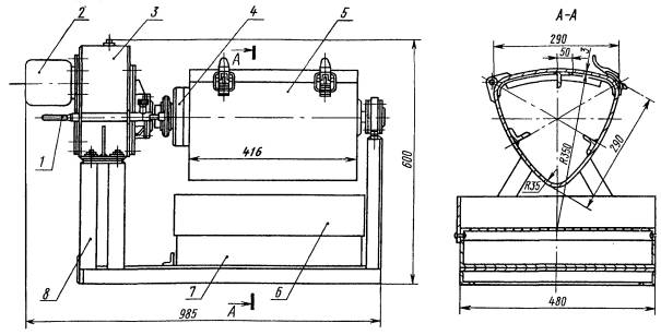
механическую установку МИБ, изготовленную по чертежам Калининского филиала Всесоюзного научно-исследовательского института торфяной промышленности (ВНИИТП), схема которой изображена на чертеже.

1 - ручка переключения муфты; 2 - электродвигатель; 3 - редуктор; 4 -муфта; 5 - барабан; 6 - сито; 7 - поддон; 8 - опорная рама
Установка состоит из вращающегося стального барабана, имеющего в разрезе треугольную форму с выпуклыми поверхностями и тремя угловыми профилями внутри. Одна из поверхностей барабана съемная и является крышкой люка для загрузки и выгрузки барабана. Барабан снабжен электроприводом, обеспечивающим частоту вращения (25 ± 2) мин-1.
На раме под барабаном размещается сито с металлической сеткой № 25-2.0 по ГОСТ 5336 и поддон.
Допускается использовать установки других конструкций при соблюдении формы и размера барабана и частоты его вращения;
секундомер для определения частоты вращения барабана;
весы с погрешностью взвешивания не более 5 г.
(Измененная редакция, Изм. № 1, 2).
2.1. Для испытания из отобранной по ГОСТ 13674 и ГОСТ 5396 и усредненной объединенной пробы набирают две пробы массой по (5 ± 0,25) кг каждая.
(Измененная редакция, Изм. № 1).
2.2. Пробу брикетов или полубрикетов загружают в барабан, плотно закрывают крышку люка и включают электродвигатель.
Барабан с пробой вращают в течение 10 мин, после чего электродвигатель отключают, открывают крышку люка и высыпают содержимое барабана на расположенное под ним сито. Не разрушившиеся брикеты или полубрикеты и крупные куски отбирают, а остаток на сите просеивают вручную.
После рассева надрешетный продукт соединяют с ранее отобранными брикетами и кусками и взвешивают.
2.3. Все взвешивания производят с погрешностью не более 5 г.
(Измененная редакция, Изм. № 2).
2.4. Испытанию в барабане подвергают две параллельные пробы. После испытания надрешетный и подрешетный продукты возвращают в объединенную пробу.
(Измененная редакция, Изм. № 1).
3.1. На основании данных рассева рассчитывают содержание кусков размером более 25 мм, выраженное в процентах от массы загруженной пробы, которое и характеризует механическую прочность брикетов и полубрикетов на истирание (Пи).
Механическую прочность (Пи) в процентах вычисляют по формуле
![]()
где т - масса пробы, загруженной в барабан, кг;
т1 - масса кусков размером более 25 мм, кг.
(Измененная редакция, Изм. № 1).
3.2. За окончательный результат принимают среднее арифметическое результатов двух параллельных определений.
1. РАЗРАБОТАН И ВНЕСЕН Министерством топливной промышленности РСФСР
2. РАЗРАБОТЧИКИ
Л.Н. Травников, В.М. Петрович, С.С. Полушина
3. УТВЕРЖДЕН И ВВЕДЕН В ДЕЙСТВИЕ Постановлением Государственного комитета стандартов Совета Министров СССР от 21.09.72 № 1749
4 ВЗАМЕН ГОСТ 10453-63 в части определения механической прочности
5 ССЫЛОЧНЫЕ НОРМАТИВНО-ТЕХНИЧЕСКИЕ ДОКУМЕНТЫ
|
Обозначение НТД, на который дана ссылка |
Номер пункта |
|
ГОСТ 13674-78 |
6. Ограничение срока действия снято по протоколу № 3-93 Межгосударственного Совета по стандартизации, метрологии и сертификации (ИУС 6-93)
7 ИЗДАНИЕ (март 2000 г.) с Изменениями № 1, 2, утвержденными в сентябре 1983 г., мае 1988 г. (ИУС 1-84, 8-88)
СОДЕРЖАНИЕ