МЕЖГОСУДАРСТВЕННЫЕ СТАНДАРТЫ
БУМАГА И КАРТОН
МЕТОДЫ ИСПЫТАНИЙ
ГОСТ 13525.7-68
МОСКВА - 1999
МЕЖГОСУДАРСТВЕННЫЙ СТАНДАРТ
|
БУМАГА И КАРТОН Методы определения влагопрочности Paper and board. Methods for determination of wet strength |
ГОСТ
|
Дата введения 01.01.70
Настоящий стандарт распространяется на бумагу и картон и устанавливает методы определения влагопрочности при кратковременном и длительном намокании. Сущность методов заключается в определении механической прочности бумаги или картона во влажном состоянии после выдерживания в воде в течение определенного времени.
Применение методов предусматривается в стандартах и технических условиях, устанавливающих технические требования на бумагу и картон.
1.1. Отбор проб для испытания должен проводиться по ГОСТ 8047.
1.2. (Исключен, Изм. № 2).
2.1. Аппаратура и растворы.
2.1.1. Для проведения испытания должны применяться следующие аппаратура и растворы: разрывная машина, отвечающая требованиям ГОСТ 13525.1;
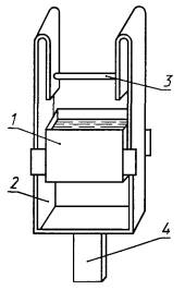
приспособление для намокания полосок бумаги (см. чертеж), состоящее из ванночки 1, которая может вертикально перемещаться по направляющим 2 и фиксироваться в верхнем положении, горизонтального стержня 3 диаметром (5,0±0,1) мм и длиной (25±1) мм и хвостовика 4 для закрепления приспособления в нижнем зажиме разрывной машины. При верхнем положении ванночки стержень должен опускаться в ванночку не менее чем на 25 мм, при установке на разрывной машине отклонение образующей стержня от параллельности относительно плоскости нижней кромки верхнего зажима не должно превышать 0,1 мм;
секундомер;
термометр по ГОСТ 28498 с ценой деления не более 1 °С;
вода дистиллированная по ГОСТ 6709.
(Измененная редакция, Изм. № 2).
2.2. Подготовка к испытанию.
2.2.1. От листов пробы произвольно отбирают десять листов для испытания и из каждого вырезают по два образца в машинном и поперечном направлениях или в одном из них в зависимости от указаний в стандартах на продукцию. Ширина полосок должна составлять (15,0±0,1) мм, длина - не менее 250 мм.
(Измененная редакция, Изм. № 2).

2.2.2. Образцы подвергают кондиционированию по ГОСТ 13523 при относительной влажности, температуре воздуха и в течение времени, указанных в стандартах на продукцию.
(Введен дополнительно, Изм. № 2).
2.3. Проведение испытания.
2.3.1. Половину общего числа образцов испытывают по ГОСТ 13525.1 и определяют разрушающее усилие, другую половину образцов испытывают следующим образом:
приспособление для намокания закрепляют в нижнем зажиме разрывной машины так, чтобы расстояние от горизонтального стержня до верхнего зажима составляло (90±10) мм. Ванночка должна быть наполнена водой до отметки и находиться в нижнем положении.
Испытуемый образец подводят под стержень так, чтобы образовалась петля, оба конца которой закрепляют в верхнем зажиме машины. Образец погружают в воду на глубину 20 мм путем поднятия ванночки в верхнее положение. С этого момента начинают отсчет времени. По истечении (30±2) с ванночку опускают и нагружают образец до его разрыва. Взятый по шкале машины результат отсчета должен быть разделен на два.
Температура воды в ванночке во время испытания должна соответствовать температуре, установленной для кондиционирования образцов.
(Измененная редакция, Изм. № 2).
2.3.2. Для каждого направления бумаги производят десять определений.
(Измененная редакция, Изм. № 1).
2.4. Подсчет результатов испытания.
2.4.1. В зависимости от указаний в соответствующих стандартах на бумагу или картон влагопрочность при кратковременном намокании (В) выражают средним арифметическим результатов определений разрушающего усилия влажных образцов в Н (кгс) или вычисляют в процентах по формуле
![]()
где Рв - среднее арифметическое десяти измерений разрушающего усилия влажных образцов, Н (кгс);
Pс - среднее арифметическое десяти измерений разрушающего усилия воздушно-сухих образцов, Н (кгс).
Результат округляют до первого десятичного знака.
Относительная погрешность результата определения разрушающего усилия влажных образцов не должна превышать ±7 % при доверительной вероятности 0,95; относительная погрешность результата определения влагопрочности не должна превышать ±9 % при доверительной вероятности 0,95.
(Измененная редакция, Изм. № 2).
3.1. Аппаратура, материалы и растворы.
3.1.1. Для проведения испытания должны применяться следующие аппаратура, материалы и растворы:
приборы для определения показателей механической прочности (сопротивления разрыву или раздиранию, или продавливанию), отвечающие требованиям соответствующих стандартов на методы испытаний;
ванночка размером не менее 250´250´25 мм;
отжимной металлический валик массой (1,0±0,2) кг. Длина валика должна быть больше ширины испытуемого образца на 20 - 30 мм;
термометр по ГОСТ 28498 с ценой деления не более 1 °С;
бумага промокательная по ТУ 13-7308001-758;
вода дистиллированная по ГОСТ 6709.
(Измененная редакция, Изм. № 1, 2).
3.2. Подготовка к испытанию.
3.2.1. Из каждого листа пробы вырезают образцы так, как это предусмотрено соответствующими стандартами на методы испытаний.
3.2.2. Для определения относительной влагопрочности вырезают удвоенное количество образцов по сравнению с указанным в соответствующих стандартах на методы испытаний.
3.2.3. Образцы подвергают кондиционированию по ГОСТ 13523 при относительной влажности, температуре воздуха и в течение времени, указанных в стандартах на продукцию.
3.2.4. При времени выдерживания образцов в воде 60 мин и более образцы перед погружением их в воду не кондиционируют.
3.2.5. Образцы бумаги и картона со специальной обработкой для придания прочности во влажном состоянии испытывают по истечении определенного времени с момента изготовления продукции, указанного в стандартах на отдельные виды бумаги и картона.
3.2.3 - 3.2.5. (Введены дополнительно, Изм. № 2).
3.3. Проведение испытания.
3.3.2. При определении относительной влагопрочности для половины образцов, подвергшихся кондиционированию, определяют требуемый показатель механической прочности в сухом состоянии по соответствующим стандартам на методы испытаний, остальные испытывают по п. 3.3.1.
3.3.3. Время выдерживания образцов в воде должно составлять (120±5) мин, если в стандартах на отдельные виды бумаги или картона нет соответствующих указаний.
3.3.1 - 3.3.3. (Измененная редакция, Изм. № 2).
3.3.4. (Исключен, Изм. № 1).
3.4. Подсчет результатов испытания.
3.4.1. В зависимости от указаний в соответствующих стандартах на бумагу или картон влагопрочность Bo выражают средним арифметическим результатов определений требуемого показателя механической прочности влажных образцов в единицах, принятых для определяемого показателя, или определяют по формуле
![]()
где Во - относительная влагопрочность в %;
Пв - среднее арифметическое определений требуемого показателя механической прочности влажных образцов;
Пс - среднее арифметическое определений требуемого показателя механической прочности воздушно-сухих образцов.
Результат округляют до разряда, принятого для определяемого показателя в соответствующих стандартах на методы испытаний, или до первого десятичного знака.
Относительная погрешность результата определения механической прочности влажных образцов не должна превышать ±7 % при доверительной вероятности 0,95; относительная погрешность результата определения влагопрочности не должна превышать ±9 % при доверительной вероятности 0,95.
(Измененная редакция, Изм. № 1, 2).
1. РАЗРАБОТАН И ВНЕСЕН Министерством лесной, целлюлозно-бумажной и деревообрабатывающей промышленности СССР
РАЗРАБОТЧИКИ
А.И. Парфенова (руководитель темы), Г.Ф. Максимова
2. УТВЕРЖДЕН Комитетом стандартов, мер и измерительных приборов при Совете Министров Союза ССР от 07.05.68
3. Периодичность проверки - 5 лет
4 Стандарт полностью соответствует международному стандарту ИСО 3781-83
5. ССЫЛОЧНЫЕ НОРМАТИВНО-ТЕХНИЧЕСКИЕ ДОКУМЕНТЫ
|
Обозначение НТД, на который дана ссылка |
Номер пункта |
|
ГОСТ 8047-93 |
|
|
ГОСТ 13523-78 |
|
|
ГОСТ 13525.1-79 |
|
|
ТУ 13-7308001-758-88 |
6. Ограничение срока действия снято по протоколу № 2-92 Межгосударственного Совета по стандартизации, метрологии и сертификации (ИУС 2-93)
7. ПЕРЕИЗДАНИЕ (октябрь 1998 г.) с Изменениями № 1, 2, утвержденными в декабре 1981 г., марте 1988 г. (ИУС 3-82, 6-87)
СОДЕРЖАНИЕ