МЕЖГОСУДАРСТВЕННЫЙ СТАНДАРТ
|
ПОВЕРХНОСТИ ОПОРНЫЕ ПОД КРЕПЕЖНЫЕ ДЕТАЛИ |
ГОСТ Взамен |
|
Размеры |
|
|
Bearing surface under fasteners. Dimensions |
Утвержден Комитетом стандартов, мер и измерительных приборов при Совете Министров СССР 28 апреля 1967 г. Дата введения установлена
01.01.69
Ограничение срока действия снято Постановлением Госстандарта СССР от 14 апреля 1983 г. № 1790
Издание 2006 г. с Изменением № 4, утвержденным в апреле 1983 г. (ИУС 7-83).
1. Настоящий стандарт распространяется на опорные поверхности под крепежные детали с диаметром стержня от 1 до 48 мм, изготовляемые по государственным стандартам.
Стандарт полностью соответствует СТ СЭВ 213-82.
2. Размеры опорных поверхностей под шестигранные головки болтов и винтов, под шестигранные гайки с нормальным размером под ключ и под шайбы должны соответствовать указанным на черт. 1 и в табл. 1.

мм
|
Диаметр резьбы крепежной детали |
D (пред. откл. по Н15) |
D1 |
|
1,6 |
5 |
8 |
|
2 |
6 |
8 |
|
2,5 |
7,5 |
10 |
|
3 |
8 |
10 |
|
4 |
10 |
14 |
|
5 |
11 |
16 |
|
6 |
13,5 |
18 |
|
8 |
18 |
24 |
|
10 |
22 |
28 |
|
12 |
26 |
30 |
|
14 |
30 |
34 |
|
16 |
33 |
38 |
|
18 |
36 |
42 |
|
20 |
40 |
45 |
|
22 |
43 |
48 |
|
24 |
48 |
52 |
|
27 |
52 |
60 |
|
30 |
61 |
65 |
|
33 |
67 |
75 |
|
36 |
71 |
80 |
|
39 |
75 |
85 |
|
42 |
80 |
90 |
|
45 |
90 |
95 |
|
48 |
95 |
100 |
1, 2. (Измененная редакция, Изм. № 4).
2а. Размеры опорных поверхностей под шестигранные головки болтов и винтов и шестигранные гайки с уменьшенным размером под ключ и под уменьшенные шайбы должны соответствовать указанным на черт. 2 и в табл. 2.

мм
|
Диаметр резьбы крепежной детали |
D (пред. откл. по Н15) |
D1 |
|
1,6 |
5 |
8 |
|
2 |
6 |
8 |
|
2,5 |
7 |
10 |
|
3 |
8 |
10 |
|
4 |
10 |
14 |
|
5 |
12 |
16 |
|
6 |
13,5 |
18 |
|
8 |
18 |
20 |
|
10 |
20 |
24 |
|
12 |
24 |
28 |
|
14 |
26 |
30 |
|
16 |
30 |
34 |
|
18 |
32 |
38 |
|
20 |
36 |
42 |
|
22 |
40 |
45 |
|
24 |
42 |
48 |
|
27 |
48 |
52 |
|
30 |
55 |
60 |
|
33 |
60 |
65 |
|
36 |
65 |
70 |
|
39 |
71 |
75 |
|
42 |
75 |
80 |
|
45 |
85 |
90 |
|
48 |
90 |
100 |
2б. Размеры опорных поверхностей под увеличенные шайбы должны соответствовать указанным на черт. 3 и в табл. 3.

мм
|
Диаметр резьбы крепежной детали |
D (пред. откл. по Н15) |
D1 |
|
1,6 |
6 |
8 |
|
2 |
7 |
10 |
|
2,5 |
10 |
12 |
|
3 |
12 |
14 |
|
4 |
14 |
16 |
|
5 |
18 |
20 |
|
6 |
20 |
24 |
|
8 |
26 |
30 |
|
10 |
34 |
38 |
|
12 |
40 |
45 |
|
14 |
45 |
48 |
|
16 |
52 |
55 |
|
18 |
60 |
65 |
|
20 |
65 |
70 |
|
22 |
70 |
75 |
|
24 |
75 |
80 |
|
27 |
85 |
90 |
|
30 |
95 |
100 |
|
33 |
100 |
105 |
|
36 |
105 |
110 |
|
39 |
115 |
120 |
|
42 |
125 |
130 |
|
45 |
135 |
140 |
|
48 |
150 |
155 |
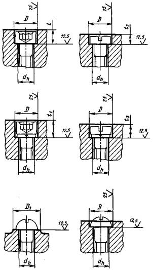
2в. Размеры опорных поверхностей под цилиндрические и полукруглые головки винтов со шлицем и под цилиндрические головки винтов с шестигранным углублением под ключ должны соответствовать указанным на черт. 4 и в табл. 4.

мм
|
Диаметр резьбы крепежной детали |
D (пред. откл. по Н14) |
D1 |
t (пред. откл. по Н14) |
t1 (пред. откл. по Н14) |
t2 (пред. откл. по Н14) |
t3 (пред. откл. по Н14) |
|
1 |
2,2 |
- |
- |
- |
0,8 |
- |
|
1,2 |
2,5 |
- |
- |
- |
0,9 |
- |
|
1,4 |
2,8 |
- |
- |
- |
1,0 |
- |
|
1,6 |
3,3 |
- |
- |
- |
1,2 |
- |
|
1,8 |
3,8 |
- |
- |
- |
1,5 |
- |
|
2,0 |
4,3 |
- |
- |
- |
1,6 |
2,2 |
|
2,5 |
5,0 |
- |
- |
- |
2,0 |
2,7 |
|
3 |
6,0 |
- |
3,4 |
4,3 |
2,4 |
3,3 |
|
3,5 |
6,5 |
- |
4,0 |
- |
2,9 |
3,8 |
|
4 |
8,0 |
12 |
4,6 |
5,5 |
3,2 |
4,5 |
|
5 |
10 |
15 |
5,7 |
7 |
4,0 |
5,5 |
|
6 |
11 |
18 |
6,8 |
8,5 |
4,7 |
6,5 |
|
8 |
15 |
20 |
9 |
11 |
6 |
8 |
|
10 |
18 |
24 |
11 |
13,5 |
7 |
9,5 |
|
12 |
20 |
26 |
13 |
16 |
8 |
11 |
|
14 |
24 |
30 |
15 |
18,5 |
9 |
12,5 |
|
16 |
26 |
34 |
17,5 |
21 |
10,5 |
14 |
|
18 |
30 |
36 |
19,5 |
23 |
11,5 |
15 |
|
20 |
34 |
40 |
21,5 |
25,5 |
12,5 |
16,5 |
|
22 |
36 |
- |
23,5 |
27,5 |
13,5 |
17,5 |
|
24 |
40 |
- |
25,5 |
30,5 |
14,5 |
19,5 |
|
27 |
45 |
- |
28,5 |
33,5 |
- |
- |
|
30 |
48 |
- |
32 |
38 |
- |
- |
|
33 |
53 |
- |
35 |
41 |
- |
- |
|
36 |
57 |
- |
38 |
44 |
- |
- |
|
39 |
60 |
- |
41 |
49 |
- |
- |
|
42 |
65 |
- |
44 |
52 |
- |
- |
|
45 |
71 |
- |
47 |
55 |
- |
- |
|
48 |
75 |
- |
50 |
59 |
- |
- |
Примечание. Размеры t1 и t3 даны для винтов с нормальными или легкими пружинными шайбами по ГОСТ 6402-70.
2г. Размеры опорных поверхностей под потайные и полупотайные головки винтов и шурупов и под шайбы стопорные с зубьями для винтов с потайной и полупотайной головкой должны соответствовать указанным на черт. 5 и в табл. 5.

мм
|
Диаметр резьбы крепежной детали |
D1 (пред. откл. по Н13) |
D2 (пред. откл. по Н12) |
D3 (пред. откл. по Н14) |
t (пред. откл. +0,1) |
|
1,0 |
2,4 |
2,0 |
- |
0,2 |
|
1,2 |
2,8 |
2,5 |
- |
0,2 |
|
1,4 |
3,2 |
2,8 |
- |
0,2 |
|
1,6 |
3,7 |
3,3 |
- |
0,2 |
|
2,0 |
4,6 |
4,3 |
- |
0,2 |
|
2,5 |
5,7 |
5 |
- |
0,3 |
|
3,0 |
6,6 |
6 |
7 |
0,3 |
|
3,5 |
7,6 |
7 |
- |
0,3 |
|
4,0 |
8,6 |
8 |
9 |
0,3 |
|
5 |
10,4 |
10 |
11,5 |
0,3 |
|
6 |
12,4 |
11,5 |
14,5 |
0,4 |
|
8 |
16,4 |
15 |
18,5 |
0,7 |
|
10 |
20,4 |
19 |
22 |
0,7 |
|
12 |
24,4 |
23 |
26 |
1,0 |
|
14 |
28,4 |
26 |
- |
1,0 |
|
16 |
32,4 |
30 |
- |
1,2 |
|
18 |
36,4 |
34 |
- |
1,2 |
|
20 |
40,4 |
37 |
- |
1,7 |
2д. Размеры опорных поверхностей под заклепки с потайной и полупотайной головкой должны соответствовать указанным на черт. 6 и в табл. 6.

мм
|
Диаметр стержня заклепки |
D (пред. откл. по Н14) |
α (пред. откл. -2°) |
D1 (пред. откл. по Н14) |
α1 (пред. откл. -2°) |
|
1 |
1,7 |
90° |
- |
- |
|
1,2 |
2,1 |
- |
- |
|
|
1,4 |
2,5 |
- |
- |
|
|
1,6 |
2,7 |
6 |
- |
|
|
2 |
3,6 |
|
120° |
|
|
2,5 |
4,2 |
7 |
||
|
3 |
4,8 |
8 |
||
|
3,5 |
5,6 |
9,5 |
||
|
4 |
6,4 |
10,5 |
||
|
5 |
8,2 |
13 |
||
|
6 |
9,7 |
11 |
90° |
|
|
8 |
13,3 |
15 |
||
|
10 |
16,4 |
75° |
17 |
75° |
|
12 |
19,4 |
20 |
||
|
14 |
23 |
24 |
||
|
16 |
23 |
60° |
24 |
60° |
|
17 |
26 |
27 |
||
|
20 |
29 |
30 |
||
|
22 |
32 |
33 |
||
|
24 |
35 |
36 |
||
|
27 |
36 |
45° |
37 |
45° |
|
30 |
40 |
41 |
||
|
36 |
48 |
49 |
2а, 2б, 2в, 2г, 2д. (Введены дополнительно, Изм, № 4).
3. Обработка опорных поверхностей по черт. 1 - 3 производится в технически обоснованных случаях.
Размер t устанавливается конструктором. При глубине t, превышающей 1/3 высоты головки болта (гайки), размеры D следует брать по ГОСТ 13682-80.
4. Между опорной и цилиндрической поверхностями допускается радиус закругления не более 0,3 мм.
У опорных поверхностей под шестигранные головки болтов без шайб и под цилиндрические и полукруглые головки винтов без шайб между опорной плоскостью и сквозным отверстием должна быть фаска 0,5×45° для крепежных деталей диаметром резьбы от 12 до 20 мм и 1×45° - для деталей диаметром резьбы свыше 20 мм.
3,4. (Измененная редакция, Изм. № 4).
5. (Исключен, Изм. № 4).
6. Диаметры сквозных отверстий dh - по ГОСТ 11284-75. Для опорных поверхностей под цилиндрические головки винтов сквозные отверстия по 3-му ряду ГОСТ 11284-75 не рекомендуются.
(Измененная редакция, Изм. № 4).
7. (Исключен, Изм. № 4).
8. Для опорных поверхностей по черт. 4 при проектировании соединения допускается увеличивать размеры t, t1, t2, t3. В случае применения 1-го ряда сквозных отверстий по ГОСТ 11284-75 для уменьшения зазора между головкой винта и цилиндрической поверхностью диаметром D допускается уменьшать диаметр D.
(Измененная редакция, Изм. № 4).
9. (Исключен, Изм. № 4).