МЕЖГОСУДАРСТВЕННЫЙ СТАНДАРТ
|
ОПОРЫ РЕГУЛИРУЕМЫЕ С ШАРОВОЙ ГОЛОВКОЙ Конструкция Adjustable stays with ball headed. Design |
ГОСТ 12481-67 |
Дата введения 01.07.67
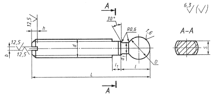
1. Конструкция и размеры регулируемых опор с шаровой головкой должны соответствовать чертежу и таблице.

Размеры, мм
|
Обозначения опор |
Применяемость |
d |
L |
D по h11 |
d 1 |
l |
l1 |
S h13 |
d |
h |
Масса, кг |
|
7035-0151 |
|
М6 |
40 |
8 |
4 |
10 |
4 |
4,0 |
1,0 |
2,0 |
0,009 |
|
7035-0152 |
|
50 |
0,011 |
||||||||
|
7035-0153 |
|
60 |
0,013 |
||||||||
|
7035-0154 |
|
М8 |
50 |
10 |
6 |
14 |
5,5 |
1,2 |
2,5 |
0,018 |
|
|
7035-0155 |
|
60 |
0,022 |
||||||||
|
7035-0156 |
|
80 |
0,034 |
||||||||
|
7035-0157 |
|
М10 |
60 |
12 |
7 |
16 |
6 |
8,0 |
1,6 |
3,0 |
0,034 |
|
7035-0158 |
|
80 |
0,046 |
||||||||
|
7035-0159 |
|
100 |
0,058 |
||||||||
|
7035-0160 |
|
М12 |
80 |
16 |
9 |
20 |
6 |
10,0 |
2,0 |
3,5 |
0,110 |
|
7035-0161 |
|
100 |
0,143 |
||||||||
|
7035-0162 |
|
125 |
0,182 |
||||||||
|
7035-0163 |
|
М16 |
100 |
20 |
12 |
22 |
14,0 |
0,140 |
|||
|
7035-0164 |
|
125 |
0,287 |
||||||||
|
7035-0165 |
|
160 |
0,373 |
Пример условного обозначения регулируемой опоры с шаровой головкой размерами d = М6; L = 40 мм:
Опора 7035-0151 ГОСТ 12481-67
(Измененная редакция, Изм. № 1, 2).
2. Материал - сталь марки 45 по ГОСТ 1050. Допускается замена на стали других марок с механическими свойствами не ниже, чем у стали марки 45.
3. Твердость головки - 41,5 ... 46,5 HRCэ.
4. Неуказанные предельные
отклонения размеров: Н14, h14, ± ![]()
5. Резьба метрическая - по ГОСТ 24705. Поле допуска резьбы - 6g по ГОСТ 16093.
3-5. (Измененная редакция, Изм. № 2).
6. Размер фасок для резьбы - по ГОСТ 10549.
(Измененная редакция, Изм. № 1).
7. (Исключен, Изм. № 1).
8. Покрытие - Хим. Окс. прм (обозначение покрытия - по ГОСТ 9.306).
9. Маркировать партию деталей одного типоразмера на таре или упаковке с указанием условного обозначения.
8,9. (Измененная редакция, Изм. № 2).
11. Пример применения регулируемых опор указан в приложении.
(Введен дополнительно, Изм. № 2).

ИНФОРМАЦИОННЫЕ ДАННЫЕ
1. РАЗРАБОТАН И ВНЕСЕН Министерством тяжелого, энергетического и транспортного машиностроения СССР
Министерством станкостроительной и инструментальной промышленности СССР
РАЗРАБОТЧИКИ
В.В. Андреев; В.Н. Дзегиленок, канд. техн. наук; В.А. Петрова; К.И. Сокольский; А.З. Старосельский (руководитель темы); А.В. Хренова; Т.А. Шестакова
2. УТВЕРЖДЕН И ВВЕДЕН В ДЕЙСТВИЕ Постановлением Комитета стандартов, мер и измерительных приборов при Совете Министров СССР от 03.03.67 № 57
3. Взамен МН 5420-64
4. ССЫЛОЧНЫЕ НОРМАТИВНО-ТЕХНИЧЕСКИЕ ДОКУМЕНТЫ
|
Обозначение НТД, на который дана ссылка |
Номер пункта |
|
8 2 6 5 5 |
5. Постановлением Госстандарта СССР от 17.03.88 № 569 снято ограничение срока действия
6. ПЕРЕИЗДАНИЕ (ноябрь 1999 г.) с Изменениями № 1, 2, утвержденными в июне 1980 г., марте 1988 г. (ИУС 9-80, 6-88)