
ГОСУДАРСТВЕННЫЙ СТАНДАРТ СОЮЗА ССР
ВИСКОЗИМЕТРЫ КАПИЛЛЯРНЫЕ
СТЕКЛЯННЫЕ
ТЕХНИЧЕСКИЕ УСЛОВИЯ
ГОСТ 10028-81
ГОСУДАРСТВЕННЫЙ КОМИТЕТ СССР ПО УПРАВЛЕНИЮ
КАЧЕСТВОМ ПРОДУКЦИИ И СТАНДАРТАМ
Москва
ГОСУДАРСТВЕННЫЙ СТАНДАРТ СОЮЗА ССР
|
ВИСКОЗИМЕТРЫ КАПИЛЛЯРНЫЕ СТЕКЛЯННЫЕ Технические условия Glass
capillary viscosimeters. |
ГОСТ |
Срок действия с 01.01.83
до 01.01.93
Настоящий стандарт распространяется на капиллярные стеклянные вискозиметры, предназначенные для определения кинематической вязкости жидкостей, изготовляемые для нужд народного хозяйства и экспорта.
Стандарт соответствует международному стандарту ИСО 3105-76 в части технических требований.
Коды ОКП указаны в справочном приложении.
1.1. Вискозиметры следует изготовлять типов:
ВПЖ-1, ВПЖ-2, ВПЖ-3, ВПЖ-4, ВПЖТ-1, ВПЖТ-2, ВПЖТ-3, ВПЖТ-4 - для определения вязкости прозрачных жидкостей;
ВПЖМ и ВПЖМТ - для определения вязкости малого количества прозрачной жидкости;
ВНЖ и ВНЖТ - для определения вязкости непрозрачных жидкостей.
1.2. Типы, основные параметры и размеры вискозиметров должны соответствовать указанным на черт. 1 - 6 и в табл. 1 - 6.
ВПЖ-1, ВПЖТ-1
* Размеры обеспечиваются инструментом.
Черт. 1
Таблица 1
мм
|
Диапазон измерения вязкости, мм2/с |
d |
D±0,2 |
D1±1,0 |
Объем измерительного резервуара V, см3 |
|||||
|
ВПЖ-1 |
ВПЖТ-1 |
||||||||
|
Номин. |
Пред. откл. |
Номин. |
Пред. откл. |
ВПЖ-1 |
ВПЖТ-1 |
||||
|
0,003 |
От 0,6 до 3 включ. |
0,34 |
± 0,02 |
0,34 |
± 0,007 |
2,50 |
7,0 |
1,5±0,2 |
1,5±0,08 |
|
0,01 |
От 2 до 10 включ. |
0,54 |
0,54 |
± 0,01 |
3±0,3 |
3,0±0,15 |
|||
|
0,03 |
От 6 до 30 включ. |
0,86 |
± 0,03 |
0,86 |
± 0,02 |
4,00 |
6,2±0,3 |
6,2±0,30 |
|
|
0,1 |
От 20 до 100 включ. |
1,16 |
1,16 |
||||||
|
0,3 |
От 60 до 300 включ. |
1,52 |
± 0,04 |
1,52 |
± 0,03 |
||||
|
1 |
От 200 до 1000 включ. |
2,10 |
- |
- |
- |
||||
|
3 |
От 600 до 3000 включ. |
2,75 |
- |
- |
|||||
|
10 |
От 2000 до 10000 включ. |
3,75 |
± 0,05 |
- |
- |
5,00 |
8,0 |
||
|
30 |
От 6000 до 30000 включ. |
5,10 |
- |
- |
5,50 |
||||
|
100 |
От 20000 до 100000 включ. |
6,85 |
± 0,06 |
- |
- |
6,85 |
|||
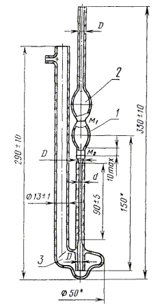
Вискозиметры типов ВПЖ-2 и ВПЖТ-2

* Размеры обеспечиваются инструментом.
1 - измерительный резервуар; 2, 3 - резервуары
Черт. 2
Таблица 2
мм
|
Номинальное значение постоянной К, мм2/с2 |
Диапазон измерения вязкости, мм2/с |
d |
D±0,2 |
Объем измерительного резервуара V, см3 |
||||
|
ВПЖ-2 |
ВПЖТ-2 |
|||||||
|
Номин. |
Пред. откл. |
Номин. |
Пред. откл. |
ВПЖ-2 |
ВПЖТ-2 |
|||
|
0,003 |
От 0,6 до 3 включ. |
0,34 |
± 0,02 |
0,34 |
± 0,007 |
3,0 |
1,5±0,2 |
1,5±0,08 |
|
0,005 |
От 1 до 5 включ. |
0,39 |
0,39 |
± 0,008 |
||||
|
0,01 |
От 2 до 10 включ. |
0,56 |
0,56 |
± 0,01 |
3,8±0,3 |
3,8±0,2 |
||
|
0,03 |
От 6 до 30 включ. |
0,73 |
0,73 |
|||||
|
0,1 |
От 20 до 100 включ. |
0,99 |
± 0,03 |
0,99 |
± 0,02 |
|||
|
0,3 |
От 60 до 300 включ. |
1,31 |
± 0,04 |
1,31 |
± 0,03 |
|||
|
1 |
От 200 до 1000 включ. |
1,77 |
1,77 |
|||||
|
3 |
От 600 до 3000 включ. |
2,37 |
- |
- |
4,0 |
- |
||
|
10 |
От 2000 до 10000 включ. |
3,35 |
± 0,05 |
- |
- |
|||
|
30 |
От 6000 до 30000 включ, |
4,66 |
- |
- |
5,0 |
|||
Вискозиметры типов ВПЖ-3 и ВПЖТ-3

* Размеры обеспечиваются инструментом.
1 - измерительный резервуар
Черт. 3
Таблица 3
мм
|
Номинальное значение постоянной К, мм2/с2 |
Диапазон измерения вязкости, мм2/с |
d |
D |
D1±0,5 |
Объем измерительного резервуара V, см3 |
||||
|
ВПЖ-3 |
ВПЖТ-3 |
||||||||
|
Номин. |
Пред. откл. |
Номин. |
Пред. откл. |
ВПЖ-3 |
ВПЖТ-3 |
||||
|
± 6,2 |
|||||||||
|
0,01 |
От 0,7 до 3,5 включ. |
0,38 |
± 0,02 |
0,38 |
± 0,008 |
1,5±0,1 |
7,5 |
1,0 |
1±0,05 |
|
0,017 |
От 1,2 до 6 включ. |
0,43 |
0,43 |
± 0,009 |
|||||
|
0,03 |
От 2 до 10 включ. |
0,49 |
0,49 |
± 0,010 |
|||||
|
0,05 |
От 3,5 до 17,5 включ. |
0,56 |
0,56 |
||||||
|
0,1 |
От 7 до 35 включ. |
0,80 |
- |
- |
2±0,1 |
2,1 |
- |
||
|
0,17 |
От 12 до 60 включ. |
0,92 |
- |
- |
|||||
|
0,3 |
От 21 до 105 включ. |
1,06 |
- |
- |
|||||
|
0,5 |
От 35 до 175 включ. |
1,20 |
- |
- |
|||||
|
1 |
От 70 до 350 включ. |
1,43 |
± 0,03 |
- |
- |
||||
|
1,7 |
От 120 до 600 включ. |
1,63 |
- |
- |
|||||
|
3 |
От 210 до 1050 включ. |
2,14 |
± 0,05 |
- |
- |
3±0,2 |
9,5 |
3,5 |
- |
|
5 |
От 350 до 1750 включ. |
2,44 |
- |
- |
|||||
|
10 |
От 700 до 3500 включ. |
2,91 |
- |
- |
4±0,2 |
||||
|
17 |
От 1200 до 6000 включ. |
3,34 |
- |
- |
|||||
|
30 |
От 2100 до 10500 включ. |
3,88 |
- |
- |
|||||
ВПЖ-4, ВПЖТ-4

* Размеры обеспечиваются инструментом.
Черт. 4
Таблица 4
мм
|
Номинальное значение постоянной К, мм2/с2 |
Диапазон измерения вязкости, мм2/с |
d |
D±0,2 |
Объем измерительного резервуара V, см3 |
||||
|
ВПЖ-4 |
ВПЖТ-4 |
|||||||
|
Номин. |
Пред. откл. |
Номин. |
Пред. откл. |
ВПЖ-4 |
ВПЖТ-4 |
|||
|
0,003 |
От 0,6 до 3 включ. |
0,37 |
± 0,02 |
0,37 |
± 0,008 |
2,5 |
1,5±0,2 |
1,5±0,08 |
|
0,005 |
От 1 до 5 включ. |
0,42 |
0,42 |
|||||
|
0,01 |
От 2 до 10 включ. |
0,62 |
0,62 |
± 0,01 |
3,8±0,3 |
3,8±0,20 |
||
|
0,03 |
От 6 до 30 включ. |
0,82 |
± 0,03 |
0,82 |
± 0,02 |
4,0 |
||
|
0,1 |
От 20 до 100 включ. |
1,12 |
1,12 |
|||||
|
0,3 |
От 60 до 300 включ. |
1,47 |
± 0,04 |
1,47 |
± 0,03 |
|||
|
1 |
От 200 до 1000 включ. |
2,00 |
- |
- |
- |
|||
|
3 |
От 600 до 3000 включ |
2,62 |
- |
- |
||||
|
10 |
От 2000 до 10000 включ. |
3,55 |
± 0,05 |
- |
- |
5,0 |
||
Вискозиметры типов ВПЖМ и ВПЖМТ

* Размеры обеспечиваются инструментом.
1 - измерительный резервуар
Черт. 5
Таблица 5
|
Номинальное значение К, мм2/с2 |
Диапазон измерения вязкости, мм2/с |
d |
Объем измерительного резервуара V, см3 |
|||
|
ВПЖМ |
ВПЖМТ |
|||||
|
Номин. |
Пред. откл. |
Номин. |
Пред. откл. |
|||
|
0,01 |
От 2 до 10 включ. |
0,39 |
± 0,02 |
0,39 |
± 0,008 |
(0,5 - 0,6)±0,03 |
|
0,03 |
От 6 до 30 включ. |
0,51 |
0,51 |
± 0,01 |
||
|
0,1 |
От 20 до 100 включ. |
0,69 |
0,69 |
|||
|
0,3 |
От 60 до 300 включ. |
0,91 |
± 0,03 |
0,91 |
± 0,02 |
|
|
1 |
От 200 до 1000 включ. |
1,23 |
1,23 |
|||
|
3 |
От 600 до 3000 включ. |
1,62 |
± 0,04 |
1,62 |
± 0,03 |
|
Вискозиметры типов ВНЖ и ВНЖТ
* Размеры обеспечиваются инструментом.
1 - измерительный резервуар; 2 - резервуары
Черт. 6
Таблица 6
мм
|
Диапазон измерения вязкости, мм2/с |
d |
D±0,2 |
Объем измерительного резервуара V, см3 |
|||||
|
ВНЖ |
ВНЖТ |
|||||||
|
Номин. |
Пред. откл. |
Номин. |
Пред. откл. |
ВНЖ |
ВНЖТ |
|||
|
0,003 |
От 0,6 до 3 включ. |
0,45 |
± 0,02 |
0,45 |
± 0,009 |
3,0 |
3±0,3 |
3±0,2 |
|
0,01 |
От 2 до 10 включ. |
0,61 |
0,61 |
± 0,01 |
||||
|
0,03 |
От 6 до 30 включ. |
0,80 |
0,80 |
|||||
|
0,1 |
От 20 до 100 включ. |
1,08 |
± 0,03 |
1,08 |
± 0,02 |
|||
|
0,3 |
От 60 до 300 включ. |
1,41 |
± 0,04 |
1,41 |
± 0,03 |
|||
|
1 |
От 200 до 1000 включ. |
1,91 |
- |
- |
- |
|||
|
3 |
От 600 до 3000 включ. |
2,52 |
- |
- |
4,0 |
|||
|
10 |
От 2000 до 10000 включ. |
3,42 |
± 0,05 |
- |
- |
|||
|
30 |
От 6000 до 30000 включ. |
4,50 |
- |
- |
5,0 |
|||
(Измененная редакция, Изм. № 1, 2).
1.3. Толщина стенок трубок вискозиметров должна быть не менее 1 мм.
Вискозиметры типов ВПЖ-2, ВПЖТ-2, ВПЖ-4, ВПЖТ-4, ВНЖ и ВНЖТ по требованию потребителей должны быть снабжены устройством, предохраняющим от конденсирования в приборе воды по ГОСТ 33-82.
По согласованию с потребителем вискозиметры типа ВПЖ-1 изготовляют с трубками, удлиненными на 100 мм.
Пример условного обозначения при заказе вискозиметра типа ВПЖ-1 с постоянной 0,003 мм2/с2 из стекла группы ХС3:
ВПЖ-1-0,003-ХС3 ГОСТ 10028-81
2.1. Вискозиметры следует изготовлять в соответствии с требованиями настоящего стандарта по рабочим чертежам, утвержденным в установленном порядке.
2.2. Вискозиметры следует изготовлять из химико-лабораторного стекла групп ХС3 и ТС по ГОСТ 21400-75. Допускается слабый цветной оттенок стекла.
2.3. Вискозиметры должны быть отожжены.
Разность хода, отнесенная к 1 см пути луча в стекле, не должна превышать 8 млн-1.
(Измененная редакция, Изм. № 2).
2.4. Вискозиметры должны быть термически стойкими и выдерживать перепад температур, °С:
от 70±2 до 20±1 - из стекла группы ХС3;
» 120±2 » 20±1 » » » ТС.
2.5. На поверхности и в толще стекла не допускают:
а) окалину, камни;
б) свиль, шлиры и узлы, сопровождаемые внутренним напряжением, не соответствующим разности хода лучей, указанной в п. 2.3;
в) пузыри, продавливаемые острием из материала одинаковой или меньшей, чем у стекла твердости; пузыри размером по наибольшему диаметру более 2 мм; более двух пузырей размером до 2 мм;
г) капилляры, продавливаемые острием из материала одинаковой или меньшей, чем у стекла твердости, более двух капилляров шириной более 0,3 мм (при изготовлении вискозиметров из стекла группы ХС3) и шириной более 0,5 мм (при изготовлении вискозиметров из стекла группы ТС);
д) мошка в сосредоточенном виде.
2.6. Конусы - по ГОСТ 8682-70. Керн насадки вискозиметров типов ВПЖ-3 и ВПЖТ-3 должен быть ровно обрезан и зашлифован.
2.7. Концы трубок вискозиметров должны быть ровно обрезаны, оплавлены или зашлифованы.
2.8. Отметки М, указанные на чертежах, должны быть нанесены по всей окружности перпендикулярно к оси трубки без видимых разрывов. Отметки должны быть окрашены несмываемой кислотами и растворителями краской, изготовленной по нормативно-технической документации, утвержденной в установленном порядке.
2.9. У вискозиметров типов ВПЖ-2, ВПЖТ-2, ВПЖ-4 и ВПЖТ-4 при положении уровня жидкости в измерительном резервуаре в середине между отметками М1 и М2 уровень жидкости в резервуаре 3 должен соответствовать самому широкому месту резервуара. Объем жидкости устанавливают в зависимости от размеров резервуара 2.
2.11. Значение постоянной К устанавливает предприятие-изготовитель и указывает в паспорте вискозиметра.
Допускаемая погрешность определения постоянных у вискозиметров типов ВПЖ-3, ВПЖТ-3, ВПЖ-4, ВПЖТ-4, ВНЖ и ВНЖТ должна быть ±0,3 %. Для вискозиметров остальных типов погрешность определения постоянных не должна превышать, %:
±0,2 - при номинальных значениях постоянных 0,03; 0,1; 0,3; 1,0 мм2/с2;
±0,3 - при номинальных значениях постоянных 0,003; 0,005; 0,01; 3,0; 10,0; 30,0 и 100,0 мм2/с2.
(Измененная редакция, Изм. № 2).
2.12. Отклонение установленного значения постоянной вискозиметра не должно превышать 25 % от номинального для вискозиметров типов ВПЖ, ВПЖМ, ВНЖ и 15 % - для вискозиметров типов ВПЖТ, ВПЖМТ, ВНЖТ.
(Введен дополнительно, Изм. № 2).
3.1. Для проверки вискозиметров на соответствие требованиям настоящего стандарта предприятие-изготовитель должно проводить государственные приемосдаточные и периодические испытания.
3.2. Государственные испытания - по ГОСТ 8.001-80 и ГОСТ 8.383-80.
3.1, 3.2. (Измененная редакция, Изм. № 1).
3.3. При приемосдаточных испытаниях каждый вискозиметр следует проверять на соответствие требованиям пп. 1.1 - 1.3; 2.5 а, в, г, д; 2.6; 2.8 10 % вискозиметров от партии - на соответствие требованиям пп. 2.3; 2.5 б; 2.9 - 2.11.
Результаты выборочной проверки распространяют на всю партию.
Партией считают число вискозиметров одного типа, предъявленных к приемке по одному документу.
3.4. При периодических испытаниях, проводимых предприятием-изготовителем раз в год, следует проверять 5 % от партии, но не менее пяти вискозиметров одного типа, на соответствие всем требованиям настоящего стандарта.
При неудовлетворительных результатах испытаний хотя бы по одному показателю следует провести повторные испытания удвоенного числа вискозиметров, взятых от той же партии.
Результаты повторных испытаний считают окончательными.
4.1. Размеры вискозиметров (пп. 1.2 и 1.3), размеры дефектов стекла (п. 2.5 в, г) следует проверять универсальным измерительным инструментом по ГОСТ 166-89 и ГОСТ 427-75, микроскопом по ГОСТ 8074-82, пипетками по ГОСТ 20292-74.
4.2. Качество отжига стекла (п. 2.3) следует проверять по ГОСТ 7329-74.
4.3. Термическую стойкость (п. 2.4) следует проверять по ГОСТ 25535-82 по методу Б при однократном охлаждении. Погружение в холодную воду - до половины высоты вискозиметра.
(Измененная редакция, Изм. № 2).
4.4. Дефекты стекла и исполнения (пп. 2.5 а, д, 2.6, 2.7, 2.8) следует проверять визуально.
4.5. Конусы (п. 2.6) следует проверять по ГОСТ 8682-79.
4.6. Устойчивость отметок (п. 2.8) проверяют воздействием:
концентрированной серной кислоты - 5 ч;
хромовой смеси - 24 ч;
дистиллированной воды - 2 ч.
После испытаний надписи исчезать не должны.
4.7. Соответствие требованиям (пп. 2.9 и 2.10) следует проверять опробованием.
4.8. Постоянную вискозиметра (п. 2.11) необходимо определять в соответствии с требованиями МИ 1748-87.
5.1. На каждом вискозиметре должны быть нанесены:
товарный знак предприятия-изготовителя (допускается наносить на первичной упаковке);
внутренний диаметр капилляра;
тип вискозиметра (допускается наносить на первичной упаковке);
год и квартал изготовления;
порядковый номер вискозиметра по системе нумерации предприятия-изготовителя;
группа стекла.
Маркировка вискозиметров, предназначенных для экспорта, должна соответствовать требованиям ГОСТ 1.22-85 и заказ-наряда внешнеторговой организации.
5.2. К каждому вискозиметру должен быть приложен паспорт по ГОСТ 2.601-68, на котором должно быть нанесено обозначение государственного Знака качества, если он присвоен вискозиметру.
5.3. Каждый вискозиметр должен быть уложен в отдельную коробку из картона по ГОСТ 7933-89 с перегородками по форме вискозиметра. В местах соприкасания стекла с перегородкой должна быть прикреплена мягкая прокладка из амортизационного материала.
Допускается каждый вискозиметр, завернутый в бумагу по ГОСТ 8273-75, укладывать в отдельную коробку из картона по ГОСТ 7933-89 с прокладкой ваты по ГОСТ 5679-85.
На коробке должна быть наклейка, на которую наносят:
товарный знак предприятия-изготовителя;
товарный знак предприятия-изготовителя или товарный знак внешнеторговой организации, зарегистрированный за границей в установленном порядке для вискозиметров, предназначенных для экспорта;
наименование и условное обозначение изделия;
обозначение настоящего стандарта;
изображение государственного Знака качества, если он присвоен вискозиметру.
Надписи на наклейках коробок с вискозиметрами, предназначенными для экспорта, должны соответствовать заказ-наряду внешнеторговой организации.
5.4. Коробки с вискозиметрами упаковывают с прокладкой стружки марки II по ГОСТ 5244-79 в деревянные ящики типов I, II-1, II-2, III-1 по ГОСТ 2991-85, ГОСТ 5959-80, ГОСТ 15841-88, ГОСТ 16536-90 и ГОСТ 16511-86.
Упаковка должна обеспечивать сохранность вискозиметров при транспортировании транспортом любого вида, а также при штабелировании на высоту 3,3 м.
При транспортировании контейнером допускается другой вид тары, обеспечивающий сохранность вискозиметров.
Транспортная тара для экспортных поставок должна соответствовать ГОСТ 24634-81 и документации предприятия-изготовителя. Стружка должна быть изготовлена из древесины хвойных пород по ГОСТ 24454-80 или лиственных пород по ГОСТ 2695-83.
5.5. Коробки с вискозиметрами, поставляемыми в страны с тропическим климатом, должны быть упакованы с прокладкой стружки влажностью не более 15 % в мешок из полиэтиленовой пленки толщиной 0,2 мм по ГОСТ 10354-82. Допускается использовать другие пленочные материалы, обеспечивающие сохранность вискозиметров.
Мешок должен быть хорошо расправлен и герметично сварен.
5.6. Масса ящика с упакованными вискозиметрами не должна превышать 50 кг.
Укрупнение грузовых мест в транспортные пакеты - по правилам перевозки грузов, утвержденным соответствующими ведомствами.
5.7. Транспортная маркировка грузовых мест - по ГОСТ 14192-77.
На каждом ящике должны быть нанесены несмываемой краской манипуляционные знаки, соответствующие надписям: «Осторожно, хрупкое», «Верх, не кантовать».
Транспортная маркировка грузовых мест для экспорта должна соответствовать требованиям ГОСТ 24634-81, ГОСТ 14192-77 и заказ-наряду внешнеторговой организации.
5.8. В каждый ящик должна быть вложена товаросопроводительная документация с указанием:
товарного знака предприятия-изготовителя;
наименования и условного обозначения изделия;
числа вискозиметров;
обозначения настоящего стандарта;
даты изготовления.
Товаросопроводительная документация должна быть завернута в оберточную бумагу марки А по ГОСТ 8273-75, вложена в пакет из полиэтиленовой пленки по ГОСТ 10354-82, а для вискозиметров, предназначенных в страны с тропическим климатом, - в два пакета с последующим упаковыванием в водонепроницаемую бумагу по ГОСТ 8828-89. Швы пакета из полиэтиленовой пленки должны быть герметично сварены.
Края водонепроницаемой бумаги должны быть склеены синтетическим клеем. Допускается применять поливинилхлоридную и полихлорвиниловую пленки по ГОСТ 16272-79.
5.10. Упаковочный лист, завернутый в водонепроницаемую бумагу по ГОСТ 8828-89, должен быть уложен в пакет из полиэтиленовой пленки по ГОСТ 10354-82 с заваренными швами и помещен в карман ящика.
При упаковывании партии вискозиметров в несколько ящиков карман укрепляют на ящике № 1.
5.11. Транспортируют вискозиметры закрытым транспортом любого вида в соответствии с правилами, действующими на каждом виде транспорта.
5.12. Условия транспортирования и хранения вискозиметров в нераспакованном виде - 6 по ГОСТ 15150-69.
Справочное
|
Обозначение вискозиметра |
Код ОКП |
Обозначение вискозиметра |
Код ОКП |
|
ВПЖ-1-0,003-ХСЗ |
43 2112 0111 09 |
ВПЖ-4-0,01-ХСЗ |
43 2112 0412 10 |
|
ВПЖ-1-0,01-ХСЗ |
43 2112 0112 08 |
ВПЖ-4-0,03-ХСЗ |
43 2112 0413 09 |
|
ВПЖ-1-0,03-ХСЗ |
43 2112 0113 07 |
ВПЖ-4-0,1-ХСЗ |
43 2112 0414 08 |
|
ВПЖ-1-0,1-ХСЗ |
43 2112 0114 06 |
ВПЖ-4-0,3-ХСЗ |
43 2112 0415 07 |
|
ВПЖ-1-0,3-ХСЗ |
43 2112 0115 05 |
ВПЖ-4-1-ХСЗ |
43 2112 0416 06 |
|
ВПЖ-1-1-ХСЗ |
43 2112 0116 04 |
ВПЖ-4-3-ХСЗ |
43 2112 0417 05 |
|
ВПЖ-1-3-ХСЗ |
43 2112 0117 03 |
ВПЖ-4-10-ХСЗ |
43 2112 0418 04 |
|
ВПЖ-1-10-ХСЗ |
43 2112 0118 02 |
ВПЖМ-0,01-ХСЗ |
43 2112 0511 08 |
|
ВПЖ-1-30-ХСЗ |
43 2112 0119 01 |
впжм-0,03-хсз |
43 2112 0512 07 |
|
ВПЖ-1-100-ХСЗ |
43 2112 0120 08 |
ВПЖМ-0,1-ХСЗ |
43 2112 0513 06 |
|
ВПЖ-2-0,003-ХСЗ |
43 2112 0211 06 |
впжм-0,3-хсз |
43 2112 0514 05 |
|
ВПЖ-2-0,005-ХСЗ |
43 2112 0220 05 |
ВПЖМ-1-ХСЗ |
43 2112 0515 04 |
|
ВПЖ-2-0,01-ХСЗ |
43 2112 0212 05 |
впжм-3-хсз |
43 2112 0516 03 |
|
ВПЖ-2-0,03-ХСЗ |
43 2112 0213 04 |
ВНЖ-0,003-ХСЗ |
43 2112 0611 05 |
|
ВПЖ-2-0,1-ХСЗ |
43 2112 0214 03 |
ВНЖ-0,01-ХСЗ |
43 2112 0612 04 |
|
ВПЖ-2-0,3-ХСЗ |
43 2112 0215 02 |
внж-0,03-хсз |
43 2112 0613 03 |
|
ВПЖ-2-1-ХСЗ |
43 2112 0216 01 |
ВНЖ-0,1-ХСЗ |
43 2112 0614 02 |
|
ВПЖ-2-3-ХСЗ |
43 2112 0217 00 |
ВНЖ-0,3-ХСЗ |
43 2112 0615 01 |
|
ВПЖ-2-10-ХСЗ |
43 2112 0218 10 |
ВНЖ-1-ХСЗ |
43 2112 0616 00 |
|
ВПЖ-2-30-ХСЗ |
43 2112 0219 09 |
ВНЖ-3-ХСЗ |
43 2112 0617 10 |
|
ВПЖ-3-0,01-ХСЗ |
43 2112 0316 09 |
внж-10-хсз |
43 2112 0618 09 |
|
ВПЖ-3-0,017-ХСЗ |
43 2112 0311 03 |
внж-30-хсз |
43 2112 0619 08 |
|
впж-3-0,03-хсз |
43 2112 0317 08 |
ВПЖТ-1-0,003-хсз |
43 2112 0711 02 |
|
ВПЖ-3-0,05-ХСЗ |
43 2112 0312 02 |
ВПЖТ-1-0,01-ХСЗ |
43 2112 0712 01 |
|
ВПЖ-3-0,1-ХСЗ |
43 2112 0318 07 |
ВПЖТ-1-0,03-ХСЗ |
43 2112 0713 00 |
|
ВПЖ-3-0,17-ХСЗ |
43 2112 0313 01 |
ВПЖТ-1-0,1-ХСЗ |
43 2112 0714 10 |
|
впж-3-0,3-хсз |
43 2112 0319 06 |
ВПЖТ-1-0,3-ХСЗ |
43 2112 0715 09 |
|
ВПЖ-3-0,5-ХСЗ |
43 2112 0314 00 |
ВПЖТ-2-0,003-хсз |
43 2112 0811 10 |
|
ВПЖ-3-1-ХСЗ |
43 2112 0320 02 |
ВПЖТ-2-0,005-хсз |
43 2112 0812 09 |
|
ВПЖ-3-1,7-ХСЗ |
43 2112 0315 10 |
ВПЖТ-2-0,01-ХСЗ |
43 2112 0813 08 |
|
ВПЖ-3-3-ХСЗ |
43 2112 0321 01 |
ВПЖТ-2-0,03-ХСЗ ВПЖТ-2-0,1-ХСЗ |
43 2112 0814 07 43 2112 0815 06 |
|
ВПЖ-3-5-ХСЗ |
43 2112 0322 00 |
||
|
ВПЖ-3-10-ХСЗ |
43 2112 0323 10 |
ВПЖТ-2-0,3-ХСЗ |
43 2112 0816 05 |
|
ВПЖ-3-17-ХСЗ |
43 2112 0324 09 |
ВПЖТ-2-1-ХСЗ |
43 2112 0817 04 |
|
ВПЖ-3-30-ХСЗ |
43 2112 0325 08 |
ВПЖТ-4-0,3-ХСЗ |
43 2112 1008 03 |
|
ВПЖ-4-0,003-ХСЗ |
43 2112 0411 00 |
ВПЖМТ-0,01-ХСЗ |
43 2112 1111 05 |
|
ВПЖ-4-0,005-ХСЗ |
43 2112 0419 03 |
впжмт-0,03-хсз |
43 2112 1112 04 |
|
ВПЖТ-3-0,01-ХСЗ |
43 2112 0911 07 |
ВПЖМТ-0,1-ХСЗ |
43 2112 1113 03 |
|
ВПЖТ-3-0,017-ХСЗ |
43 2112 0912 06 |
ВПЖМТ-0,3-ХСЗ |
43 2112 1114 02 |
|
впжт-3-0,03-хсз |
43 2112 0913 05 |
ВПЖМТ-1-ХСЗ |
43 2112 1115 01 |
|
ВПЖТ-3-0,05-ХСЗ |
43 2112 0914 04 |
впжмт-3-хсз |
43 2112 1116 00 |
|
ВПЖТ-4-0,003-хсз |
43 2112 1003 08 |
ВНЖТ-0,003-ХСЗ |
43 2112 1211 02 |
|
ВПЖТ-4-0,005-хсз |
43 2112 1004 07 |
ВНЖТ-0,01-ХСЗ |
43 2112 1212 01 |
|
ВПЖТ-4-0,03-ХСЗ |
43 2112 1006 05 |
внжт-0,03-хсз |
43 2112 1213 00 |
|
ВПЖТ-4-0,1-ХСЗ |
43 2112 1007 04 |
ВНЖТ-0,1-ХСЗ |
43 2112 1214 10 |
|
|
|
ВНЖТ-0,3-ХСЗ |
43 2112 1215 09 |
ИНФОРМАЦИОННЫЕ ДАННЫЕ
1. РАЗРАБОТАН И ВНЕСЕН Министерством приборостроения, средств автоматизации и систем управления Государственным комитетом СССР по стандартам
РАЗРАБОТЧИКИ
Л.Ф. Маркина (руководитель темы), Л.К. Захаров, А.С. Прокудина, В.Ф. Климова
2. УТВЕРЖДЕН И ВВЕДЕН В ДЕЙСТВИЕ Постановлением Государственного комитета СССР по стандартам от 19.05.81 № 2461
3. СРОК ПРОВЕРКИ - 1990 г., периодичность проверки - 5 лет
4. ВЗАМЕН ГОСТ 10028-67
5. ССЫЛОЧНЫЕ НОРМАТИВНО-ТЕХНИЧЕСКИЕ ДОКУМЕНТЫ
|
Обозначение НТД, на который дана ссылка |
Номер пункта |
Обозначение НТД, на который дана ссылка |
Номер пункта |
|
ГОСТ 1.22-85 |
3.5; 5.9 |
||
|
ГОСТ 2.601-68 |
ГОСТ 8682-70 |
||
|
ГОСТ 8.001-80 |
|||
|
ГОСТ 8.383-80 |
|||
|
ГОСТ 33-82 |
ГОСТ 14192-77 |
||
|
ГОСТ 15841-88 |
|||
|
ГОСТ 16272-79 |
|||
|
ГОСТ 16511-86 |
|||
|
ГОСТ 5244-79 |
ГОСТ 16536-90 |
||
|
ГОСТ 5679-85 |
ГОСТ 20292-74 |
||
|
ГОСТ 5959-80 |
ГОСТ 21400-75 |
||
|
ГОСТ 7329-74 |
|||
|
ГОСТ 7933-89 |
|||
|
ГОСТ 8074-82 |
6. Переиздание (март 1991 г.) с Изменениями № 1, 2, утвержденными в июле 1983 г., июне 1987 г. (ИУС 10-83, 9-87)
7. Проверен в 1987 г. Срок действия продлен до 01.01.93 (Постановление Государственного комитета СССР по стандартам от 12.06.87 № 2019)
СОДЕРЖАНИЕ