российское акционерное общество
ЭНЕРГЕТИКИ И ЭЛЕКТРИФИКАЦИИ «ЕЭС РОССИИ»
РД 153-34.0-20.523-98
Часть I
Методические указания по составлению
режимных характеристик систем теплоснабжения
и гидравлической энергетической характеристики
тепловой сети
СЛУЖБА ПЕРЕДОВОГО ОПЫТА ОРГРЭС
Москва
1999
Разработано Открытым акционерным обществом «Фирма по наладке, совершенствованию технологии и эксплуатации электростанций и сетей ОРГРЭС»
Исполнитель Я.И. КАПЛИНСКИЙ
Утверждено Департаментом стратегии развития и научно-технической политики РАО «ЕЭС России» 06.07.98 г.
Первый заместитель начальника А.П. БЕРСЕНЕВ
|
МЕТОДИЧЕСКИЕ УКАЗАНИЯ Часть I |
РД 153-34.0-20.523-98 Введено впервые |
Вводится в
действие
с 01.05.99 г.
Настоящие Методические указания устанавливают способы и последовательность составления энергетических характеристик для систем транспорта тепловой энергии - тепловых сетей.
Методические указания предназначены для организаций системы РАО «ЕЭС России», эксплуатирующих тепловые сети (предприятий тепловых сетей и цехов электростанций).
Энергетические характеристики разрабатываются для систем теплоснабжения с расчетной тепловой нагрузкой 100 Гкал/ч и более, источниками тепловой энергии для которых служат тепловые электростанции и районные котельные.
Настоящие Методические указания состоят из трех частей:
Часть I. Методические указания по составлению режимных характеристик систем теплоснабжения и гидравлической энергетической характеристики тепловой сети.
Часть II. Методические указания по составлению энергетической характеристики водяных тепловых сетей по показателю «тепловые потери».
Часть III. Методические указания по составлению энергетической характеристики по показателю «потери сетевой воды».
В данной книге представлена часть I.
1. Согласно п. 1.4.3 [1] в системах транспорта тепловой энергии - тепловых сетях режимные и энергетические характеристики должны составляться по таким показателям, как:
тепловые потери;
удельный расход электроэнергии на транспорт тепловой энергии;
удельный среднечасовой расход сетевой воды;
разность температур воды в подающем и обратном трубопроводах или температура сетевой воды в обратном трубопроводе;
утечки (потери) сетевой воды.
2. Энергетические характеристики тепловых сетей составляются по таким показателям, как:
тепловые потери (тепловая энергетическая характеристика);
удельный расход электроэнергии на транспорт тепловой энергии (гидравлическая энергетическая характеристика).
3. Режимные характеристики тепловых сетей (систем теплоснабжения в целом) составляются по таким показателям, как:
среднечасовой расход сетевой воды в подающем трубопроводе (в подающей линии) системы теплоснабжения, отнесенный к единице отпущенной тепловой энергии (удельный расход сетевой воды);
разность температур сетевой воды в подающем и обратном трубопроводах (в подающей и обратной линиях) системы теплоснабжения или температура сетевой воды в обратном трубопроводе (в обратной линии) системы теплоснабжения (при заданной температуре сетевой воды в подающей линии).
4. Режимные и энергетические характеристики тепловых сетей предназначены для анализа состояния оборудования тепловых сетей и режимов работы систем теплоснабжения, а также для оценки эффективности мероприятий, проводимых организациями, эксплуатирующими тепловые сети (далее ОЭТС), в целях повышения уровня эксплуатации систем теплоснабжения.
5. Режимные характеристики определяются для системы теплоснабжения в целом; энергетические характеристики определяются для тепловой сети, принадлежащей энергоснабжающей организации. При обосновании допускается определять эти характеристики для отдельных тупиковых магистралей тепловой сети, присоединенных к коллекторам источника тепловой энергии.
6. Режимные и энергетические характеристики позволяют определить нормируемые показатели работы системы теплоснабжения за прошедший отчетный период.
Нормируемое значение каждого из показателей определяется на основании режимов работы системы теплоснабжения, соответствующих принятому графику центрального регулирования отпуска тепловой энергии в ней (графику температур сетевой воды в подающей линии) и расчетным значениям давлений сетевой воды в трубопроводах на выводах источников тепловой энергии.
Нормируемые значения показателей режима системы теплоснабжения определяются при фактических значениях температуры наружного воздуха с учетом фактических значений температуры сетевой воды в подающей линии, имевших место на протяжении прошедшего отчетного периода.
Фактические значения показателей режима системы теплоснабжения определяются на основании показаний контрольно-измерительных приборов источников тепловой энергии и насосных станций за прошедший отчетный период, с помощью которых находятся температура и расход сетевой воды на источниках тепловой энергии и расход электроэнергии на насосных станциях.
Уровень эксплуатации систем теплоснабжения и оборудования тепловой сети определяется сопоставлением соответствующих фактических показателей их работы с нормируемыми за отчетный период.
7. Термины и определения, примененные в части I Методических указаний приведены в приложении 1.
1.1.1. Режимные характеристики системы теплоснабжения представляют собой зависимости удельного расхода сетевой воды в ее подающей линии, разности температур сетевой воды в подающей и обратной линиях и температуры сетевой воды в обратной линии от температуры наружного воздуха.
Режимные характеристики системы теплоснабжения определяются на выводах трубопроводов сетевой воды от источников тепловой энергии и соответствуют указанным зависимостям, усредненным по всем источникам тепловой энергии в системе теплоснабжения.
Режимные характеристики системы теплоснабжения изображаются в виде нормативных графиков изменения указанных величин на протяжении отопительного сезона.
1.1.2. Режимные характеристики системы теплоснабжения определяются на основе нормативного режима совокупности потребителей с учетом потерь тепловой энергии в тепловой сети, соединяющей источники тепловой энергии с потребителями, т.е. на основе нормативного режима системы теплоснабжения.
1.1.3. Нормативный режим совокупности потребителей определяется нормативными значениями усредненных температур сетевой воды в подающем и обратном трубопроводах, суммарных расходов сетевой воды в этих трубопроводах и суммарного потребления тепловой энергии на границе между концевыми участками тепловой сети и совокупностью потребителей. Эти величины изображаются в виде нормативных графиков, отражающих их зависимость от температуры наружного воздуха на протяжении отопительного сезона.
1.1.4. Нормативный режим системы теплоснабжения, представляющий собой суммарные расходы и усредненные температуры сетевой воды в подающих и обратных трубопроводах на выводах всех источников тепловой энергии, а также суммарный отпуск этой энергии от них, изображается соответствующими нормативными графиками в зависимости от температуры наружного воздуха.
1.2.1. Основой для определения нормативных значений режимных характеристик системы теплоснабжения являются договоры на теплоснабжение (далее - договоры), заключаемые энергоснабжающей организацией с абонентами, и режим отпуска от принадлежащих ей источников тепловой энергии.
1.2.2. Приводимые в каждом договоре данные, характеризующие нагрузку систем теплопотребления, должны включать в себя:
расчетное теплопотребление за 1 ч (присоединенную расчетную тепловую нагрузку) систем отопления, вентиляции и кондиционирования воздуха при расчетной температуре наружного воздуха для отопления;
среднечасовое за неделю теплопотребление систем горячего водоснабжения с указанием расхода тепловой энергии на циркуляцию воды в системах горячего водоснабжения.
Кроме того, должны быть известны схемы присоединения, расчетные параметры систем теплопотребления и принципиальные основы их автоматизации.
1.2.3. В состав данных по режиму отпуска тепловой энергии от каждого ее источника должны входить:
утвержденный энергоснабжающей организацией график нормативной температуры сетевой воды в подающих трубопроводах источников тепловой энергии, по которому в зависимости от температуры наружного воздуха должна отпускаться тепловая энергия;
график изменения разности давлений в подающих и обратных трубопроводах на выводах источников тепловой энергии в зависимости от температуры наружного воздуха.
1.2.4. График нормативной температуры сетевой воды в подающих трубопроводах источников тепловой энергии в диапазоне изменения этой температуры по графику качественного регулирования должен обеспечивать подачу тепловой энергии потребителям на отопление и вентиляцию за сутки в соответствии с температурой наружного воздуха.
Если в договорах установлено, что в этом диапазоне потребители получают тепловую энергию по графику температуры, пониженному относительно графика на источниках тепловой энергии за счет потерь тепловой энергии в подающих трубопроводах тепловой сети от источников тепловой энергии до потребителей, то расчетный расход сетевой воды у них должен быть соответственно увеличен. Если установлено, что в этом диапазоне потребители получают тепловую энергию по графику температуры качественного регулирования, то график нормативной температуры воды в подающих трубопроводах на источниках тепловой энергии должен учитывать тепловые потери в сети и должен быть повышен относительно графика температуры качественного регулирования.
+ 10 °С;
соответствующей точке излома (спрямления) температурного графика;
соответствующей точке срезки температурного графика;
расчетной для отопления;
промежуточной, лежащей примерно посередине между значениями температуры наружного воздуха, соответствующими точкам излома и срезки температурного графика.
В открытых системах теплоснабжения при отсутствии авторегуляторов температуры воды на входе в системы горячего водоснабжения промежуточную температуру наружного воздуха следует принимать по температуре сетевой воды в подающей линии, соответствующей переводу водоразбора с подающей на обратную линию. При этом нормативные значения режимных характеристик должны определяться для режимов отбора воды как из подающей, так и из обратной линии.
1.3.2. При первоначальном расчете нормативного режима совокупности потребителей и составлении нормативных графиков режимных характеристик системы теплоснабжения нормативные значения расходов сетевой воды в подающей линии и температур ее в обратной линии определяются при всех характерных температурах наружного воздуха исходя из количества работоспособных регуляторов температуры воды в автоматизированных системах горячего водоснабжения и тепловой нагрузки в автоматизированных системах отопления и вентиляции.
При пересмотре нормативных графиков режимных характеристик, проводимом через каждые пять лет, количество работоспособных регуляторов температуры и тепловой нагрузки должно увеличиваться в размере, устанавливаемом энергоснабжающей организацией.
1.3.3. При первоначальном расчете нормативного режима совокупности потребителей и составлении нормативных графиков режимных характеристик закрытой системы теплоснабжения значения нормативных расходов сетевой воды в подающей линии и температур ее в обратной линии независимо от автоматизации систем горячего водоснабжения определяются при всех характерных температурах наружного воздуха исходя из реального состояния поверхности нагрева водоводяных подогревателей горячего водоснабжения.
1.3.4. При независимом присоединении систем отопления и вентиляции с авторегулированием их тепловой нагрузки нормативные значения расходов и температур сетевой воды при первоначальном расчете нормативного режима совокупности потребителей определяются исходя из реального состояния поверхности нагрева водоводяных подогревателей при всех характерных температурах наружного воздуха. При независимом присоединении неавтоматизированных систем отопления и вентиляции нормативное значение расхода сетевой воды определяется исходя из реального состояния поверхности нагрева подогревателей только в точке излома температурного графика.
1.3.5. При пересмотре нормативных графиков режимных характеристик системы теплоснабжения, проводимом через каждые пять лет, определение нормативных значений расходов и температур сетевой воды должно производиться при повышенном значении коэффициента эффективности водоводяных подогревателей отопления и горячего водоснабжения, значение которого устанавливается энергоснабжающей организацией.
1.3.6. В открытой и закрытой системах теплоснабжения нормативный расход сетевой воды у потребителей с циркуляцией воды в системах горячего водоснабжения при всех характерных температурах наружного воздуха должен включать в себя расход сетевой воды, необходимый для обеспечения циркуляции воды в системах горячего водоснабжения. В открытой системе теплоснабжения нормативное значение расхода сетевой воды на циркуляцию в системах горячего водоснабжения потребителей определяется в зависимости от автоматизации системы горячего водоснабжения и примененной схемы циркуляции, в закрытой - только в зависимости только от автоматизации системы.
1.3.7. При первоначальном расчете нормативного режима совокупности потребителей нормативные значения расхода и температуры сетевой воды определяются исходя из количества работающих систем циркуляции воды. При пересмотре нормативных графиков режимных характеристик количество работающих систем циркуляции должно увеличиваться в размере, устанавливаемом энергоснабжающей организацией.
1.3.8. При определении нормативных режимов совокупности потребителей и системы теплоснабжения, а также при составлении ее режимных характеристик нормативные значения расхода сетевой воды в подающей и обратной линиях, температуры ее в обратной линии и расхода тепловой энергии определяются при среднечасовой за неделю нагрузке горячего водоснабжения.
1.4.1. Для полностью автоматизированных потребителей (с автоматическим регулированием тепловой нагрузки систем отопления и вентиляции и температуры воды в системе горячего водоснабжения) нормативные значения расхода сетевой воды в их подающем и обратном трубопроводах при характерных значениях температуры наружного воздуха определяются по результатам расчета гидравлического и теплового режимов тепловых пунктов указанных потребителей.
1.4.2. Для систем отопления и вентиляции потребителей с поддержанием постоянного расхода сетевой воды на эти системы и для тепловых пунктов потребителей с поддержанием постоянного ее расхода из тепловой сети нормативное значение расхода сетевой воды в подающем и обратном трубопроводах этих потребителей принимается неизменным в течение всего отопительного сезона.
Указания по проведению гидравлических расчетов и определению нормативных значений расхода сетевой воды в подающем и обратном трубопроводах у таких потребителей приведены в приложении 2.
1.4.4. В закрытой системе теплоснабжения нормативный расход сетевой воды, поступающей от потребителей в тепловую сеть по обратным трубопроводам, принимается равным расходу сетевой воды, поступающей к ним по подающим трубопроводам.
В открытой системе теплоснабжения нормативный расход сетевой воды, поступающей от потребителей в тепловую сеть по обратным трубопроводам, при каждом характерном значении температуры наружного воздуха принимается равным разности значений расхода воды в подающем трубопроводе и средненедельного водоразбора.
Указанный подход к определению нормативного значения расхода воды в обратном трубопроводе потребителя основывается на пренебрежимо малом нормативном значении потерь сетевой воды в его системах теплопотребления по сравнению с нормативным значением расхода воды в обратном трубопроводе.
1.5.1. Нормативные значения расхода сетевой воды по подающей линии
у совокупности потребителей
(т/ч)
находятся путем суммирования значений расхода сетевой воды в подающих
трубопроводах всех потребителей при соответствующем характерном значении
температуры наружного воздуха, которое осуществляется по завершении
гидравлических расчетов.
Нормативное значение расхода сетевой воды в подающей линии совокупности потребителей слагается из нормативных значений расхода воды, поступающей из подающих трубопроводов в системы отопления, вентиляции и подогреватели горячего водоснабжения потребителей, а в открытой системе теплоснабжения еще и расхода сетевой воды, отбираемой из подающей линии на горячее водоснабжение потребителей.
1.5.2. Нормативное значение расхода сетевой воды в обратной линии
совокупности потребителей
(т/ч) в закрытой
системе теплоснабжения одинаково с нормативным значением расхода воды в
подающей линии, а в открытой системе нормативное значение расхода сетевой воды
в обратной линии совокупности потребителей представляет собой разность между
нормативными значениями расхода ее в подающей линии и расхода сетевой воды,
отбираемой на горячее водоснабжение потребителей.
1.5.3. Нормативное значение расхода сетевой воды у совокупности
потребителей, протекающей без потерь из подающей линии в обратную через системы
теплопотребления,
(т/ч) определяется по
формуле
(1)
где
- нормативный расход
сетевой воды, отбираемой на горячее водоснабжение потребителей из подающей
линии, т/ч.
Нормативное
значение расхода сетевой воды
представляет собой
сумму значений расхода воды на следующие системы теплопотребления и виды
нагрузок:
системы отопления и вентиляции с автоматическим регулированием тепловой нагрузки, в том числе и независимо присоединенные системы;
системы отопления и вентиляции с поддержанием постоянства расхода сетевой воды на них, в том числе и независимо присоединенные системы;
неавтоматизированные системы отопления и вентиляции, как при непосредственном, так и при независимом их присоединении;
тепловые пункты потребителей с последовательной схемой включения подогревателей горячего водоснабжения как при непосредственной, так и при независимой схеме присоединения систем отопления;
автоматизированные подогреватели горячего водоснабжения, присоединенные по смешанной и параллельной схемам;
неавтоматизированные подогреватели горячего водоснабжения, присоединенные по смешанной и параллельной схемам;
циркуляцию в автоматизированных системах горячего водоснабжения при непосредственном водоразборе;
циркуляцию в неавтоматизированных системах горячего водоснабжения при непосредственном водоразборе.
1.5.4. Нормативное значение расхода сетевой воды на системы отопления и вентиляции с автоматическим регулированием тепловой нагрузки, включая и расход воды на независимо присоединенные системы, определяется при каждом характерном значении температуры наружного воздуха на основании расчета тепловых пунктов таких потребителей в зависимости от принятой схемы авторегулирования.
1.5.5. Нормативное значение расхода сетевой воды на непосредственно присоединенные системы отопления и вентиляции с поддержанием постоянства расхода воды на них определяется при расчетном значении температуры наружного воздуха для отопления, а на независимо присоединенные системы - при значении температуры наружного воздуха, соответствующем точке излома температурного графика.
Нормативное значение расхода сетевой воды на эти системы одинаково при всех характерных значениях температуры наружного воздуха.
1.5.6. Нормативное значение расхода сетевой воды на тепловые пункты потребителей с последовательной схемой включения подогревателей горячего водоснабжения определяется на основании расчета тепловых пунктов при значении температуры наружного воздуха, соответствующем точке излома температурного графика. Нормативное значение расхода сетевой воды на тепловые пункты таких потребителей одинаково при всех характерных значениях температуры наружного воздуха.
1.5.7. Нормативное значение расхода сетевой воды на автоматизированные подогреватели горячего водоснабжения, присоединенные по смешанной и параллельной схемам, определяется при каждом характерном значении температуры наружного воздуха на основании расчета тепловых пунктов таких потребителей при постоянном значении температуры нагретой водопроводной воды.
1.5.8. Нормативное значение расхода сетевой воды на неавтоматизированные системы отопления и вентиляции, непосредственно присоединенные к тепловой сети, определяется при значении температуры наружного воздуха, соответствующем точке излома температурного графика. Нормативное значение расхода сетевой воды при этом значении температуры наружного воздуха принимается равным расчетному, определенному по значениям температуры сетевой воды при расчетной температуре наружного воздуха.
Нормативное значение расхода сетевой воды на неавтоматизированные системы отопления и вентиляции, независимо присоединенные к тепловой сети, определяется при значении температуры наружного воздуха, соответствующем точке излома температурного графика, на основании расчета тепловых пунктов потребителей с такой схемой. При других характерных значениях температуры наружного воздуха нормативное значение расхода сетевой воды на неавтоматизированные системы отопления и вентиляции, присоединенные по непосредственной и независимой схемам, находится по результатам гидравлических расчетов системы теплоснабжения.
1.5.9. Нормативное значение расхода сетевой воды на неавтоматизированные подогреватели горячего водоснабжения, присоединенные по смешанной и параллельной схемам, определяется при значении температуры наружного воздуха, соответствующем точке излома температурного графика, на основании расчета тепловых пунктов таких потребителей.
При других характерных значениях температуры наружного воздуха нормативное значение расхода сетевой воды на неавтоматизированные подогреватели горячего водоснабжения находится по результатам гидравлических расчетов системы теплоснабжения.
1.5.10. Нормативное значение расхода сетевой воды на циркуляцию в автоматизированных системах горячего водоснабжения при непосредственном водоразборе определяется расчетом при каждом характерном значении температуры наружного воздуха.
1.5.11. Нормативное значение расхода сетевой воды на циркуляцию в неавтоматизированных системах горячего водоснабжения при непосредственном водоразборе определяется расчетом при значении температуры наружного воздуха, соответствующем точке излома температурного графика. При других характерных значениях температуры наружного воздуха оно уточняется по результатам гидравлических расчетов системы теплоснабжения.
1.5.12. В закрытой системе теплоснабжения при определении нормативного значения расхода сетевой воды на горячее водоснабжение при любой схеме включения подогревателей учитывается и наличие циркуляции в системах горячего водоснабжения.
1.5.13. Нормативное значение расхода сетевой воды на горячее водоснабжение потребителей с непосредственным водоразбором определяется при среднечасовой за неделю его нагрузке.
При автоматизированных системах горячего водоснабжения расход сетевой воды, отбираемой из подающей линии, определяется в виде доли общего расхода на водоразбор в зависимости от температуры сетевой воды в подающей линии.
При неавтоматизированных системах горячего водоснабжения сетевая вода на водоразбор отбирается или только из подающей, или только из обратной линии при расходе, определяемом температурой воды в соответствующей линии.
1.6.1.
Нормативное значение разности температур сетевой воды в подающей и обратной
линиях совокупности потребителей
(°С) при каждом
характерном значении температуры наружного воздуха находится путем деления
нормативного значения расхода тепловой энергии у совокупности потребителей (без
учета расхода ее на непосредственный водоразбор)
(Гкал/ч) на
нормативное значение расхода сетевой воды, протекающей без потерь из подающего
в обратный трубопровод через системы теплопотребления,
(т/ч).
1.6.2.
Нормативное значение расхода тепловой энергии
(Гкал/ч) определяется
по формуле
(2)
где
- расход
тепловой энергии у совокупности потребителей при данном характерном значении
температуры наружного воздуха, Гкал/ч;
- среднечасовой за неделю расход тепловой энергии на горячее
водоснабжение у потребителей с непосредственным водоразбором, Гкал/ч.
1.6.3. Составляющие нормативного расхода сетевой воды, протекающей из подающего в обратный трубопровод через системы теплопотребления, указаны в п. 1.5.3.
1.6.4. Нормативное
значение расхода тепловой энергии всеми потребителями системы теплоснабжения
(за исключением расхода ее на непосредственный водоразбор)
(Гкал/ч) представляет
собой сумму значений расхода тепловой энергии на следующие системы
теплопотребления и виды нагрузок:
системы отопления и вентиляции с автоматическим регулированием тепловой нагрузки, в том числе и независимо присоединенные системы;
системы отопления и вентиляции с поддержанием постоянства расхода сетевой воды на них, в том числе и независимо присоединенные системы;
неавтоматизированные системы отопления и вентиляции как при непосредственном, так и при независимом присоединении систем;
системы отопления потребителей, присоединенные к тепловым пунктам с последовательной схемой включения подогревателей горячего водоснабжения, как при непосредственном, так и при независимом их присоединении;
горячее водоснабжение потребителей в закрытой системе теплоснабжения при тепловых пунктах с последовательной, смешанной и параллельной схемами включения подогревателей горячего водоснабжения;
тепловые потери (на циркуляцию воды) в системах горячего водоснабжения, присоединенных по последовательной, смешанной и параллельной схемам включения подогревателей;
тепловые потери (на циркуляцию воды) в системах горячего водоснабжения при непосредственном водоразборе.
1.6.6. Нормативное значение расхода тепловой энергии системами отопления, присоединенными к тепловым пунктам с последовательной схемой включения подогревателей горячего водоснабжения, определяется при каждом характерном значении температуры наружного воздуха на основании расчета тепловых пунктов потребителей в зависимости от схемы присоединения систем отопления - непосредственной или независимой.
1.6.7. Нормативное значение расхода тепловой энергии системами отопления и вентиляции с поддержанием постоянства расхода сетевой воды определяется при каждом характерном значении температуры наружного воздуха. При отклонении нормативного значения температуры воды в подающей линии от графика качественного регулирования при каком-либо характерном значении температуры наружного воздуха к необходимому тепловому потреблению систем отопления и вентиляции вводится поправочный коэффициент, значение которого превышает единицу при положительном значении отклонения температуры воды в подающей линии и оказывается меньшим единицы при отрицательном значении отклонения температуры воды. Поскольку ко всем потребителям с постоянным расходом сетевой воды на системы отопления и вентиляции поступает вода из подающей линии тепловой сети с одинаковым (усредненным) значением температуры, значение поправочного коэффициента для всех таких потребителей оказывается одинаковым.
1.6.8. Нормативное значение расхода тепловой энергии неавтоматизированными системами отопления и вентиляции определяется при каждом характерном значении температуры наружного воздуха с учетом результатов гидравлического расчета системы теплоснабжения. Нормативное значение расхода тепловой энергии и в этом случае зависит от отклонения нормативного значения температуры воды в подающей линии от графика качественного регулирования и также требует введения поправочного коэффициента, который для рассматриваемых систем зависит и от отклонения расхода сетевой воды от расчетного значения. Поскольку отклонения расхода сетевой воды увеличиваются по мере удаления потребителей от источников тепловой энергии, значения поправочного коэффициента оказываются для неавтоматизированных систем отопления и вентиляции неодинаковыми. В то же время для целей нормирования расхода тепловой энергии на таких потребителей допустимо пользоваться усредненным значением отклонения расхода сетевой воды по совокупности потребителей, по которому с достаточной точностью может быть найден поправочный коэффициент на значение теплопотребления, оказывающийся при этом одинаковым для всех потребителей.
1.6.9. Нормативное значение расхода тепловой энергии на горячее водоснабжение потребителей как в закрытой, так и в открытой системах теплоснабжения определяется среднечасовой за неделю нагрузкой горячего водоснабжения и не зависит ни от схемы присоединения подогревателей горячего водоснабжения, ни от наличия регуляторов температуры воды на входе систем горячего водоснабжения.
(3)
где
- нормативное значение температуры сетевой
воды в подающей линии совокупности потребителей; находится согласно указаниям
п. 1.8.6.
1.7.1. График
изменения нормативного значения расхода сетевой воды в подающей линии
совокупности потребителей строится в зависимости от температуры наружного
воздуха по значениям расхода сетевой воды
, определенным при характерных значениях температуры
наружного воздуха согласно п. 1.5.1.
1.7.2. График
изменения нормативного значения расхода сетевой воды в обратной линии
совокупности потребителей строится в зависимости от температуры наружного
воздуха по значениям расхода воды
, определенным при характерных температурах наружного воздуха
согласно п. 1.5.2.
1.7.3. Наряду с графиками нормативного расхода сетевой воды в подающей и обратной линиях совокупности потребителей должны быть построены графики суммарных нормативных расходов сетевой воды на неавтоматизированные системы отопления и вентиляции и на системы отопления и вентиляции с поддержанием постоянства расхода сетевой воды.
1.7.4. Рекомендуется дополнительно строить графики суммарных нормативных расходов сетевой воды на системы отопления и вентиляции с автоматическим регулированием тепловой нагрузки, а в закрытой системе теплоснабжения - и графики суммарных нормативных расходов сетевой воды на автоматизированные и неавтоматизированные подогреватели горячего водоснабжения, присоединенные по смешанной и параллельной схемам. В открытой системе теплоснабжения рекомендуется строить графики суммарного нормативного водоразбора из подающей и обратной линий в автоматизированных и неавтоматизированных системах горячего водоснабжения, а также график суммарного нормативного расхода сетевой воды на циркуляцию в автоматизированных системах горячего водоснабжения, поступающей из подающей линии.
Дополнительные графики суммарных нормативных расходов сетевой воды строятся в зависимости от температуры наружного воздуха по соответствующим значениям ее расхода, определенным при характерных значениях температуры наружного воздуха.
1.7.5. График
изменения нормативной температуры сетевой воды в подающей линии совокупности
потребителей строится в зависимости от температуры наружного воздуха по
значениям температуры воды
, определенным согласно п. 1.8.6 при характерных значениях температуры наружного
воздуха.
1.7.6. График
изменения нормативной температуры сетевой воды в обратной линии совокупности
потребителей строится в зависимости от температуры наружного воздуха по
значениям температуры воды
, определенным согласно п. 1.6.11 при характерных значениях температуры наружного
воздуха.
1.7.7. График
изменения нормативного расхода тепловой энергии у совокупности потребителей
строится в зависимости от температуры наружного воздуха по значениям
, определенным при характерных значениях температуры
наружного воздуха.
1.7.8. Рекомендуется дополнительно строить графики нормативного расхода тепловой энергии на системы отопления и вентиляции с автоматическим регулированием тепловой нагрузки и поддержанием постоянства расхода воды на них, а также на системы отопления, присоединенные к тепловым пунктам с последовательной схемой включения подогревателей горячего водоснабжения. Кроме того, рекомендуется строить график нормативного расхода тепловой энергии на неавтоматизированные системы отопления и вентиляции.
В открытой
системе теплоснабжения рекомендуется также строить график нормативного расхода
тепловой энергии всеми системами теплопотребления
(за вычетом ее
расхода на непосредственный водоразбор).
Указания по определению нормативного значения расхода тепловой энергии на различные виды систем отопления и вентиляции и горячего водоснабжения приведены в пп. 1.6.5-1.6.10.
1.7.9. После построения всех графиков нормативного режима совокупности потребителей из них удаляется часть, находящаяся в интервале температур наружного воздуха между + 10 и + 8 °С.
1.7.10. Примерный вид графиков нормативного режима (температурного, гидравлического и теплового) совокупности потребителей в закрытой системе теплоснабжения показан на рис. 1-3 на примере смешанной схемы включения подогревателей горячего водоснабжения с циркуляцией горячей воды в этих системах и с поддержанием постоянства температуры водопроводной воды за подогревателями.
1.7.11. Примерный вид графиков нормативного режима (температурного, гидравлического и теплового) совокупности потребителей в открытой системе теплоснабжения показан на рис. 4-6 на примере систем горячего водоснабжения с циркуляцией горячей воды и поддержанием температуры сетевой воды перед системами.
Рис. 1. НОРМАТИВНЫЙ ТЕМПЕРАТУРНЫЙ РЕЖИМ ЗАКРЫТОЙ СИСТЕМЫ ТЕПЛОСНАБЖЕНИЯ (при смешанной схеме включения подогревателей горячего водоснабжения, наличии циркуляции воды в системах горячего водоснабжения и поддержании постоянной температуры воды в этих системах):
tни и tнс - температура наружного воздуха в точке излома (спрямления) и в точке срезки графика температуры сетевой воды в подающей линии;
tнр - расчетная температура наружного воздуха для отопления;
t1 и t2 - графики температуры сетевой воды в подающей и обратной линиях при режиме качественного регулирования отпуска тепловой энергии;
t1и и t2с - температура сетевой воды в подающих трубопроводах потребителей в диапазонах излома (спрямления) и срезки графика температуры;
и
- нормативной температуры сетевой воды в
подающей и обратной линиях совокупности потребителей;
и
- графики нормативной температуры сетевой
воды в подающей и обратной линиях системы теплоснабжения;
и
- среднее нормативное падение температуры
воды в подающем и обратном трубопроводах тепловой сети за счет потерь тепловой
энергии через их теплоизоляционную конструкцию

Рис. 2. НОРМАТИВНЫЙ ГИДРАВЛИЧЕСКИЙ РЕЖИМ ЗАКРЫТОЙ СИСТЕМЫ ТЕПЛОСНАБЖЕНИЯ (при смешанной схеме включения подогревателей горячего водоснабжения, наличии циркуляции воды в системах горячего водоснабжения и поддержании постоянной температуры воды в этих системах):
tни и tнс - температура наружного воздуха в точке излома (спрямления) и в точке срезки графика температуры сетевой воды в подающей линии;
tнр - расчетная температура наружного воздуха для отопления;
- график нормативного расхода сетевой воды на неавтоматизированные
системы отопления и
вентиляции;
- график нормативного
расхода сетевой воды на автоматизированные подогреватели горячего
водоснабжения;
- график нормативного расхода сетевой воды, протекающей без потерь
(циркулирующей) из подающей линии в обратную через системы теплопотребления;
и
- графики
нормативных расходов сетевой воды в подающей и обратной линиях совокупности потребителей;
и
- графики
нормативных расходов сетевой воды в подающей и обратной линиях системы теплоснабжения
Рис. 3. НОРМАТИВНЫЙ ТЕПЛОВОЙ РЕЖИМ ЗАКРЫТОЙ СИСТЕМЫ ТЕПЛОСНАБЖЕНИЯ (при смешанной схеме включения подогревателей горячего водоснабжения, наличии циркуляции воды в системах горячего водоснабжения и поддержании постоянной температуры воды в этих системах):
tни и tнс - температура наружного воздуха в точке излома (спрямления) и в точке срезки графика температуры сетевой воды в подающей линии;
tнр - расчетная температура наружного воздуха для отопления;
Qов.н - график расхода тепловой энергии на неавтоматизированные системы отопления и вентиляции при режиме качественного регулирования отпуска тепловой энергии;
- график нормативного
расхода тепловой энергии на неавтоматизированные системы отопления и
вентиляции;
- нормативный расход
тепловой энергии у совокупности потребителей при расчетной температуре
наружного воздуха;
- среднечасовой за неделю
расход тепловой энергии на системы горячего водоснабжения;
- расход тепловой энергии
на циркуляцию воды в системах горячего водоснабжения при средненедельной его
нагрузке;
- график нормативного
расхода тепловой энергии, отдаваемой циркулирующим расходом (
) на все системы теплопотребления;
и
- графики
нормативного расхода тепловой энергии у совокупности потребителей и в системе
теплоснабжения;
и
- потери тепловой
энергии через теплоизоляционную конструкцию подающих и обратных трубопроводов тепловой сети
Рис. 4. НОРМАТИВНЫЙ ТЕМПЕРАТУРНЫЙ РЕЖИМ ОТКРЫТОЙ СИСТЕМЫ ТЕПЛОСНАБЖЕНИЯ (при наличии циркуляции воды в системах горячего водоснабжения и поддержании постоянной температуры воды в этих системах):
tни и tнс - температура наружного воздуха в точке излома (спрямления) и в точке срезки графика температуры сетевой воды в подающей линии;
tнр - расчетная температура наружного воздуха для отопления;
t1 и t2 - графики температуры сетевой воды в подающей и обратной линиях при режиме качественного регулирования отпуска тепловой энергии;
t1и и t1с - температура сетевой воды в подающих трубопроводах потребителей в диапазонах спрямления и срезки графика температуры;
t1 и t2 - графики нормативной температуры сетевой воды в подающей и обратной линиях совокупности потребителей;
t1ст и t2ст - графики нормативной температуры сетевой воды в подающей и обратной линиях системы теплоснабжения;
Dtтп1 и Dtтп2 - падение температуры воды в подающем и обратном трубопроводах тепловой сети за счет потерь тепловой энергии через их теплоизоляционную конструкцию

Рис. 5. НОРМАТИВНЫЙ ГИДРАВЛИЧЕСКИЙ РЕЖИМ ОТКРЫТОЙ СИСТЕМЫ ТЕПЛОСНАБЖЕНИЯ (при наличии циркуляции воды в системах горячего водоснабжения и поддержании постоянной температуры воды в этих системах):
tни и tнс - температура наружного воздуха в точке излома (спрямления) и в точке срезки графика температуры сетевой воды в подающей линии;
tнр - расчетная температура наружного воздуха для отопления;
- график нормативного расхода сетевой воды на неавтоматизированные
системы отопления и
вентиляции;
- график среднечасового за
неделю расхода сетевой воды на автоматизированные системы горячего
водоснабжения;
и
- графики среднечасовых за неделю расходов
сетевой воды на горячее водоснабжение, поступающей из подающей и обратной линий
тепловой сети;
- график среднечасового за
неделю расхода сетевой воды на циркуляцию воды в автоматизированных системах
горячего водоснабжения;
и
- график среднечасовых за неделю расходов
сетевой воды на циркуляцию в системах горячего водоснабжения, поступающей из
подающей и обратной линий тепловой сети;
- график нормативного расхода сетевой воды, протекающей
(циркулирующей) из
подающей линии в обратную через системы теплопотребления;
и
- графики
нормативных расходов сетевой воды в подающей и обратной линиях совокупности потребителей;
и
- графики нормативных расходов сетевой воды в
подающей и обратной линиях системы теплоснабжения
Рис. 6. НОРМАТИВНЫЙ ТЕПЛОВОЙ РЕЖИМ ОТКРЫТОЙ СИСТЕМЫ ТЕПЛОСНАБЖЕНИЯ (при наличии циркуляции воды в системах горячего водоснабжения и поддержании постоянной температуры воды в этих системах):
tни и tнс - температура наружного воздуха в точке излома (спрямления) и в точке срезки графика температуры сетевой воды в подающей линии;
tнр - расчетная температура наружного воздуха для отопления;
Qов.н - график расхода тепловой энергии на неавтоматизированные системы отопления и вентиляции при режиме качественного регулирования отпуска тепловой энергии;
- график
нормативного расхода тепловой энергии на неавтоматизированные системы отопления
и вентиляции снабжения;
- нормативный расход тепловой
энергии у совокупности потребителей при расчетной температуре наружного
воздуха;
- среднечасовой
за неделю расход тепловой энергии на системы горячего водоснабжения;
- расход тепловой энергии
на циркуляцию воды в системах горячего водоснабжения при средненедельной его
нагрузке;
- график нормативного
расхода тепловой энергии на все системы теплопотребления за вычетом расхода ее на непосредственный
водоразбор;
и
- графики
нормативного расхода тепловой энергии у совокупности потребителей и в системе теплоснабжения;
+
- потери тепловой энергии через
теплоизоляционную конструкцию подающих и обратных трубопроводов тепловой сети
1.8.1. Нормативный режим системы теплоснабжения характеризуется:
нормативным
расходом сетевой воды в подающей линии системы теплоснабжения
;
нормативным
расходом сетевой воды в обратной линии системы теплоснабжения
;
нормативной
температурой сетевой воды в подающей линии системы теплоснабжения
;
нормативной
температурой сетевой воды в обратной линии системы теплоснабжения
.
Кроме того, к
нормативному режиму системы теплоснабжения относится нормативный расход
тепловой энергии в ней
.
Нормативный режим системы теплоснабжения определяется при характерных значениях температуры наружного воздуха на протяжении отопительного сезона.
Нормативное
значение расхода сетевой воды в обратной линии системы теплоснабжения (на
выводах источников тепловой энергии)
(т/ч) при каждом
характерном значении температуры наружного воздуха представляет собой разность
между нормативным значением расхода воды в обратной линии совокупности
потребителей
и нормативным
значением потерь сетевой воды из обратных трубопроводов тепловой сети.
Нормативные значения расхода сетевой воды в подающей и обратной линиях совокупности потребителей определяются согласно указаниям п. 1.5.2.
![]()
1.8.4. Среднее
нормативное значение расхода сетевой воды в подающей линии тепловой сети
(т/ч) при каждом
характерном значении температуры наружного воздуха превышает нормативное
значение расхода воды в подающей линии совокупности потребителей на половину
значения нормативных потерь сетевой воды из подающих трубопроводов тепловой
сети.
Среднее
нормативное значение расхода сетевой воды в обратной линии тепловой сети
(т/ч) при каждом
характерном значении температуры наружного воздуха представляет собой разность
между нормативным значением расхода воды в обратной линии совокупности
потребителей и половиной значения нормативных потерь сетевой воды из обратных
трубопроводов тепловой сети.
В связи с малыми нормативными значениями потерь сетевой воды из подающего и обратного трубопроводов тепловой сети для практических расчетов можно принимать средние нормативные значения расхода сетевой воды в подающей и обратной линиях тепловой сети равными соответствующим значениям расхода сетевой воды совокупности потребителей:
![]()
1.8.5. Нормативное значение температуры сетевой воды в подающей
линии системы теплоснабжения
(°C) при каждом характерном значении температуры наружного
воздуха принимается по графику, утвержденному энергоснабжающей организацией.
Если графики
температур сетевой воды в подающих трубопроводах
(°С) на различных
источниках тепловой энергии (или в каких-либо отдельных трубопроводах на их
выводах) не одинаковы, то нормативные значения температуры сетевой воды в
подающей линии системы теплоснабжения при всех характерных значениях
температуры наружного воздуха определяются по формуле
где
- нормативное значение расхода сетевой воды в
подающих трубопроводах на выводах одного из источников тепловой энергии при
данном характерном значении температуры наружного воздуха, т/ч;
- нормативное значение температуры сетевой воды в подающих
трубопроводах на выводах того же источника тепловой энергии при данном
характерном значении температуры наружного воздуха, °С.
Нормативные значения расхода сетевой воды в подающих трубопроводах на выводах источников тепловой энергии принимаются по результатам гидравлического расчета системы теплоснабжения при данном характерном значении температуры наружного воздуха. Нормативные значения температуры сетевой воды в подающих трубопроводах на выводах источников тепловой энергии принимаются по соответствующему температурному графику, утвержденному энергоснабжающей организацией. Суммирование в формуле (4) производится по всем источникам тепловой энергии системы теплоснабжения.
Нормативные
значения температуры сетевой воды в подающей линии совокупности потребителей
(°C) определяются при каждом характерном значении
температуры наружного воздуха исходя из нормативного графика температур сетевой
воды в подающей линии системы теплоснабжения
, утвержденного энергоснабжающей организацией, по формуле
(5)
где
- температура сетевой воды в подающей линии
системы теплоснабжения по нормативному графику ее температуры при данном
характерном значении температуры наружного воздуха, °С;
- нормативное значение падения температуры воды
в подающей линии тепловой сети (°С), находится согласно п. 1.8.8.
1.8.7. Нормативное значение температуры сетевой воды в обратной
линии системы теплоснабжения
отличается от
нормативного значения температуры ее в обратной линии совокупности потребителей
на нормативное значение падения температуры воды в обратной линии тепловой сети
. Значение падения температуры (°С) в этой линии тепловой сети
представляет собой среднее значение падения температуры воды в обратных
трубопроводах тепловой сети на участках между потребителями и источниками
тепловой энергии, связанное с наличием тепловых потерь через их
теплоизоляционную конструкцию:
(6)
где значения
и
(°С) находятся
согласно пп. 1.6.11 и 1.8.8.
Нормативное значение температуры сетевой воды в обратной линии системы теплоснабжения представляет собой значение температуры сетевой воды, средневзвешенное по нормативным значениям расхода сетевой воды в обратных трубопроводах на всех выводах источников тепловой энергии в системе теплоснабжения.
(7)
(8)
где
и
- нормативные значения тепловых потерь через
теплоизоляционную конструкцию подающих и обратных трубопроводов всей тепловой
сети при данной характерной температуре наружного воздуха, Гкал/ч;
С - удельная теплоемкость воды, равная 1 ккал/(кг·°С).
Указания по
определению нормативных значений тепловых потерь через теплоизоляционную
конструкцию подающих и обратных трубопроводов тепловой сети
и
приведены в
приложении 3.
где все расходы тепловой энергии определяются при каждом характерном значении температуры наружного воздуха.
1.9.1. Графики изменения нормативных значений расхода сетевой воды
в подающей и обратной линиях системы теплоснабжения строятся в зависимости от
температуры наружного воздуха по значениям
и
, определенным
согласно п. 1.8.3 при характерных значениях температуры наружного воздуха.
1.9.2. График изменения нормативного значения температуры сетевой
воды в подающей линии системы теплоснабжения строится в зависимости от
температуры наружного воздуха по ее значениям
, определенным согласно п. 1.8.5 при характерных
значениях температуры наружного воздуха.
1.9.3. График изменения нормативного значения температуры сетевой
воды в обратной линии системы теплоснабжения строится в зависимости от
температуры наружного воздуха по ее значениям
, определенным согласно п. 1.8.7 при характерных
значениях температуры наружного воздуха.
1.9.4. График изменения нормативного значения расхода тепловой
энергии в системе теплоснабжения строится в зависимости от температуры
наружного воздуха по его значениям
, определенным согласно п. 1.8.9 при характерных
значениях температуры наружного воздуха.
1.9.5. После построения всех графиков нормативного режима системы теплоснабжения из них удаляется часть, находящаяся в интервале температур наружного воздуха между + 10 и + 8 °С.
1.9.6. Примерный вид графиков нормативного режима (температурного, гидравлического и теплового) закрытой системы теплоснабжения показан на рис. 1-3 на примере смешанной схемы включения подогревателей горячего водоснабжения с циркуляцией горячей воды в этих системах и с поддержанием постоянства температуры водопроводной воды за подогревателями.
1.9.7. Примерный вид графиков нормативного режима (температурного, гидравлического и теплового) открытой системы теплоснабжения показан на рис. 4-6 на примере систем горячего водоснабжения с циркуляцией горячей воды и поддержанием температуры сетевой воды перед системами.
1.10.1. Режимные характеристики системы теплоснабжения включают в себя:
удельный расход
сетевой воды в подающей линии системы теплоснабжения
;
разность
температур сетевой воды в подающей и обратной линиях системы теплоснабжения
;
температуру
сетевой воды в обратной линии системы теплоснабжения
.
Режимные характеристики системы теплоснабжения определяются при характерных значениях температуры наружного воздуха на протяжении отопительного сезона.
Нормативное
значение удельного расхода сетевой воды в подающей линии системы теплоснабжения
(т/ч / Гкал/ч) при
каждом характерном значении температуры наружного воздуха определяются по
формуле
(10)
где
- нормативное значение расхода сетевой воды по
подающей линии системы теплоснабжения при данном характерном значении
температуры наружного воздуха (т/ч), определяемое согласно указаниям пп. 1.8.2 и 1.8.3;
- нормативное значение расхода тепловой
энергии в системе теплоснабжения при данном характерном значении температуры
наружного воздуха, Гкал/ч.
1.10.3. Нормативное значение разности температур сетевой воды в
подающей и обратной линиях системы теплоснабжения (на выводах источников
тепловой энергии)
(°C) отличается от нормативного значения этой разности
температур, определенного для совокупности потребителей,
на нормативное
среднее значение падения температуры воды в подающих и обратных трубопроводах
тепловой сети
и
, связанного с наличием тепловых потерь в этих трубопроводах:
(11)
где все указанные значения разности температур сетевой воды определяются при каждом характерном значении температуры наружного воздуха.
Нормативное значение разности температур сетевой воды в подающей и обратной линиях системы теплоснабжения (°С) может быть найдено также и по формуле
(12)
1.10.4.
Нормативное значение температуры сетевой воды в обратной линии системы
теплоснабжения
находится согласно
указаниям п. 1.8.7.
1.11.1. График изменения нормативного значения удельного расхода
сетевой воды в подающей линии системы теплоснабжения строится в зависимости от
температуры наружного воздуха по его значениям
, определенным согласно п. 1.10.2 при характерных
значениях температуры наружного воздуха.
1.11.2. График изменения нормативного значения разности температур
воды в подающей и обратной линиях системы теплоснабжения строится в зависимости
от значения температуры наружного воздуха по значениям разности температур воды
, определенным согласно п. 1.10.3 при характерных
значениях температуры наружного воздуха.
1.11.3. График
изменения нормативного значения температуры сетевой воды в обратной линии
системы теплоснабжения строится в зависимости от значения температуры наружного
воздуха по значениям температуры воды в этой линии
, определенным согласно п. 1.8.7 при характерных значениях температуры наружного
воздуха.
1.11.4. После построения всех нормативных графиков режимных характеристик из них удаляется часть, находящаяся в интервале температур наружного воздуха между + 10 и + 8 °С.
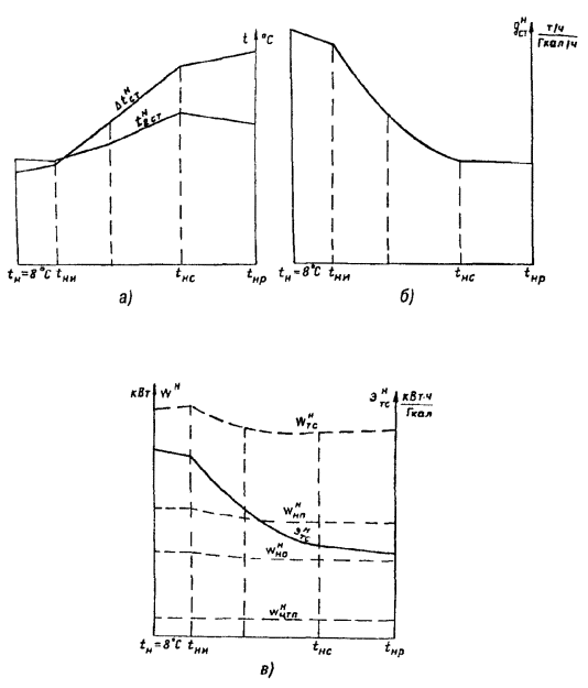
1.11.5. Примерный вид графиков режимных характеристик закрытой системы теплоснабжения, а также формы их представления приведены на рис. 7. На рис. 7, а даны графики нормативного значения разности температур сетевой воды в подающей и обратной линиях и нормативного значения температуры сетевой воды в обратной линии; на рис. 7, б приведен график нормативного значения удельного расхода сетевой воды в подающей линии.
Рис. 7. РЕЖИМНЫЕ ХАРАКТЕРИСТИКИ ЗАКРЫТОЙ СИСТЕМЫ ТЕПЛОСНАБЖЕНИЯ И ГИДРАВЛИЧЕСКАЯ ЭНЕРГЕТИЧЕСКАЯ ХАРАКТЕРИСТИКА ТЕПЛОВОЙ СЕТИ (при смешанной схеме включения подогревателей горячего водоснабжения, наличии циркуляции воды в системах горячего водоснабжения и поддержании постоянной температуры воды в этих системах):
а) графики нормативной разности
температур сетевой воды в подающей и обратной линиях
и график нормативной
температуры сетевой воды в обратной линии
системы теплоснабжения;
б) графики нормативного удельного
расхода сетевой воды
(на
единицу отпущенной тепловой энергии
) в подающей линии;
в) график нормативной
электрической мощности электродвигателей насосов wн и удельного расхода электроэнергии
на транспорт тепловой энергии
(на единицу отпущенной
тепловой энергии
);
и
- нормативная
электрическая мощность электродвигателей насосов в насосных станциях на
подающей и обратной линиях;
- нормативная электрическая
мощность электродвигателей насосов в ЦТП и дренажных станциях;
- суммарная нормативная электрическая мощность
электродвигателей насосов, находящихся на балансе энергоснабжающей организации;
tни и tнс - температура наружного воздуха в точке излома (спрямления) и в точке срезки графика температуры сетевой воды в подающей линии;
tнр - расчетная температура наружного воздуха для отопления
1.11.6. Примерный вид графиков режимных характеристик открытой системы теплоснабжения, а также формы их представления приведены на рис. 8. На рис. 8, а даны графики нормативной разности температур сетевой воды в подающей и обратной линиях и нормативной температуры сетевой воды в обратной линии; на рис. 8, б приведен график нормативного удельного расхода сетевой воды в подающей линии.
Рис. 8. РЕЖИМНЫЕ ХАРАКТЕРИСТИКИ ОТКРЫТОЙ СИСТЕМЫ ТЕПЛОСНАБЖЕНИЯ И ГИДРАВЛИЧЕСКАЯ ЭНЕРГЕТИЧЕСКАЯ ХАРАКТЕРИСТИКА ТЕПЛОВОЙ СЕТИ (при наличии циркуляции воды в системах горячего водоснабжения и поддержании постоянной температуры воды перед этими системами):
а) графики нормативной разности
температур сетевой воды в подающей и обратной линиях
и график нормативной
температуры сетевой воды в обратной линии
, системы теплоснабжения;
б) графики нормативного удельного
расхода сетевой воды
(на
единицу отпущенной тепловой энергии
) в подающей линии;
в) график нормативной
электрической мощности электродвигателей насосов wн и удельного расхода
электроэнергии на транспорт тепловой энергии
(на единицу
отпущенной тепловой энергии
);
и
- нормативная
электрическая мощность электродвигателей насосов в насосных станциях на подающей и обратной линиях;
- нормативная
электрическая мощность электродвигателей насосов на районных аккумуляторных
станциях;
- суммарная нормативная
электрическая мощность электродвигателей насосов, находящихся на балансе
энергоснабжающей организации;
tни и tнс - температура наружного воздуха в точке излома (спрямления) и в точке срезки графика температуры сетевой воды в подающей линии;
tнр - расчетная температура наружного воздуха для отопления
1.12.1. Графики нормативного режима системы теплоснабжения должны быть оформлены на листах формата A3 размером 420´297 мм. Графики режимных характеристик системы теплоснабжения должны быть оформлены на листах формата А4 размером 297´210 мм.
Графики нормативного режима и графики режимных характеристик системы теплоснабжения должны представляться в сброшюрованном виде.
1.12.2. Графики зависимостей нормативного режима и режимных характеристик системы теплоснабжения от температуры наружного воздуха должны строиться в масштабах, указанных ниже и обеспечивающих необходимую точность определения нормативных значений и удобство пользования графиками.
1.12.3. Во всех графиках нормативного режима и режимных характеристик системы теплоснабжения шкала температуры наружного воздуха должна строиться в масштабе 2 °С в 1 см.
1.12.4. Графики нормативного режима системы теплоснабжения должны строиться в следующих масштабах:
график нормативных температур сетевой воды - 5 °С в 1 см;
график нормативных расходов сетевой воды - не более 2,5 % максимального значения расхода воды в 1 см;
график нормативных расходов тепловой энергии - не более 2,5 % максимального значения ее расхода в 1 см.
1.12.5. Графики режимных характеристик системы теплоснабжения должны строиться в следующих масштабах:
график нормативного удельного расхода сетевой воды - 2 т/ч / Гкал/ч в 1 см;
график нормативной разности температур сетевой воды в подающей и обратной линиях - 5 °С в 1 см;
график нормативной температуры сетевой воды в обратной линии - 5 °С в 1 см.
1.12.6. Все графики нормативного режима и режимных характеристик системы теплоснабжения должны строиться при минимальном значении шкалы, равном нулю.
1.12.7. Значения делений шкал графиков нормативных расходов сетевой воды и тепловой энергии в зависимости от максимального их значения рекомендуется принимать следующими:
для нормативных расходов сетевой воды в 1 см - 20; 50; 100; 200; 500 и 1000 т/ч;
для нормативных расходов тепловой энергии в 1 см - 2; 5; 10; 20; 50 и 100 Гкал/ч.
Графики нормативного режима и нормативных режимных характеристик системы теплоснабжения должны пересматриваться через каждые пять лет в связи с увеличением эквивалентной шероховатости трубопроводов тепловой сети и уменьшением коэффициента теплопередачи водоводяных подогревателей у потребителей за этот период. Независимо от этого указанные графики должны пересматриваться при следующих изменениях в оборудовании и нагрузках системы теплоснабжения:
вводе в действие новых источников тепловой энергии или изменении суммарной тепловой мощности существующих источников на 10 %;
включении новых магистральных трубопроводов, закольцовывающих существующие участки тепловой сети;
замене головных участков магистральных трубопроводов;
вводе в действие новых насосных подкачивающих станций;
изменении расчетной тепловой нагрузки в системе теплоснабжения на 10 %;
увеличении доли автоматизированных систем теплопотребления на 10 процентных пунктов;
изменении доли тепловой нагрузки горячего водоснабжения в расчетной нагрузке системы теплоснабжения на 5 процентных пунктов.
2.1.1. Гидравлическая энергетическая характеристика представляет собой зависимость удельного расхода электроэнергии на транспорт тепловой энергии от температуры наружного воздуха, которая изображается в виде нормативного графика ее изменения на протяжении отопительного сезона.
2.1.2. Значения гидравлической энергетической характеристики тепловой сети определяются отношением нормативных среднечасовых значений расхода электроэнергии на транспорт тепловой энергии в тепловой сети к нормативному среднечасовому значению отпуска тепловой энергии (кВт·ч/Гкал) от источников тепловой энергии при данном характерном значении температуры наружного воздуха. При этом удельный расход электроэнергии может быть выражен отношением среднечасовой мощности электрооборудования (кВт) к среднечасовому расходу тепловой энергии (Гкал/ч), отпускаемой от источников тепловой энергии.
2.1.3. Гидравлическая энергетическая характеристика составляется только для той части тепловой сети, которая принадлежит энергоснабжающей организации.
подкачивающих на подающей и обратной линиях тепловой сети;
подмешивающих;
зарядочно-разрядочных в установках с районными баками-аккумуляторами;
дренажных.
Если энергоснабжающей организации принадлежат ЦТП потребителей, то нормативное значение расхода электроэнергии на них также входит в суммарное нормативное значение расхода ее на транспорт тепловой энергии.
Расход электроэнергии на сетевые, рециркуляционные и подпиточные насосы источников тепловой энергии, а также на зарядочные и разрядочные насосы центральных баков-аккумуляторов, расположенных на источниках тепловой энергии, входит в собственные нужды источников тепловой энергии и определяется согласно [2].
2.1.5. Определение нормативных значений расхода электроэнергии на насосных станциях и в ЦТП производится при характерных значениях температуры наружного воздуха, указанных в п. 1.3.1.
2.1.6. Основой определения нормативных значений расхода электроэнергии служат нормативные значения расхода сетевой воды через насосные станции и в ЦТП.
2.2.1. Нормативное значение расхода сетевой воды через насосные подкачивающие станции, расположенные на подающей и обратной линиях тепловой сети, находится в результате проведения гидравлических расчетов тепловой сети согласно п. 1.4.3 и проработки на их основании безопасных гидравлических режимов системы теплоснабжения.
2.2.2. Нормативное значение расхода сетевой воды через подмешивающие насосные станции, расположенные в тепловой сети, определяется при ее гидравлическом расчете с учетом принципов автоматизации этих станций.
2.2.3. Нормативное значение расхода сетевой воды через разрядочные и зарядочные насосы районных баков-аккумуляторов, расположенных в тепловой сети, определяется при каждом характерном значении температуры наружного воздуха в соответствии с часовым графиком работы аккумулирующих емкостей.
2.3.1. Электрическая мощность, необходимая при транспорте сетевой воды в насосных станциях любого назначения, определяется при каждом характерном значении температуры наружного воздуха. Основой для расчета необходимой электрической мощности насосов служат нормативные значения расхода сетевой воды, определяемые согласно указаниям разд. 2.2.
2.3.2. Нормативное значение электрической мощности электродвигателя, требуемое на привод насоса в насосной станции, w (кВт) определяется по формуле
где V - часовой объемный расход сетевой воды, перемещаемой насосом, м3/ч;
ρ - плотность перемещаемой сетевой воды, кг/м3;
Н - напор насоса при расходе воды V, м;
ηн - коэффициент полезного действия насоса при расходе воды V;
ηэ - коэффициент полезного действия электродвигателя.
2.3.3. При однотипных насосах, установленных на насосной станции, расход сетевой воды, перемещаемой каждым насосом, определяется делением среднечасового расхода сетевой воды через насосную станцию на количество работающих насосов.
При наличии на станции разнотипных насосов или однотипных, различающихся диаметром рабочего колеса, должна быть построена характеристика совместной работы насосов, с помощью которой находится расход воды через каждый параллельно работающий насос в зависимости от среднечасового расхода сетевой воды через насосную станцию.
2.3.4. Напор насоса при дроссельном регулировании и его коэффициент полезного действия при найденном расходе воды определяются по заводской характеристике или по результатам испытаний.
2.3.5. При регулировании напора насосной станции изменением частоты вращения электродвигателей насосов рабочая точка характеристики насосной станции находится на основе гидравлических расчетов тепловой сети (см. п. 1.4.3). По результатам этих расчетов выявляются значения расхода сетевой воды через станцию и необходимые значения напора ее насосов, сниженные относительно заводской характеристики при полученном расходе сетевой воды. Найденные в результате гидравлических расчетов значения расхода воды через каждый работающий насос и его напора определяют необходимую частоту вращения и используются при расчете требуемой электрической мощности электродвигателя насоса. При этом коэффициент полезного действия преобразователя частоты должен быть введен в знаменатель формулы (13).
2.3.6. Нормативная электрическая мощность электродвигателей всех насосов на насосной станции находится суммированием электрических мощностей электродвигателей работающих насосов. Мощность, затрачиваемая на собственные нужды насосной станции, может быть принята равной 1 % электрической мощности электродвигателей рабочих насосов станции. Определенная таким образом электрическая мощность оборудования подкачивающей или подмешивающей насосной станции представляет собой среднечасовое за сутки нормативное значение мощности при данном характерном значении температуры наружного воздуха.
2.3.7. Нормативное значение электрической мощности электродвигателей разрядочных и зарядочных насосов районных баков-аккумуляторов находится при каждом характерном значении температуры наружного воздуха. Напор этих насосов определяется по их характеристике при соответствующих значениях расхода воды из баков и в баки согласно часовому графику их работы. Среднечасовое за сутки нормативное значение электрической мощности электродвигателей разрядочных и зарядочных насосов баков-аккумуляторов wак (кВт) находится по формуле
где w - электрическая мощность электродвигателей разрядочных или зарядочных насосов в течение одного из часов суток, кВт.
2.3.8. Нормативное значение электрической мощности электродвигателей насосов дренажных станций, расположенных в тепловой сети энергоснабжающей организации и на принадлежащих ей ЦТП, определяется установленной мощностью рабочих насосов и временем их использования в течение суток. Среднечасовое за сутки нормативное значение электрической мощности электродвигателей насосов дренажных станций определяется по формуле (14).
2.4.1. Нормативное значение электрической мощности электродвигателей насосов ЦТП, находящихся на балансе энергоснабжающей организации, определяется для циркуляционных и подкачивающих насосов систем горячего водоснабжения, циркуляционных и подпиточных насосов систем отопления (при независимом их присоединении) и насосов другого назначения, установленных на трубопроводах сетевой воды в ЦТП, - подкачивающих и подмешивающих.
2.4.2 Значения расхода воды через циркуляционные и подкачивающие насосы систем горячего водоснабжения определяются при среднечасовой его нагрузке за неделю и являются постоянными на протяжении отопительного сезона. Значения расхода воды через циркуляционные и подпиточные насосы систем отопления определяются в соответствии с расчетным теплопотреблением этих систем и их вместимостью; значения расхода воды через эти насосы также являются постоянными в течение отопительного сезона. Значения расхода воды через подкачивающие и подмешивающие насосы, установленные на трубопроводах сетевой воды, определяются в зависимости от их местоположения в схеме ЦТП и принципов их автоматизации при режиме средненедельной нагрузки горячего водоснабжения.
2.4.3. Напор насосов всех назначений и их коэффициент полезного действия определяются по заводским характеристикам, а нормативная электрическая мощность их электродвигателей находится по формуле (13).
2.4.4. Среднечасовое за сутки нормативное значение электрической мощности электродвигателей насосов, расположенных на каждом ЦТП, находится суммированием значений электрической мощности электродвигателей работающих насосов всех назначений. Мощность, затрачиваемая на собственные нужды ЦТП, может быть принята равной 3 % электрической мощности электродвигателей рабочих насосов ЦТП.
2.5.1. Среднечасовое за сутки нормативное значение электрической мощности электродвигателей на всех насосных станциях, расположенных в тепловой сети энергоснабжающей организации и в ЦТП, находящихся на ее балансе, определяется при каждом характерном значении температуры наружного воздуха раздельно для следующих насосных групп:
расположенных в
подкачивающих насосных станциях на подающей линии тепловой сети,
;
расположенных в
подкачивающих насосных станциях на обратной линии тепловой сети,
;
находящихся в
составе районных аккумуляторных станций,
;
расположенных в
ЦТП и на дренажных станциях,
.
Среднечасовое за сутки нормативное значение электрической мощности электродвигателей, находящихся на балансе энергоснабжающей организации, определяется путем суммирования нормативного значения электрической мощности электродвигателей работающих насосов по каждой насосной группе и мощности, затрачиваемой на собственные нужды.
2.5.2. Полученные среднечасовые суммарные нормативные значения
электрической мощности электродвигателей по каждой насосной группе, а также
среднечасовые нормативные значения электрической мощности всех
электродвигателей, работающих в тепловой сети энергоснабжающей организации,
(кВт) представляются
в виде графиков зависимостей этих электрических мощностей от температуры
наружного воздуха. Характер графиков электрических мощностей в закрытой и
открытой системах теплоснабжения показан соответственно на рис. 7, в и 8, в.
2.5.3. При определении нормативного значения электрической мощности электродвигателей на насосных станциях, расположенных на отдельной тупиковой магистрали, присоединенной к коллекторам источника тепловой энергии, график суммарной электрической мощности строится по указанным насосным станциям.
2.6.1. Значение гидравлической энергетической характеристики тепловой сети энергоснабжающей организации при каждом характерном значении температуры наружного воздуха определяется отношением нормативного среднечасового значения электрической мощности всех электродвигателей, работающих в ее тепловой сети и в ЦТП, к нормативному среднечасовому значению расхода тепловой энергии, отпускаемой при том же характерном значении температуры наружного воздуха всеми источниками тепловой энергии в системе теплоснабжения. Значение этого отношения (нормативного удельного расхода электроэнергии на транспорт тепловой энергии) для конкретной системы теплоснабжения зависит только от температуры наружного воздуха.
2.6.2.
Нормативное значение удельного расхода электроэнергии на транспорт тепловой
энергии в тепловой сети энергоснабжающей организации
(кВт / Гкал/ч или
кВт·ч / Гкал) при каждом характерном значении температуры наружного
воздуха находятся по формуле
(15)
где
- нормативная среднесуточная мощность
электродвигателей на всех насосных станциях, расположенных в тепловой сети
энергоснабжающей организации, и в ЦТП, находящихся на ее балансе, при данном
характерном значении температуры наружного воздуха, кВт;
- нормативный среднесуточный расход тепловой энергии, отпускаемой
всеми источниками тепловой энергии в системе теплоснабжения при данном
характерном значении температуры наружного воздуха, Гкал/ч.
Нормативное среднечасовое значение расхода тепловой энергии находится согласно п. 1.8.9 по формуле (9).
2.6.3. График изменения нормативного удельного расхода
электроэнергии на транспорт тепловой энергии (график гидравлической
энергетической характеристики тепловой сети) строится в зависимости от
температуры наружного воздуха по значениям
, определенным при характерных значениях температуры
наружного воздуха.
Примерный вид графика удельного расхода электроэнергии для закрытой и открытой систем теплоснабжения показан соответственно на рис. 7, в и 8, в.
2.6.4. График нормативного удельного расхода электроэнергии на транспорт тепловой энергии должен быть оформлен на листах формата А4 размером 297´210 мм и сброшюрован с графиками нормативного режима и режимных характеристик системы теплоснабжения.
2.6.5. График нормативного удельного расхода электроэнергии на транспорт тепловой энергии должен строиться в масштабе не более 5 % максимального его значения в 1 см и при минимальном значении шкалы, равном нулю.
2.6.6. Значения делений шкалы графика нормативного удельного расхода электроэнергии на транспорт тепловой энергии в зависимости от максимального его значения рекомендуется принимать равными 0,1; 0,2; 0,5; 1 и 2 кВт·ч / Гкал в 1 см.
Нормативный график необходимой электрической мощности электродвигателей насосов, установленных в тепловой сети энергоснабжающей организации, и график нормативного удельного расхода электроэнергии на транспорт тепловой энергии должны пересматриваться в те же сроки и по тем же поводам, что и нормативные графики расхода и температур сетевой воды (см. разд. 1.13). Нормативный график необходимой электрической мощности электродвигателей насосов и график нормативного удельного расхода электроэнергии на транспорт тепловой энергии должны также пересматриваться при замене дроссельной схемы регулирования напоров на насосных станциях на схему регулирования частоты вращения электродвигателей.
3.1.1. Нормативные режимные характеристики системы теплоснабжения и нормативная гидравлическая энергетическая характеристика тепловой сети энергоснабжающей организации, методика определения которых разработана в разд. 1 и 2, предназначены для нормирования показателей режима системы теплоснабжения и системы транспорта тепловой энергии за прошедший отчетный период. Нормируемые значения этих показателей должны находиться на основе соответствующих графиков нормативного режима системы теплоснабжения, построенных в зависимости от температуры наружного воздуха.
3.1.2. Режим системы теплоснабжения за отчетный период (прошедший месяц) нормируется по следующим показателям:
удельному расходу сетевой воды в подающей линии системы теплоснабжения gн;
разности температур сетевой воды в подающей и обратной линиях системы теплоснабжения Dtн;
температуре сетевой воды в обратной линии системы теплоснабжения t2н.
Кроме того, за отчетный период нормируется удельный расход электроэнергии на транспорт тепловой энергии эн.
3.1.3. При определении нормируемых значений показателей должен учитываться характер изменения температуры наружного воздуха на протяжении прошедшего месяца. В связи с существенной нелинейностью зависимостей режимных и гидравлической энергетической характеристик от температуры наружного воздуха исходные значения, необходимые для расчета нормируемых значений показателей режима системы теплоснабжения и удельного расхода электроэнергии, должны определяться при среднем значении температуры наружного воздуха за каждые сутки прошедшего месяца с последующим усреднением за месяц.
3.1.4. Наряду с температурой наружного воздуха температура сетевой воды в подающей линии оказывает решающее влияние на значения нормируемых показателей режима системы теплоснабжения и удельного расхода электроэнергии на транспорт тепловой энергии. Эти температуры наружного воздуха и сетевой воды представляют собой факторы внешнего влияния на режим работы системы теплоснабжения и не зависят поэтому от уровня эксплуатации тепловой сети, тепловых пунктов и систем теплопотребления.
3.1.5. Необходимость учета температуры сетевой воды в подающей линии при нахождении нормируемых значений показателей объясняется следующими особенностями режима системы теплоснабжения.
Расход сетевой воды на горячее водоснабжение потребителей при среднечасовой за неделю его нагрузке как в закрытой системе теплоснабжения, так и при непосредственном водоразборе зависит в основном от температуры воды в подающей линии тепловой сети. Расход воды на отопление и вентиляцию потребителей зависит от гидравлического режима системы теплоснабжения, определяемого расходом сетевой воды на горячее водоснабжение. Расход воды по подающей и обратной линиям тепловой сети слагается из расхода воды на отопление, вентиляцию и горячее водоснабжение и, таким образом, также зависит от температуры воды в подающей линии.
В связи с этим
при отклонении фактического среднесуточного значения температуры сетевой воды в
подающей линии системы теплоснабжения
от
нормативного
, определенного по нормативному графику ее изменения
при среднесуточном
значении температуры наружного воздуха, необходима корректировка значений,
определяющих нормируемый режим системы теплоснабжения и найденных по
соответствующим графикам режимных и гидравлической энергетической
характеристик.
3.1.6. Корректировка значений, определяющих нормируемый режим системы теплоснабжения и нормируемую мощность электродвигателей в тепловой сети энергоснабжающей организации, производится на основе определения новых (скорректированных) нормируемых расходов и температур сетевой воды в подающей и обратной линиях системы теплоснабжения и нормируемого расхода тепловой энергии.
3.2.1. Исходными данными для определения нормируемых значений показателей режима системы теплоснабжения являются построенные нормативные графики, отражающие изменения нормативного режима и режимных характеристик системы теплоснабжения в зависимости от температуры наружного воздуха:
расхода сетевой
воды в подающей линии системы теплоснабжения
(п. 1.9.1);
расхода сетевой
воды в обратной линии системы теплоснабжения
(п. 1.9.1);
температуры
сетевой воды в подающей линии системы теплоснабжения
(п. 1.9.2);
температуры
сетевой воды в обратной линии системы теплоснабжения
(п. 1.9.3);
расхода тепловой
энергии в системе теплоснабжения
(п. 1.9.4);
удельного
расхода сетевой воды на передачу тепловой нагрузки
(п. 1.11.1);
разности
температур сетевой воды в подающей и обратной линиях системы теплоснабжения
(п. 1.11.2).
3.2.2. Для
определения нормируемых значений удельного расхода электроэнергии на транспорт
тепловой энергии используются построенные нормативные графики электрической
мощности электродвигателей насосов
(п. 2.5.2) и удельного расхода
электроэнергии
(п. 2.6.3).
3.2.3. Средние
значения температуры наружного воздуха за каждые сутки прошедшего месяца,
необходимые для определения нормируемых значений показателей режима системы
теплоснабжения и удельного расхода электроэнергии,
определяются
по данным метеослужбы. Среднесуточные значения температуры наружного воздуха
округляются до 0,5 °С.
3.2.4. Фактические
среднесуточные значения температуры сетевой воды в подающей линии системы
теплоснабжения за каждые сутки прошедшего месяца
находятся
согласно указаниям разд. 4.1.
3.3.1. Определение нормируемых значений показателей режима системы теплоснабжения и удельного расхода электроэнергии на транспорт тепловой энергии должно производиться на основе нормируемых значений расхода сетевой воды, тепловой и электрической энергии и температур сетевой воды, определенных за каждые сутки отчетного периода (прошедшего месяца) с последующим суммированием и усреднением этих значений за месяц. Сопоставление фактических и нормируемых значений показателей режима системы теплоснабжения и удельного расхода электроэнергии должно производиться по определенным таким образом среднемесячным значениям показателей.
3.3.2. Если за одни
из суток отчетного периода фактическое среднесуточное значение температуры
сетевой воды в подающей линии системы теплоснабжения
(п. 4.1.4) отличалось от нормативного ее
значения, определенного по нормативному графику
при
среднесуточной температуре наружного воздуха, не более чем на ± 3 %, то
нормируемые среднесуточные значения расхода сетевой воды в подающей и обратной
линиях
и
(т/ч), ее температур
в этих линиях
и
(°C), расхода тепловой энергии
(Гкал/ч) и
мощности электродвигателей
(кВт) в
системе теплоснабжения находятся за эти сутки по соответствующим нормативным
графикам при среднесуточном значении температуры наружного воздуха
(
;
;
;
;
и
).
3.3.3. Если за
одни из суток отчетного периода фактическое среднесуточное значение температуры
сетевой воды в подающей линии системы теплоснабжения
отличалось от
нормативного ее значения, определенного по нормативному графику
при
среднесуточном значении температуры наружного воздуха, более чем на ± 3 %, но
менее чем на ± 15 %, необходима корректировка суточных нормируемых значений
расхода сетевой воды в подающей и обратной линиях, ее температуры в обратной
линии, расхода тепловой энергии и мощности электродвигателей в системе
теплоснабжения в целях дальнейшего определения нормируемых показателей за
прошедший месяц.
Методика корректировки среднесуточных нормируемых значений указанных величин в системе теплоснабжения за прошедший месяц при существенных отклонениях фактических среднесуточных значений температуры сетевой воды в подающей линии от нормативных ее значений приведена в приложении 4.
3.3.4. Среднемесячные нормируемые значения часовых расходов сетевой воды в подающей линии G1н (т/ч) и тепловой энергии в системе теплоснабжения Qн (Гкал/ч) определяются по формулам:
Среднемесячные нормируемые значения температур сетевой воды в подающей t1н (°С) и обратной t2н (°C) линиях системы теплоснабжения определяются по формулам:
Среднемесячное нормируемое значение электрической мощности электродвигателей в тепловой сети энергоснабжающей организации wтс.н (кВт) определяется по формуле
В приведенных
формулах
,
,
,
,
и
представляют собой
среднесуточные нормативные значения, определенные из соответствующих графиков
нормативного режима системы теплоснабжения при среднесуточных значениях
температуры наружного воздуха в те сутки, за которые среднесуточные фактические
значения температуры сетевой воды в подающей линии
практически не
отклонялись от нормативных (± 3 %).
Среднесуточные
значения
,
,
,
и
представляют собой
скорректированные нормируемые значения, определенные для тех суток, в которых
среднесуточные фактические значения температуры сетевой воды в подающей линии
не выходили за допустимые пределы (± 15 %).
Значение Мн соответствует количеству суток, за которые фактические среднесуточные значения температуры сетевой воды в подающей линии не отличались от нормативных (в пределах указанного выше допуска); значение Мск соответствует количеству суток, в которых это условие не соблюдалось и необходимо было определять скорректированные нормируемые значения указанных выше величин. Значение М равно количеству суток в прошедшем месяце (М = Мн + Мск).
3.3.5 Нормируемые показатели режима системы теплоснабжения за прошедший месяц определяются по формулам:
удельный расход сетевой воды в подающей линии, т/ч / Гкал/ч:
(21)
где G1н - среднемесячное нормируемое значение расхода сетевой воды в подающей линии системы теплоснабжения, определенное по формуле (16), т/ч;
Qн - среднемесячное нормируемое значение отпуска тепловой энергии от всех источников тепловой энергии, определенное по формуле (17), Гкал/ч;
разность температур сетевой воды в подающей и обратной линиях (°С), определенная по формуле
Dtн = t1н - t2н, (22)
где t1н - среднемесячное нормируемое значение температуры сетевой воды в подающей линии системы теплоснабжения, определенное по формуле (18);
t2н - среднемесячное нормируемое значение температуры сетевой воды в обратной линии системы теплоснабжения, определенное по формуле (19).
3.3.6. Нормируемое значение гидравлической энергетической характеристики за прошедший месяц - удельного расхода электроэнергии на транспорт тепловой энергии (кВт·ч/Гкал) определяется по формуле
(23)
где
- среднемесячное
нормируемое значение электрической мощности электродвигателей в тепловой сети
энергоснабжающей организации, определенное по формуле (20), кВт.
3.3.7. При определении нормируемых значений показателей режима для отдельной тупиковой магистрали, присоединенной к коллекторам источника тепловой энергии, используются нормативные графики режимных характеристик и график электрической мощности электродвигателей, построенные для потребителей тупиковой магистрали. Среднесуточные фактические значения температуры сетевой воды в подающем трубопроводе тупиковой магистрали определяются согласно пп. 4.1.2 и 4.1.3.
3.3.8. Если
среднесуточные значения температуры наружного воздуха за прошедший отчетный
период полностью входили в один из диапазонов значений температуры наружного
воздуха (диапазон спрямления графика температур, диапазон качественного
регулирования или диапазон срезки графика) и в то же время фактическое значение
температуры сетевой воды в подающей линии за этот период не отклонялось от
нормативного более чем на ± 3 %, то следует пренебречь нелинейностью
нормативных графиков режимных и энергетической характеристик и находить
нормируемые значения показателей режима и удельного расхода электроэнергии на
транспорт тепловой энергии непосредственно из графиков
,
,
и
по среднему значению
температуры наружного воздуха за прошедший месяц.
3.3.9. Для оценки режима отпуска тепловой энергии от источников
тепловой энергии в системе теплоснабжения определяется среднее за прошедший
месяц нормативное значение температуры сетевой воды в ее подающей линии
. Это значение находится на основе нормативных среднесуточных
значений температуры и расхода сетевой воды в подающей линии системы
теплоснабжения, определенных по соответствующим графикам изменения их
нормативных значений
и
при среднесуточных значениях температуры наружного воздуха
за прошедший месяц.
Среднемесячное
нормативное значение температуры сетевой воды
(°С) в подающей линии
системы теплоснабжения определяется по формуле
(24)
Основой определения фактического режима работы системы теплоснабжения служат фактические значения температуры и расхода сетевой воды в подающих и обратных трубопроводах на выводах всех источников тепловой энергии в системе.
Фактические значения температуры и расхода сетевой воды в подающих и обратных трубопроводах на выводах источников тепловой энергии на протяжении прошедшего месяца могут определяться как среднечасовые, так и среднесуточные.
Фактические среднемесячные значения температуры сетевой воды в подающей и обратной линиях системы теплоснабжения определяются как средневзвешенные по фактическим значениям расхода воды в соответствующих трубопроводах на выводах всех источников тепловой энергии. Фактические среднемесячные значения расхода сетевой воды в подающей и обратной линиях системы теплоснабжения определяются путем суммирования среднемесячных значений расхода сетевой воды в подающем и обратном трубопроводах на выводах источников тепловой энергии.
4.1.1. Фактические среднесуточные значения температуры сетевой воды в подающей линии системы теплоснабжения, определенные за весь отчетный период, необходимы для расчета нормируемых значений показателей режима системы теплоснабжения и удельного расхода электроэнергии на транспорт тепловой энергии (разд. 3.1).
4.1.3. При использовании в качестве исходных данных среднечасовых значений расхода G1 (т/ч) и температуры t1 (°С) сетевой воды в подающих трубопроводах и предварительно определяются среднесуточные их значения в каждом подающем трубопроводе на выводах всех источников тепловой энергии.
Среднесуточное значение расхода сетевой воды в каком-либо подающем трубопроводе на выводе одного из источников тепловой энергии находится путем суммирования среднечасовых значений расхода воды по этому трубопроводу G1, что определяет суточный расход воды G1сут (т/сут), и последующего деления суточного значения расхода воды на 24, что определяет среднесуточное значение расхода воды G1ср.с (т/ч) по рассматриваемому трубопроводу.
Среднесуточное значение температуры сетевой воды t1ср.с (°С) в этом подающем трубопроводе находится по формуле
(25)
4.1.4. Фактические среднесуточные значения температуры сетевой
воды
(°С) в подающей линии системы
теплоснабжения за каждые сутки отчетного периода определяются по формуле
(26)
где
и
- среднесуточные значения расхода (т/ч) и
температуры (°С) сетевой воды в одном из подающих трубопроводов на выводах
какого-либо из источников тепловой энергии;
п - количество подающих трубопроводов на выводах всех источников тепловой энергии в системе теплоснабжения.
4.2.1. Исходными данными для расчета фактических среднемесячных значений расхода сетевой воды в системе теплоснабжения являются фактические часовые или суточные значения расхода сетевой воды в каждом подающем и обратном трубопроводах на выводах всех источников тепловой энергии в системе - G1 и G2 (т/ч) или G1сут и G2сут (т/сут), определенные по показаниям средств измерений на протяжении прошедшего месяца.
4.2.2. Фактическое количество сетевой воды, отпущенной за прошедший месяц по каждому подающему и возвращенной по каждому обратному трубопроводу на выводах какого-либо источника тепловой энергии в системе теплоснабжения, G1мес и G2мес (т/мес) находится суммированием за месяц фактических часовых или суточных значений соответствующих расходов теплоносителя по каждому трубопроводу - G1 и G2 (т/ч) или G1сут и G2сут (т/сут).
4.2.3. Средние за прошедший месяц часовые фактические значения расхода сетевой воды в каждом подающем и обратном трубопроводе на выводах какого-либо источника тепловой энергии G1ср.м и G2ср.м (т/ч) находятся делением количества сетевой воды, протекшей за прошедший месяц по соответствующим трубопроводам, G1мес и G2мес на продолжительность этого месяца в часах.
4.2.4. Исходными данными для расчета фактических среднемесячных значений температуры сетевой воды в системе теплоснабжения являются средние за каждый час или за каждые сутки фактические значения температуры сетевой воды в каждом подающем и обратном трубопроводе на выводах всех источников тепловой энергии в системе t1 и t2 или t1ср.с и t2ср.с (°С), определенные по показаниям средств измерений на протяжении прошедшего месяца.
4.2.5. Средние за прошедший месяц фактические значения температуры сетевой воды в каждом подающем и обратном трубопроводе на выводах какого-либо источника тепловой энергии t1ср.м и t2ср.м (°С) находятся по формулам
или

или
или

где G1 и G2 - фактические часовые значения расхода сетевой воды в каком-либо подающем и обратном трубопроводе на выводах одного из источников тепловой энергии на протяжении прошедшего месяца, т/ч;
G1сут и G2сут - фактические суточные значения расхода сетевой воды в каком-либо подающем или обратном трубопроводе на выводах одного из источников тепловой энергии на протяжении прошедшего месяца, т/сут;
G1мес и G2мес - количество сетевой воды, отпущенной за прошедший месяц по тому же подающему трубопроводу на выводах источника тепловой энергии и возвращенной на тот же источник по обратному трубопроводу, т/мес;
t1 и t2 - средние за час фактические значения температуры сетевой воды в том же подающем или обратном трубопроводе на выводах источника тепловой энергии на протяжении прошедшего месяца, °С;
t1ср.с и t2ср.с - средние за сутки фактические значения температуры сетевой воды в том же подающем или обратном трубопроводе на выводах источника тепловой энергии на протяжении прошедшего месяца, °С;
N - количество часов в прошедшем месяце;
М - количество суток в прошедшем месяце.
4.2.6. Средние за прошедший месяц фактические значения расхода
сетевой воды в подающей и обратной линиях системы теплоснабжения
и
(т/ч) находятся
суммированием средних за прошедший месяц фактических значений расхода сетевой
воды в каждом подающем и обратном трубопроводе на выводах всех источников
тепловой энергии
и
(п. 4.2.3).
4.2.7. Средние за прошедший месяц фактические значения температуры
сетевой воды в подающей и обратной линиях системы теплоснабжения
и
(°C) находятся по формулам
в которых суммирование производится по
всем подающим трубопроводам в количестве «п» и по всем обратным трубопроводам в
количестве «о», расположенным на выводах всех источников тепловой энергии в
системе теплоснабжения, а значения
и
,
и
,
и
принимаются
соответственно по пп. 4.2.3, 4.2.5 и 4.2.6.
4.2.8. При определении средних за прошедший месяц фактических значений расхода и температуры сетевой воды в отдельной тупиковой магистрали, присоединенной к коллекторам источника тепловой энергии, средние фактические значения расхода сетевой воды в подающем и обратном трубопроводах находятся согласно п. 4.2.3, а средние значения температуры ее в этих трубопроводах определяются по формулам (27) и (28).
4.3.1. Среднечасовое за прошедший месяц фактическое значение
отпуска тепловой энергии от всех источников тепловой энергии в системе
теплоснабжения
(Гкал/ч), необходимый
для определения фактического удельного расхода электроэнергии на транспорт
тепловой энергии, находится по формуле
где С - удельная теплоемкость воды, ккал/(кг · °С);
и
- средние
за прошедший месяц фактические значения расхода сетевой воды в подающей и
обратной линиях системы теплоснабжения, т/ч (п. 4.2.6);
и
- средние за прошедший месяц фактические значения температуры
сетевой воды в подающей и обратной линиях системы теплоснабжения, °С (п. 4.2.7);
- среднее за прошедший месяц значение
температуры воды, поступившей на источники тепловой энергии из системы
холодного водоснабжения, °С.
4.3.2. Если
значение температуры исходной воды, поступавшей на один из источников тепловой
энергии из системы холодного водоснабжения на протяжении прошедшего месяца,
изменялось более чем на 10 %, ее фактическое среднее значение за этот период
принимается
среднеарифметическим из средних за час (или сутки) значений температуры
холодной воды.
4.3.3. Если на
источники тепловой энергии подается вода от разных систем холодного
водоснабжения со среднемесячными значениями температуры, различающимися более
чем на 10 %, то среднее значение температуры холодной воды, поступившей на
источники тепловой энергии за прошедший месяц (по системе теплоснабжения в
целом),
определяется по формуле
где Gп.ит - фактическое количество подпиточной воды, поданной в тепловую сеть на одном из источников тепловой энергии за прошедший месяц, т/мес;
- фактическое среднемесячное значение температуры холодной воды,
поданной из системы холодного водоснабжения на тот же источник тепловой энергии
в течение прошедшего месяца, °С.
В формуле (32) суммирование производится по всем источникам тепловой энергии в системе теплоснабжения.
4.3.4. При
определении фактического удельного расхода электроэнергии на транспорт тепловой
энергии для отдельной тупиковой магистрали, присоединенной к коллекторам
источника тепловой энергии, фактический отпуск тепловой энергии по ней за прошедший
месяц определяется по формуле (31),
в которую подставляются средние за этот период значения расхода и температуры
сетевой воды в этой магистрали
и
,
и
, принимаемые согласно указаниям пп. 4.2.3 и 4.2.5.
Температура
принимается равной
для источника
тепловой энергии, к которому присоединена тупиковая магистраль.
5.1.1. Фактическое значение удельного расхода сетевой воды на передачу единицы тепловой нагрузки в системе теплоснабжения за прошедший gф (т/ч / Гкал/ч) месяц определяется по формуле
где
- среднее за прошедший месяц фактическое значение
расхода сетевой воды в подающей линии системы теплоснабжения, т/ч (п. 4.2.6);
- среднее за прошедший месяц фактическое значение расхода тепловой
энергии в системе теплоснабжения, Гкал/ч (п. 4.3.1).
Фактический
расход
, представляющий собой средний за месяц часовой отпуск
тепловой энергии от всех источников ее в системе теплоснабжения, слагается из
суммы среднечасового теплопотребления систем отопления, вентиляции,
кондиционирования воздуха и горячего водоснабжения всех присоединенных к
тепловой сети потребителей и среднечасовых за прошедший месяц тепловых потерь
трубопроводами тепловой сети.
5.1.2. При
определении фактического значения удельного расхода сетевой воды для отдельной
тупиковой магистрали, присоединенной к коллекторам источника тепловой энергии,
в формулу (33) подставляется
значение
, найденное для этой магистрали согласно указаниям п. 4.2.3. Фактический расход
в формуле (33) в этом случае представляет собой
сумму среднемесячного фактического расхода тепловой энергии потребителями,
присоединенными к тупиковой магистрали, и среднемесячных тепловых потерь ее
трубопроводов.
5.1.3. Фактическое значение разности температур сетевой воды в подающей и обратной линиях системы теплоснабжения за прошедший месяц Dtф (°C) определяется по формуле
(34)
где фактические среднемесячные значения
температуры сетевой воды в подающей и обратной линиях системы теплоснабжения
и
находятся согласно
указаниям п. 4.2.7.
Фактическое
значение температуры сетевой воды в обратной линии системы теплоснабжения за
прошедший месяц определяется фактическим среднемесячным значением температуры
сетевой воды в этих трубопроводах
(°С),
найденным по формуле (30).
5.1.4. При
определении фактических показателей температурного режима для отдельной
тупиковой магистрали, присоединенной к коллекторам источника тепловой энергии,
средние за прошедший месяц значения температуры сетевой воды в подающем и
обратном трубопроводах этой магистрали
и
принимаются
по формулам (27) и (28).
5.1.5. Фактическое значение удельного расхода электроэнергии на транспорт тепловой энергии в тепловой сети энергоснабжающей организации представляет собой отношение фактических затрат электроэнергии за месяц на привод электродвигателей насосов в насосных станциях различного назначения и в ЦТП, перечисленных в п. 2.1.4, к фактическому отпуску тепловой энергии за прошедший месяц от всех источников тепловой энергии в системе теплоснабжения.
Фактические затраты электроэнергии на привод электродвигателей насосов, установленных в тепловой сети энергоснабжающей организации, Эф.мес (кВт·ч/мес) определяются за прошедший месяц на основании измерений ее затрат на насосных станциях и в ЦТП.
При определении фактического значения удельного расхода электроэнергии на транспорт тепловой энергии по отдельной тупиковой магистрали, присоединенной к коллекторам источника тепловой энергии, фактические затраты электроэнергии находятся по насосным станциям, расположенным на этой магистрали.
Среднечасовая за
месяц фактическая электрическая мощность электродвигателей насосов
(кВт)
находится делением затрат электроэнергии за прошедший месяц Эф.мес
на количество часов в этом месяце.
Фактическое значение удельного расхода электроэнергии на транспорт тепловой энергии по тепловой сети энергоснабжающей организации (или по тупиковой магистрали) эф (кВт·ч/Гкал) определяется по формулам:
(35)
или
(36)
где
- среднечасовое за прошедший месяц значение
отпуска тепловой энергии от всех источников тепловой энергии в системе
теплоснабжения, определенное по формуле (31),
Гкал/ч;
N - количество часов в прошедшем месяце.
5.2.1. Определение эффективности транспорта тепловой энергии в системе теплоснабжения (или в тупиковой магистрали) за прошедший месяц производится по отношению фактического и нормируемого значений удельного расхода воды на передачу единицы отпущенной тепловой энергии (нормируемые значения показателей режима системы теплоснабжения и удельного расхода электроэнергии определяются согласно разд. 3.3):
![]()
5.2.2.
Соответствие фактического значения расхода сетевой воды в подающей линии
системы теплоснабжения (или в тупиковой магистрали) за прошедший месяц его
нормируемому значению производится непосредственно по отношению
- относительному
расходу сетевой воды в подающих трубопроводах на выводах всех источников
тепловой энергии в системе теплоснабжения (или в одном из трубопроводов) в
среднем за прошедший месяц, равному отношению фактического расхода сетевой воды
в этих трубопроводах к его нормируемому значению.
5.2.3.
Соответствие фактического расхода тепловой энергии в системе теплоснабжения за
прошедший месяц его нормируемому значению производится по отношению
- относительному
отпуску тепловой энергии от всех источников тепловой энергии в системе
теплоснабжения в среднем за прошедший месяц, равному отношению фактического
значения отпуска тепловой энергии к его нормируемому значению.
5.2.4. Определение
степени использования теплового (температурного) потенциала сетевой воды в
системе теплоснабжения за прошедший месяц производится по отношению
фактического и нормируемого значений разности температур сетевой воды в
подающей и обратной линиях системы теплоснабжения
.
Степень
использования температурного потенциала сетевой воды в отдельной тупиковой
магистрали, присоединенной к коллекторам источника тепловой энергии, выявляется
по значению отношения
, определенного для этой магистрали у источника тепловой
энергии.
Степень
использования температурного потенциала сетевой воды за отчетный период может
также оцениваться по значению и знаку разности фактического и нормируемого
значений температуры воды в обратной линии системы теплоснабжения
.
5.2.5.
Сопоставление фактических и нормируемых значений затрат электроэнергии на
транспорт тепловой энергии по тепловой сети (или тупиковой магистрали),
принадлежащей энергоснабжающей организации, производится по значению отношения
соответствующих удельных расходов электроэнергии
.
5.2.6. Оценка
режима отпуска тепловой энергии от ее источников в системе теплоснабжения
осуществляется за прошедший месяц путем сопоставления среднемесячных
фактического и нормативного значений температуры сетевой воды в подающей линии.
Среднемесячное нормативное значение температуры сетевой воды в подающей линии
определяется согласно
указаниям п. 3.3.9, среднемесячное
фактическое ее значение
находится по
формуле (29). Степень соответствия
фактического значения температуры сетевой воды в подающей линии системы теплоснабжения
нормативному графику за отчетный период оценивается по значению и знаку
разности фактического и нормативного значений температуры сетевой воды в этой
линии
-
=
.
Автоматизированная система горячего водоснабжения - система, на тепловом пункте которой осуществляется поддержание постоянства температуры нагретой водопроводной воды (в закрытой системе теплоснабжения) или сетевой воды (в открытой системе теплоснабжения) за подогревателями горячего водоснабжения или за узлом смешения.
Автоматизированная система отопления или вентиляции - система, на тепловом пункте или на входящих в ее состав теплопотребляющих приборах которой осуществляется регулирование расхода тепловой энергии прямым или косвенным (по температуре или расходу теплоносителя) методами в зависимости от метеорологических условий или в определенные отрезки времени; поддержание постоянства расхода сетевой воды на систему не является признаком автоматизированной системы.
Автоматизированный непосредственный водоразбор - непосредственный водоразбор, осуществляемый посредством автоматизированных систем горячего водоснабжения.
Автоматизированный подогреватель горячего водоснабжения - подогреватель, у которого на выходе водопроводной воды температура ее поддерживается постоянной.
Гидравлическая энергетическая характеристика тепловой сети - зависимость от температуры наружного воздуха нормативного значения удельного расхода электроэнергии на транспорт тепловой энергии по тепловой сети энергоснабжающей организации, стабильная при неизменном состоянии системы теплоснабжения в условиях соблюдения нормативной температуры сетевой воды в подающих трубопроводах и нормативной разности давлений в подающих и обратных трубопроводах на выводах источников тепловой энергии.
График температур качественного регулирования - график температур сетевой воды в подающей и обратной линиях тепловой сети при качественном режиме регулирования отпуска тепловой энергии.
Диапазон качественного регулирования - интервал температур наружного воздуха, расположенный между диапазонами спрямления и срезки графика температур, в котором изменение температуры сетевой воды в подающей линии происходит по графику температур качественного регулирования.
Диапазон спрямления графика температур - интервал температур наружного воздуха в теплый период отопительного сезона, в котором поддерживается постоянная минимальная температура сетевой воды в подающей линии.
Диапазон срезки графика температур - интервал температур наружного воздуха в холодный период отопительного сезона, в котором поддерживается постоянная максимальная температура сетевой воды в подающей линии.
Закрытая водяная система теплоснабжения - водяная система теплоснабжения, в которой не предусмотрено использование сетевой воды для обеспечения горячего водоснабжения потребителей путем ее отбора из тепловой сети.
Индивидуальный тепловой пункт (ИТП) - установка, служащая для подготовки и распределения сетевой воды и тепловой энергии по одной или нескольким системам теплопотребления, расположенным в одном здании или сооружении или в его части.
Источник тепловой энергии - теплогенерирующая установка (тепловая электрическая станция или котельная), предназначенная для производства и отпуска тепловой энергии.
Качественный режим регулирования отпуска тепловой энергии - режим подачи тепловой энергии, при котором постоянный расход сетевой воды на системы отопления и определенные соответствующим образом температуры ее в подающей линии тепловой сети обеспечивают поддержание постоянной температуры воздуха в отапливаемых зданиях.
Коэффициент эффективности водоводяного подогревателя - отношение фактического значения коэффициента теплопередачи водоводяного подогревателя к его теоретическому значению при одинаковых значениях скорости греющей и нагреваемой воды и температуры воды на входе в подогреватель и выходе из него.
Неавтоматизированная система горячего водоснабжения - система, на тепловом пункте которой не производится регулирование температуры воды, поступающей в систему горячего водоснабжения.
Неавтоматизированная система отопления или вентиляции - система, в которой не производится регулирование температуры и расхода теплоносителя или тепловой энергии.
Нормативная разность температур сетевой воды в подающей и обратной линиях системы теплоснабжения - усредненная по всем источникам тепловой энергии разность температур воды в подающей и обратной линиях при данной температуре наружного воздуха, представляющая собой сумму нормативной разности температур сетевой воды в подающей и обратной линиях совокупности потребителей и нормативного среднего падения температуры воды в подающих и обратных трубопроводах тепловой сети за счет тепловых потерь через их теплоизоляционную конструкцию.
Нормативная разность температур сетевой воды в подающей и обратной линиях совокупности потребителей - усредненная по всем потребителям разность температур воды в подающей и обратной линиях при данной температуре наружного воздуха, соответствующая нормативным расходу и температуре сетевой воды в подающей линии совокупности потребителей, их нормативному теплопотреблению и реальным характеристикам тепловых пунктов и систем теплопотребления.
Нормативная температура воды на входе в системы горячего водоснабжения - температура водопроводной или сетевой воды на входе в системы горячего водоснабжения, ограниченная [3].
Нормативная температура сетевой воды в обратной линии системы теплоснабжения - усредненная по всем источникам тепловой энергии температура сетевой воды в обратной линии системы теплоснабжения при данной температуре наружного воздуха, представляющая собой разность нормативной температуры сетевой воды в обратной линии совокупности потребителей и нормативного среднего падения температуры воды в обратных трубопроводах тепловой сети за счет тепловых потерь через их теплоизоляционную конструкцию.
Нормативная температура сетевой воды в обратной линии совокупности потребителей - усредненная по всем потребителям температура воды в обратной линии при данной температуре наружного воздуха, соответствующая нормативным температуре и расходу сетевой воды в подающей линии совокупности потребителей и реальным характеристикам их тепловых пунктов и систем теплопотребления.
Нормативная температура сетевой воды в подающей линии системы теплоснабжения - температура воды в подающей линии при данной температуре наружного воздуха, средневзвешенная по расходам сетевой воды во всех подающих трубопроводах на выводах источников тепловой энергии, температура воды в которых определяется графиками, утвержденными энергоснабжающей организацией.
Нормативная температура сетевой воды в подающей линии совокупности потребителей - одинаковая для всех потребителей температура сетевой воды в их подающих трубопроводах при данной температуре наружного воздуха, представляющая собой разность нормативной температуры сетевой воды в подающей линии системы теплоснабжения и нормативного среднего падения температуры воды в подающих трубопроводах тепловой сети за счет тепловых потерь через их теплоизоляционную конструкцию.
Нормативная тепловая нагрузка (нормативный расход тепловой энергии) в системе теплоснабжения - сумма нормативного теплопотребления совокупности потребителей и нормативных тепловых потерь трубопроводами всей тепловой сети.
Нормативное теплопотребление совокупности потребителей - суммарный расход тепловой энергии на всех потребителей системы теплоснабжения при данной температуре наружного воздуха, соответствующий нормативным температуре и расходу сетевой воды в подающей линии совокупности потребителей и реальным характеристикам их тепловых пунктов и систем теплопотребления.
Нормативный отпуск тепловой энергии в системе теплоснабжения - суммарный расход тепловой энергии, отпускаемой всеми источниками тепловой энергии в тепловую сеть при данной температуре наружного воздуха, представляющий собой сумму нормативного теплопотребления совокупности потребителей и нормативных тепловых потерь подающими и обратными трубопроводами тепловой сети.
Нормативный расход сетевой воды в обратной линии системы теплоснабжения - суммарный расход сетевой воды в обратных трубопроводах на всех выводах источников тепловой энергии при данной температуре наружного воздуха, представляющий собой разность нормативного расхода сетевой воды в обратной линии совокупности потребителей и нормативных потерь сетевой воды из обратных трубопроводов тепловой сети.
Нормативный расход сетевой воды в подающей линии системы теплоснабжения - суммарный расход сетевой воды в подающих трубопроводах на всех выводах источников тепловой энергии при данной температуре наружного воздуха, представляющий собой сумму нормативного расхода сетевой воды в подающей линии совокупности потребителей и нормативных потерь сетевой воды из подающих трубопроводов тепловой сети.
Нормативный расход сетевой воды в подающей или обратной линии совокупности потребителей - суммарный расход сетевой воды в подающей или обратной линии всех потребителей системы теплоснабжения при данной температуре наружного воздуха, соответствующий их расчетному теплопотреблению и определенный по результатам расчета тепловых пунктов потребителей и гидравлического расчета системы теплоснабжения с учетом их реальных характеристик при соблюдении утвержденного нормативного графика температуры сетевой воды на источниках тепловой энергии и при выдерживании нормативной разности давлений сетевой воды в подающих и обратных трубопроводах на выводах источников тепловой энергии.
Нормативный режим системы теплоснабжения - зависимость от температуры наружного воздуха нормативных расходов и температур сетевой воды в подающей и обратной линиях системы теплоснабжения и нормативного отпуска тепловой энергии от источников тепловой энергии.
Нормативный режим совокупности потребителей - зависимость от температуры наружного воздуха нормативных расхода и температуры сетевой воды в подающей и обратной линиях и нормативного потребления тепловой энергии на границе тепловой сети и всех тепловых пунктов потребителей.
Нормативный удельный расход сетевой воды на передачу единицы тепловой нагрузки - отношение нормативного расхода сетевой воды по подающей линии системы теплоснабжения при данной температуре наружного воздуха к нормативному расходу тепловой энергии в системе теплоснабжения при той же температуре наружного воздуха.
Нормативный удельный расход электроэнергии на транспорт тепловой энергии - отношение среднечасовой за сутки нормативной электрической мощности электродвигателей насосов и другого электрооборудования, находящихся на балансе энергоснабжающей организации, к нормативному расходу тепловой энергии в системе теплоснабжения при данной температуре наружного воздуха.
Нормируемые значения показателей режима системы теплоснабжения за отчетный период - средние за месяц нормируемые значения удельного расхода сетевой воды в подающей линии и разности температур сетевой воды в подающей и обратной линиях системы теплоснабжения (или температуры сетевой воды в обратной линии), определенные на основе нормируемых среднесуточных значений расхода тепловой энергии, сетевой воды и ее температуры в системе теплоснабжения, найденных за все сутки отчетного периода.
Нормируемое значение температуры сетевой воды в подающей линии системы теплоснабжения за отчетный период - среднее за месяц нормируемое значение температуры сетевой воды в подающей линии системы теплоснабжения, определенное на основе нормируемых среднесуточных значений температуры воды в этой линии, найденных за все сутки отчетного периода.
Нормируемое значение удельного расхода электроэнергии за отчетный период - среднее за месяц нормируемое значение удельного расхода электроэнергии на транспорт тепловой энергии в тепловой сети энергоснабжающей организации, определенное на основе нормируемых среднесуточных значений электрической мощности электродвигателей и электроэнергии, найденных за все сутки отчетного периода.
Нормируемое среднесуточное значение температуры сетевой воды в подающей линии системы теплоснабжения - фактическое среднесуточное значение температуры сетевой воды в подающей линии системы теплоснабжения, определенное за одни из суток отчетного периода, при условии отклонения его в допустимых пределах (± 15 %) от нормативного значения, соответствующего среднесуточному значению температуры наружного воздуха.
Организация, эксплуатирующая тепловые сети (ОЭТС) - организация, осуществляющая техническую эксплуатацию трубопроводов и установок тепловой сети, принадлежащих энергоснабжающей организации.
Открытая система теплоснабжения - водяная система теплоснабжения, в которой сетевая вода непосредственно используется для горячего водоснабжения потребителей путем ее отбора из тепловой сети.
Подающая или обратная линия системы теплоснабжения - функциональное объединение подающих или обратных трубопроводов на всех выводах источников тепловой энергии в системе теплоснабжения в один условный трубопровод.
Подающая или обратная линия совокупности потребителей - функциональное объединение подающих или обратных трубопроводов на границе тепловой сети и всех тепловых пунктов потребителей в один условный трубопровод.
Подающая или обратная линия тепловой сети - функциональное объединение подающих или обратных трубопроводов тепловой сети в один условный трубопровод.
Подпиточная вода - вода, подаваемая в водяную тепловую сеть для восполнения потерь сетевой воды и ее разбора на горячее водоснабжение.
Потребитель тепловой энергии (потребитель) - комплекс систем теплопотребления, присоединенных к одному центральному или индивидуальному тепловому пункту.
Разность температур сетевой воды в подающей и обратной линиях системы теплоснабжения - усредненная разность температур сетевой воды в подающих и обратных трубопроводах на выводах источников тепловой энергии.
Разность температур сетевой воды в подающей и обратной линиях совокупности потребителей - разность значений температуры воды в подающих и обратных трубопроводах на границе тепловой сети и всех тепловых пунктов потребителей, средневзвешенная по значению расхода сетевой воды, циркулирующей без потерь по их системам теплопотребления.
Расход сетевой воды в подающей или обратной линиях системы теплоснабжения - сумма значений расхода сетевой воды в подающих или обратных трубопроводах на всех выводах источников тепловой энергии.
Расход сетевой воды в подающей или обратной линиях совокупности потребителей - сумма значений расхода сетевой воды в подающем или обратном трубопроводах на границе тепловой сети и всех тепловых пунктов потребителей.
Расчет теплового и гидравлического режимов тепловых пунктов с автоматизированными системами теплопотребления - определение расхода сетевой воды на автоматизированные системы теплопотребления и расхода тепловой энергии на автоматизированные системы отопления и вентиляции при характерных значениях температуры наружного воздуха и среднечасовой за неделю нагрузке горячего водоснабжения.
Расчетная тепловая нагрузка потребителя (расчетное тепловое потребление) - сумма часовых тепловых нагрузок систем отопления и вентиляции потребителя при расчетной температуре наружного воздуха для отопления и среднечасовой за неделю нагрузки системы горячего водоснабжения потребителя.
Расчетная тепловая нагрузка системы теплоснабжения - сумма расчетных тепловых нагрузок всех потребителей в системе теплоснабжения и тепловых потерь трубопроводами всей тепловой сети при расчетной температуре наружного воздуха.
Реальные характеристики теплового пункта и систем теплопотребления - отличительные особенности теплового пункта и систем теплопотребления, определяемые видами систем теплопотребления и схемами их присоединения на тепловом пункте, расчетными параметрами систем теплопотребления и соотношением их расчетных тепловых нагрузок, характеристиками водоподогревателей, степенью автоматизации теплового пункта.
Режимные характеристики системы теплоснабжения - зависимости от температуры наружного воздуха нормативных значений удельного расхода сетевой воды в подающей линии и разности температур сетевой воды в подающей и обратной линиях системы теплоснабжения (или температуры сетевой воды в обратной линии), стабильные при неизменном состоянии системы теплоснабжения в условиях соблюдения нормативной температуры сетевой воды в подающих трубопроводах и нормативной разности давлений сетевой воды в подающих и обратных трубопроводах на выводах источников тепловой энергии.
Система теплоснабжения - совокупность гидравлически связанных трубопроводов, установок и устройств для производства, передачи, распределения и использования тепловой энергии.
Система теплопотребления - комплекс теплопотребляющих устройств, предназначенных для обеспечения одного вида тепловой нагрузки.
Совокупность потребителей - функциональное объединение тепловых пунктов и систем теплопотребления всех потребителей, граница которого расположена между тепловыми пунктами и тепловой сетью.
Среднечасовая за неделю (средненедельная) тепловая нагрузка горячего водоснабжения - 1/168 часть количества тепловой энергии, потребляемой за неделю на горячее водоснабжение.
Среднечасовой за неделю расход сетевой воды на горячее водоснабжение при непосредственном водоразборе (средненедельный водоразбор) - 1/168 часть количества сетевой воды, потребляемой за неделю на горячее водоснабжение.
Температура сетевой воды в подающей или обратной линиях системы теплоснабжения - значение температуры воды, средневзвешенное по значениям расхода сетевой воды в соответствующих трубопроводах на всех выводах источников тепловой энергии.
Температура сетевой воды в подающей или обратной линиях совокупности потребителей - значение температуры воды, средневзвешенное по значениям расхода сетевой воды в соответствующих трубопроводах на границе тепловой сети и всех тепловых пунктов потребителей.
Тепловая сеть - совокупность трубопроводов и установок, предназначенных для передачи тепловой энергии от источников ее потребителям.
Точка излома (спрямления) графика температур - температура наружного воздуха, разделяющая диапазоны спрямления графика температур и качественного регулирования отпуска тепловой энергии.
Точка срезки графика температур - температура наружного воздуха, разделяющая диапазоны срезки графика температур и качественного регулирования отпуска тепловой энергии.
Тупиковая магистраль - магистраль тепловой сети, присоединенная к источнику тепловой энергии и не имеющая других гидравлических связей с остальными источниками тепловой энергии и магистралями тепловой сети.
Центральный тепловой пункт (ЦТП) - установка, служащая для подготовки и распределения сетевой воды и тепловой энергии по системам теплопотребления нескольких зданий или сооружений, в каждом из которых расположен индивидуальный тепловой пункт.
Энергоснабжающая организация - предприятие, являющееся юридическим лицом и имеющее в собственности или в полном хозяйственном ведении источники тепловой энергии и (или) тепловые сети.
1. Исходные данные для гидравлических расчетов системы теплоснабжения
1.1. Для полностью автоматизированных потребителей (с автоматическим регулированием тепловой нагрузки систем отопления и вентиляции и температуры воды в системах горячего водоснабжения) в качестве исходных данных для гидравлических расчетов используются значения расхода сетевой воды в их подающем и обратном трубопроводах, которые определены по результатам расчета теплового и гидравлического режимов тепловых пунктов таких потребителей при характерных значениях температуры наружного воздуха.
1.2. Для не полностью автоматизированных потребителей (для тех, у которых тепловая нагрузка и температура воды автоматически регулируются лишь в отдельных системах теплопотребления) в гидравлических расчетах используются значения расхода сетевой воды в подающем и обратном трубопроводах лишь автоматизированных систем теплопотребления, определенных по результатам расчетов тепловых пунктов при характерных значениях температуры наружного воздуха (при соответствующих значениях температуры сетевой воды в подающем трубопроводе). При непосредственном водоразборе у потребителей значения расхода сетевой воды на горячее водоснабжение определяются и в случае отсутствия регуляторов температуры воды, поступающей в системы горячего водоснабжения.
1.3. Для тех потребителей, у которых к тепловым пунктам присоединены неавтоматизированные системы теплопотребления (независимо от наличия или отсутствия присоединенных автоматизированных систем), должны быть определены расчетные значения расхода сетевой воды на них при том характерном значении температуры наружного воздуха, при котором определяется расчетный гидравлический режим системы теплоснабжения (как правило, при значении температуры, соответствующем точке излома температурного графика).
Расчетное значение расхода сетевой воды на неавтоматизированные системы отопления и вентиляции, непосредственно присоединенные к тепловой сети, может определяться при расчетном значении температуры наружного воздуха для отопления.
2. Последовательность выполнения гидравлических расчетов и определения нормативных значений расхода сетевой воды на каждого потребителя
2.2. Базовый гидравлический расчет производится раздельно для подающего и обратного трубопроводов тепловой сети при расчетных значениях расхода сетевой воды у потребителей, имеющих место в точке излома температурного графика. При этом у потребителей с непосредственным водоразбором расчетное значение расхода воды в обратном трубопроводе принимается равным разности расчетного значения расхода воды в подающем трубопроводе и значения расхода сетевой воды на горячее водоснабжение, которое определяется по среднечасовой за неделю нагрузке горячего водоснабжения.
По результатам выполнения базового гидравлического расчета тепловой сети и проработки расчетного гидравлического режима системы теплоснабжения определяются расчетные располагаемые значения напора у неавтоматизированных систем теплопотребления и значения их гидравлических сопротивлений, м/(м3/ч)2.
Полученные в результате базового гидравлического расчета значения расхода сетевой воды в подающем и обратном трубопроводах у потребителей являются нормативными значениями расхода воды у них при характерном значении температуры наружного воздуха, соответствующем точке излома температурного графика.
В результате проведения гидравлических расчетов системы теплоснабжения при характерных значениях температуры наружного воздуха (за исключением значения температуры, соответствующего точке излома температурного графика) и проработки соответствующих гидравлических режимов определяются по каждому потребителю нормативное значение расхода сетевой воды в подающем трубопроводе, слагающееся из значений расхода воды на автоматизированные и неавтоматизированные системы теплопотребления, и нормативное значение расхода сетевой воды, поступающей от потребителя в тепловую сеть по обратному трубопроводу.
2.4. Гидравлические расчеты тепловой сети и системы теплоснабжения производятся при значении эквивалентной шероховатости трубопроводов сети, выявленном в результате ее испытаний на гидравлические потери или принятом по эксплуатационным данным. В последнем случае значение эквивалентной шероховатости должно быть утверждено в энергоснабжающей организации.
2.5. Гидравлические расчеты, выполняемые согласно указаниям пп. 2.1-2.3 этого приложения, аналогичны расчетам, которые необходимо производить в ОЭТС перед началом каждого отопительного сезона для определения диаметра отверстий дроссельных устройств у потребителей, для оценки сезонных изменений гидравлического режима системы теплоснабжения и разработки безопасных режимов ее работы.
3. Особенности проведения гидравлических расчетов и определения нормативного значения расхода сетевой воды при различных схемах присоединения к тепловой сети систем горячего водоснабжения
3.1. При наличии в системе теплоснабжения некоторых схем присоединения систем горячего водоснабжения на тепловых пунктах для определения нормативного значения расхода сетевой воды у потребителей необходимо использовать метод последовательных приближений. Этот метод должен применяться при определении нормативного значения расхода сетевой воды в процессе гидравлических расчетов при всех характерных значениях температуры наружного воздуха, за исключением характерного значения ее, соответствующего точке излома температурного графика.
При таком характерном значении температуры наружного воздуха значение расхода сетевой воды на неавтоматизированные системы отопления (и вентиляции) является расчетным, а значение температуры воды в обратных трубопроводах этих систем соответствует графику температур качественного регулирования. При других характерных значениях температуры наружного воздуха значение температуры воды в обратных трубопроводах систем отопления отличается от графика температур качественного регулирования, что влияет на расход сетевой воды на горячее водоснабжение при двухступенчатых схемах включения подогревателей и непосредственном водоразборе. В связи с этим требуется учет этого изменения значения температуры воды в обратных трубопроводах неавтоматизированных систем отопления при определении значений расхода сетевой воды на системы горячего водоснабжения, который осуществляется путем выполнения повторного гидравлического расчета системы теплоснабжения.
3.2. Для потребителей с двухступенчатой смешанной схемой включения подогревателей горячего водоснабжения, оборудованных регуляторами постоянства температуры нагретой водопроводной воды, при отсутствии у них регулирования расхода сетевой воды на системы отопления значение расхода сетевой воды на горячее водоснабжение при первоначальном расчете теплового и гидравлического режимов тепловых пунктов должно определяться с учетом расчетного значения расхода сетевой воды на отопление. Расчетное значение расхода сетевой воды на отопление и определенное при этом значение расхода сетевой воды на горячее водоснабжение являются основой первоначального гидравлического расчета системы теплоснабжения.
При всех характерных значениях температуры наружного воздуха (за исключением значения ее, соответствующего точке излома температурного графика) значение расхода сетевой воды на неавтоматизированные системы отопления, определяемое по результатам первоначального гидравлического расчета, будет превышать расчетное значение, поэтому температура воды в обратных трубопроводах этих систем будет повышена. Это обусловливает увеличение теплопроизводительности первой ступени подогревательной установки горячего водоснабжения и сокращение у потребителей расхода сетевой воды на горячее водоснабжение (через вторую ступень).
В связи с этим необходим повторный расчет режима тепловых пунктов при повышенном значении расхода сетевой воды на системы отопления, выявленном при первоначальном гидравлическом расчете системы теплоснабжения, и определение на его основе новых, пониженных значений расхода сетевой воды на горячее водоснабжение потребителей. Полученные таким образом значения расхода сетевой воды на горячее водоснабжение являются основой повторного гидравлического расчета системы теплоснабжения, который определяет нормативные значения расхода сетевой воды на системы отопления потребителей. Допустимо ограничиться проведением этого повторного гидравлического расчета и не стремиться к дальнейшему уточнению расходов сетевой воды на горячее водоснабжение и отопление.
3.3. Для потребителей с параллельной схемой включения подогревателей горячего водоснабжения независимо от наличия авторегуляторов перед системами отопления нет необходимости в проведении повторных гидравлических расчетов системы теплоснабжения, поскольку температура воды в обратных трубопроводах систем отопления не влияет на расход сетевой воды на подогреватель горячего водоснабжения. Этот расход определяется только температурой сетевой воды в подающей линии.
3.4. Для потребителей с последовательной схемой включения подогревателей горячего водоснабжения расход сетевой воды на тепловой пункт в течение отопительного сезона поддерживается постоянным, что исключает необходимость повторных гидравлических расчетов системы теплоснабжения. В то же время расчет тепловых пунктов таких потребителей следует производить при каждом характерном значении температуры наружного воздуха в целях определения расхода тепловой энергии на системы отопления.
3.5. В закрытой системе теплоснабжения при отсутствии в ней автоматизированных систем теплопотребления нормативные значения расхода сетевой воды у потребителей при всех характерных значениях температуры наружного воздуха постоянны и равны нормативным расчетным значениям расхода воды, определенным для точки излома температурного графика. В этих условиях гидравлический расчет тепловой сети производится только для условий точки излома температурного графика; он необходим для оценки безопасности гидравлического режима системы теплоснабжения и (при наличии насосных подкачивающих станций) определения гидравлической энергетической характеристики тепловой сети (см. разд. 2 Методических указаний).
3.6. Для потребителей с непосредственным водоразбором, системы горячего водоснабжения которых оборудованы регуляторами постоянства температуры сетевой воды на входе в эти системы, соотношение долей водоразбора из подающей и обратной линий зависит не только от температуры сетевой воды в подающей линии, но и от температуры воды в обратных трубопроводах систем отопления. При значениях температуры воды в подающей линии больших, чем в точке излома температурного графика, доля водоразбора из этой линии сокращается, расход сетевой воды на неавтоматизированные системы отопления превышает расчетный, а вместе с ним повышается относительно графика качественного регулирования и температура воды в обратных трубопроводах систем отопления потребителей.
Последовательность определения нормативных значений расхода сетевой воды на неавтоматизированные системы отопления потребителей и расхода ее на водоразбор из подающей линии слагается из следующих этапов. При каждом характерном значении температуры наружного воздуха определяется доля водоразбора из подающей линии, рассчитываемая на основе температуры воды в обратном трубопроводе систем отопления, соответствующей графику качественного регулирования. Значение этой доли водоразбора из подающей линии является основой проведения первоначального гидравлического расчета системы теплоснабжения, в результате которого находятся значения расхода сетевой воды на неавтоматизированные системы отопления потребителей, превышающие расчетные. Эти значения расхода воды используются для определения значения температуры воды в обратных трубопроводах систем отопления, превышающей график температур качественного регулирования, и доли водоразбора из подающей линии, меньшей принятой при проведении первоначального гидравлического расчета. Определенная таким образом доля водоразбора из подающей линии является основой повторного гидравлического расчета системы теплоснабжения, в результате которого находятся новые значения расхода сетевой воды на неавтоматизированные системы отопления потребителей, превышающие значения, полученные при первоначальном гидравлическом расчете. По этим значениям расхода воды определяются температура воды в обратных трубопроводах систем отопления, доля и абсолютное значение водоразбора из подающей линии. Допускается принимать полученные таким образом значения расхода сетевой воды на отопление и расхода ее на водоразбор из подающей линии в качестве нормативных при данном характерном значении температуры наружного воздуха и не производить дальнейшие расчеты, уточняющие их.
3.7. В открытой системе теплоснабжения при отсутствии в ней автоматизированных систем теплопотребления определение нормативных значений расхода сетевой воды на отопление при характерных значениях температуры наружного воздуха, меньших значения, соответствующего точке излома температурного графика, также производится на основании гидравлических расчетов системы теплоснабжения. Значение расхода сетевой воды на горячее водоснабжение, используемое при гидравлических расчетах, определяется значением температуры разбираемой воды (из подающей или обратной линии).
В диапазоне отбора воды на горячее водоснабжение только из подающей линии значение водоразбора из нее зависит от температуры сетевой воды в этой линии и не зависит от температуры воды в обратных трубопроводах систем отопления, а следовательно, не зависит и от расхода воды на них. Поэтому в диапазоне водоразбора из подающей линии не требуется уточнять значение расхода воды на неавтоматизированные системы отопления и повторный гидравлический расчет оказывается ненужным.
В диапазоне отбора воды на горячее водоснабжение только из обратной линии повторный гидравлический расчет необходим, поскольку значения водоразбора, а следовательно, и расхода сетевой воды на неавтоматизированные системы отопления зависят от температуры воды в обратных трубопроводах этих систем. Первоначальный гидравлический расчет производится при значении водоразбора, определяемого температурой воды в обратных трубопроводах систем отопления, соответствующем качественному режиму регулирования. Полученные при этом значения расхода воды на системы отопления определяют повышенную температуру воды в обратных трубопроводах и новое, пониженное значение водоразбора, используемое при повторном гидравлическом расчете системы теплоснабжения, в результате которого находятся нормативные значения расхода сетевой воды на неавтоматизированные системы отопления и водоразбора из обратной линии.
1. Нормативное
значение тепловых потерь через теплоизоляционную конструкцию подающих и
обратных трубопроводов тепловой сети
и
(Гкал/ч) при каждой
характерной температуре наружного воздуха допускается определять по формулам:
(37)
(38)
где
,
и
- условные коэффициенты теплопередачи для
трубопроводов тепловой сети соответственно при их подземной и надземной
прокладках (при надземной прокладке - для подающих и обратных трубопроводов),
ккал/(ч·м2·°С);
,
и
- материальные характеристики соответственно
обоих трубопроводов подземной прокладки и подающих и обратных трубопроводов
надземной прокладки на участках тепловой сети от источников тепловой энергии до
потребителей, м2;
Lподз - суммарная длина обоих трубопроводов подземной прокладки на участках тепловой сети от источников тепловой энергии до потребителей, м;
и
- средние нормативные значения температуры
сетевой воды в подающей и обратной линиях тепловой сети при характерном
значении температуры наружного воздуха, °С;
- среднее за отопительный сезон значение
температуры грунта на глубине заложения трубопроводов, °С;
tнх - характерное значение температуры наружного воздуха, °С.
2. Условный
коэффициент теплопередачи для трубопроводов при их подземной прокладке
[ккал/(ч·м2·°С)]
определяется по формуле
Условные
коэффициенты теплопередачи для трубопроводов при надземной их прокладке
и
[ккал/(ч·м2·°С)]
принимаются из расчета тепловых потерь, проведенного согласно части II Методических указаний, или определяются по формулам:
(40)
,
и
- нормируемые значения эксплуатационных тепловых потерь
через теплоизоляционные конструкции трубопроводов подземной прокладки и подающих
и обратных трубопроводов надземной прокладки на участках тепловой сети
энергоснабжающей организации при среднегодовых температурных условиях работы
тепловой сети, ккал/ч;
Мподз, Мнадз.п и Мнадз.о - материальные характеристики обоих трубопроводов подземной прокладки и подающих и обратных трубопроводов надземной прокладки на участках тепловой сети энергоснабжающей организации, для которых производилось определение нормируемых значений эксплуатационных тепловых потерь через теплоизоляционную конструкцию трубопроводов, м2;
Lподз - суммарная длина обоих трубопроводов подземной прокладки на участках тепловой сети энергоснабжающей организации, для которых производилось определение нормируемых значений эксплуатационных тепловых потерь через теплоизоляционную конструкцию трубопроводов, м;
и
- среднегодовые значения температуры сетевой воды в
подающих и обратных трубопроводах тепловой сети, °С;
и
- среднегодовые значения температуры
грунта на глубине заложения трубопроводов и наружного воздуха, °С.
Все указанные величины принимаются из расчета тепловых потерь, проведенного согласно части II Методических указаний.
3. Материальная характеристика обоих трубопроводов подземной прокладки Мподз (м2) на участках тепловой сети от источников тепловой энергии до потребителей находится по формуле
М = 2 Σdн L, (42)
в которой суммирование производится по всем участкам подземной прокладки при наружном диаметре трубопроводов на участке dн (м) и их длине L (м).
Материальные характеристики подающих и обратных трубопроводов надземной Мнадз (м2) прокладки на участках тепловой сети от источников тепловой энергии до потребителей находятся по формулам:
Мнадз.п = Σdн L, (43)
Мнадз.о = Σdн L, (44)
в которых суммирование производится по всем участкам надземной прокладки при наружном диаметре трубопроводов на участке dн (м) и их длине L (м).
4. Среднее
значение температуры грунта на глубине заложения трубопроводов на протяжении
отопительного сезона
(°С) определяется на
основании среднемесячных значений температуры грунта за месяцы, входящие в
отопительный сезон.
Среднемесячные значения температуры грунта принимаются из расчета тепловых потерь, проведенного согласно части II Методических указаний.
5. Средние
нормативные значения температуры воды в подающей и обратной линиях тепловой
сети
и
допускается принимать
равными соответствующим значениям температуры сетевой воды
и
, определенным у совокупности потребителей при данном
характерном значении температуры наружного воздуха, которые находятся согласно
п. 1.8.6 и 1.6.11 части I Методических
указаний.
1. Корректировку
нормируемых значений расхода тепловой энергии и сетевой воды и значений ее
температуры в системе теплоснабжения необходимо осуществлять для тех суток
отчетного периода, в которых отклонения фактического среднесуточного значения
температуры воды в подающей линии
от нормативного ее
значения лежат в пределах от ± 3 до ± 15 % нормативного значения температуры
сетевой воды в подающей линии
, определенного по графику ее изменения при среднесуточном
значении температуры наружного воздуха. При отклонениях фактического
среднесуточного значения температуры воды в подающей линии от указанного
нормативного ее значения, меньших ± 3 %, производить корректировку
нецелесообразно; при отклонениях, больших ± 15 %, следует отказаться от
определения нормируемых значений расхода и температуры сетевой воды за данные
сутки вследствие значительного несоответствия фактического и расчетного режимов
системы теплоснабжения.
2.
Скорректированные нормируемые значения расхода тепловой энергии и сетевой воды
и температуры этой воды в системе теплоснабжения допустимо определять на
основании графика нормативной температуры сетевой воды в подающей линии системы
теплоснабжения
следующим
методом. При отклонении фактического среднесуточного значения температуры
сетевой воды в подающей линии
от нормативного ее
значения, определенного по графику
при среднесуточном
значении температуры наружного воздуха, на графике нормативной температуры воды
в этой линии находится точка, в которой
, и температура наружного воздуха tн.ск, соответствующая этой точке.
Скорректированные
среднесуточные значения нормируемых значений расхода сетевой воды в подающей и
обратной линиях системы теплоснабжения
и
находятся по
соответствующим нормативным графикам
и
при найденном
значении температуры наружного воздуха tн.ск.
Скорректированные
среднесуточные нормируемые значения расхода тепловой энергии в системе
теплоснабжения
определяются
из графика нормативного расхода тепловой энергии
при найденном
значении температуры наружного воздуха tн.ск.
Скорректированные
среднесуточные нормируемые значения температуры сетевой воды в обратной линии
системы теплоснабжения
находятся из графика
ее нормативной температуры
при температуре
наружного воздуха tн.ск.
Скорректированные
среднесуточные нормируемые значения электрической мощности электродвигателей в
тепловой сети энергоснабжающей организации
находятся из графика их нормативных
значений
также при
найденном значении температуры наружного воздуха tн.ск.
3. Рассмотренный подход к определению нормируемых значений расхода сетевой воды, который кладется в основу выявления показателей режима системы теплоснабжения и удельного расхода электроэнергии, позволяет в большинстве случаев избежать дополнительного проведения значительного количества гидравлических расчетов системы теплоснабжения при отклонениях фактического среднесуточного значения температуры воды в подающей линии от нормативного графика.
4. При
фактическом среднесуточном значении температуры сетевой воды в подающей линии
, большем нормативного значения температуры воды в
этой линии в диапазоне срезки графика температур (t1с), допустимо определять скорректированные среднесуточные
нормируемые значения расхода сетевой воды, ее температуры в обратной линии,
расхода тепловой энергии и электрической мощности электродвигателей в системе
теплоснабжения по соответствующим нормативным графикам при значении температуры
наружного воздуха, отвечающем точке срезки графика температур (tнс).
При фактическом
среднесуточном значении температуры сетевой воды в подающей линии
, меньшем нормативного значения температуры воды в
этой линии в диапазоне спрямления графика температур (t1и) на 3 % и более, корректировка
нормируемых среднесуточных значений рассматриваемым методом невозможна. При
указанном понижении температуры сетевой воды серьезно нарушается гидравлический
режим тепловой сети, а в ряде случаев вообще невозможно оценить расходы воды у
потребителей и по тепловой сети. В связи с этим сутки, в которые фактическое
среднесуточное значение температуры сетевой воды в подающей линии оказывалось
меньше нормативного значения температуры воды t1и на 3 % и более, следует исключать при определении
нормируемых значений показателей режима систем теплоснабжения и удельных затрат
электроэнергии.
1. Правила технической эксплуатации электрических станций и сетей Российской Федерации: РД 34.20.501-95. - М.: СПО ОРГРЭС, 1996.
3. СНиП 2.04.01-85. Внутренний водопровод и канализация зданий.
СОДЕРЖАНИЕ