МИНИСТЕРСТВО НЕФТЯНОЙ ПРОМЫШЛЕННОСТИ

УТВЕРЖДАЮ

Начальник Главного

технического управления

___________Г.И. Григоращенко

"26" января 1987 г.

ИНСТРУКЦИЯ
ПО ТЕХНОЛОГИИ ОГРАНИЧЕНИЯ ПРИТОКА ВОДЫ
И ИНТЕНСИФИКАЦИИ ДОБЫЧИ НЕФТИ МНОГОКОМПОНЕНТНОЙ ПЕНОЙ НА ОСНОВЕ СУЛЬФАТНОГО (МОНОСУЛЬФИТНОГО) ЧЕРНОГО ЩЕЛОКА

РД 39-0147035-205-87

Москва - 1987

Настоящий документ разработан Всесоюзным нефтегазовым научно-исследовательским институтом (ВНИИ)

Директор ВНИИ                                                                                              М.Л. Сургучев

" " _______ 198 г.

Ответственный исполнитель -

Начальник отдела использования

фонда скважин                                                                                                 Н.С. Горохов

"15" декабря 1986 г.

СОГЛАСОВАНО

Начальник Главного управления

по добыче нефти и газа                                                                                   А.Л. Шкуров

"24" _______ 1980

РУКОВОДЯЩИЙ ДОКУМЕНТ
ТЕХНОЛОГИЯ ОГРАНИЧЕНИЯ ПРИТОКА ВОД И ИНТЕНСИФИКАЦИИ ДОБЫЧИ НЕФТИ МНОГОКОМПОНЕНТНОЙ ПЕНОЙ НА ОСНОВЕ СУЛЬФАТНОГО (МОНОСУЛЬФИТНОГО) ЧЕРНОГО ЩЕЛОКА

РД 39-0147035-205-87

Вводится впервые

Срок введения установлен с 01.02.87

Срок действия до 01.02.90

Аннотация

Руководство устанавливает правила проведения технологического процесса ограничения притока воды в скважину и интенсификации добычи нефти с использованием многокомпонентной пены на основе моносульфитного черного щелока ТУ-13-7308001-453-84.

Руководство содержит основные сведения о физико-химических свойствах реагентов и пенообразующего раствора, регламентирует правила выбора скважин для ремонтно-изоляционных работ в зависимости от горно-геологических, физических условий пластов и технического состояния скважин. Содержит сведения, необходимые для практического осуществления технологического процесса ограничения притока вод в скважину и интенсификации добычи нефти.

Составители: Горохов Н.С., Киселева Г.С., Магадова Л.А., Ромашова М.М., Каримов Г.С., Николаев Б.В., Беляева А.Д., Мариненко В.Н.

1. ОБЩИЕ ПОЛОЖЕНИЯ

Настоящая инструкция предназначена для руководства при проведении технологического процесса ограничения притока воды в скважину и интенсификации добычи нефти с применением многокомпонентной пены на основе моносульфитного черного щелока.

Как показали опытно-промышленные работы в объединении "Татнефть", закачка многокомпонентной пенной системы на основе моносульфитного щелока способствует увеличению добычи нефти и снижению степени обводненности скважин.

2. ТРЕБОВАНИЯ, ПРИМЕНЯЕМЫЕ К ТЕХНОЛОГИЧЕСКОМУ ПРОЦЕССУ

Одним из основных требований к технологическому процессу ограничения притока воды в скважину и интенсификации добычи нефти является правильный выбор скважины для проведения в ней процесса с применением пены на основе моносульфитного черного щелока.

Технология должна применяться на обводненных скважинах, эксплуатирующих продуктивные пласты угленосного и девонского нефтеносных горизонтов со следующими характеристиками: тип коллектора - поровый или порово-трещинный; пластовое давление - не выше гидростатического; пластовая температура - не выше 80 °С; процент воды в продукции скважин - 80 % и более; обводнение скважин происходит пластовой или закачиваемой водой.

Обработку скважин многокомпонентной пеной производить при наличии приемистости пласта, не применяя дополнительного воздействия на пласт.

3. ТЕХНИЧЕСКИЕ СРЕДСТВА И МАТЕРИАЛЫ, НЕОБХОДИМЫЕ ДЛЯ ОСУЩЕСТВЛЕНИЯ ТЕХНОЛОГИЧЕСКОГО ПРОЦЕССА

3.1. При закачке многокомпонентной пены применяется следующее стандартное нефтепромысловое оборудование:

цементировочный агрегат ЦА-320М, ТУ 26-02-30-75;

передвижной компрессор СД 9/101, ТУ 26-12-665-82;

автоцистерна АЦН, ТУ 26-16-32-77;

емкости для пенообразующего и буферного растворов;

аэратор.

3.2. Для приготовления рабочих растворов используются следующие химические реагенты:

Щелок черный моносульфитный с Пермского

целлюлозно-бумажного комбината                                           ТУ 13-7308001-453-84

Кальций хлористый технический                                               ГОСТ 154-77

Натр едкий технический                                                             ГОСТ 2263-79

Пресная вода                                                                                 ГОСТ 23732-79

4. СХЕМЫ, НЕОБХОДИМЫЕ ДЛЯ ОСУЩЕСТВЛЕНИЯ МОНТАЖА И ЭКСПЛУАТАЦИИ ОБОРУДОВАНИЯ

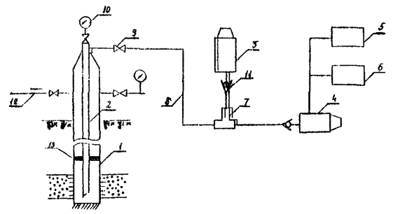
Технологический процесс предусматривает приготовление пенообразующего раствора и буферной жидкости на растворном узле рис. 1, доставку их на скважину и закачку растворов в пласт по схеме, представленной на рис. 2.

Рис. 1. Схема растворного узла для приготовления пенообразующей жидкости

1 - емкости для хранения ПАВ; 2 - емкость для воды; 3 - емкость для готового пенообразующего раствора; 4 - емкость для приготовления буферной жидкости; 5 - смесительное устройство; 6 - насос; 7 - трехходовой кран: 8 - счетчик; 9 - фильтр.

Рис. 2 Схема обвязки устья скважины для закачки пены в пласт

1 - эксплуатационная колонна; 2 - насосно-компрессорные трубы; 3 - компрессор; 4 - цементировочный агрегат; 5 - емкость для буферной жидкости; 6 - емкость для пенообразующей жидкости; 7 - аэратор (эжектор); 8 - нагнетательная линия; 9 - задвижки; 10 - манометр; 11 - обратный клапан; 12 - линия сброса; 13 - пакер.

5. ПОДГОТОВКА НЕОБХОДИМЫХ МАТЕРИАЛОВ К РАБОТЕ

Буферная жидкость представляет собой 36 %-ный раствор хлористого кальция в пресной воде. Расчет количества, необходимого технического продукта для приготовления 1 м3 раствора данной концентрации представлен в таблице 1.

Таблица 1

Реагенты (технические продукты)

Количество реагентов в кг для приготовления 1 м3 буферной жидкости в зависимости от содержания хлористого кальция в техническом продукте

Кальцинированный хлористый кальций 96 %-ный, кг

Кальцинированный хлористый кальций 90 %-ный, кг

Плавленный хлористый кальций 78 %-ный, кг

Плавленный хлористый кальций 76 %-ный, кг

Жидкий хлористый кальций 38 %-ный, кг

Жидкий хлористый кальций 36 %-ный, кг

Хлористый кальций

375

400

461

474

947

1350

пресная вода

975

950

889

876

403

-

Плотность 36 %-ного раствора хлористого кальция - 1350 кг/м3.

5.2. Состав пенообразующего раствора (содержание компонентов, масс. %)

щелок черный моносульфитный           - 20;

натр едкий                                               - 4;

кальций хлористый                                - 5;

пресная вода                                            - остальное.

5.3. Технология приготовления пенообразующего раствора заключается в следующем. В расчетном количестве воды при тщательном перемешивании растворяют последовательно едкий натр н моносульфитный черный щелок, затем в приготовленный раствор добавляют 36 %-ный раствор хлористого кальция (приготовленный по п. 5.1). Полученный раствор тщательно перемешивают до получения однородного состава. Расход реагентов, необходимых для приготовления 1 м3 пенообразующего раствора, представлен в таблице 2.

Таблица 2

Щелок черный моносульфитный, кг

Едкий натр, кг

Хлористый кальций 36 %-ный, r = 1350 кг/м3

Пресная вода, л

217

44

13

687

Плотность пенообразующего раствора r = 1087 кг/м3. Температура транспортировки и хранения пенообразующего раствора - не ниже (-20 °С).

6. ТЕХНОЛОГИЧЕСКИЙ ПРОЦЕСС

6.1. При подготовке скважины к обработке спускают НКТ до нижних перфорационных отверстий, устанавливают устьевую арматуру, к которой подсоединяют линии высокого давления, цементировочный агрегат, компрессор, аэратор согласно схеме 2.

6.2. При открытом затрубном пространстве в скважину закачивают нижнюю буферную жидкость, затем при закрытом затрубном пространстве закачивают воздух и пенообразующий раствор, которые продавливают в пласт верхней буферной жидкостью.

6.3. По окончании указанных операций скважину выдерживают не менее 5 суток для завершения всех физико-химических процессов в пластовых условиях.

6.4. Нижняя и верхняя буферные жидкости представляют собой 36 %-ный раствор хлористого кальция и закачиваются в количестве 2-х объемов НКТ каждая.

6.5. Закачка воздуха осуществляется компрессором с расходом 0,13 м3/сек, а закачка пенообразующего раствора со скоростью 0,001 м3/сек в объеме 30 м3.

6.6. Закачка рабочих жидкостей и воздуха при всех операциях осуществляется в пределах допустимых рабочих давлений агрегатов и скважин.

6.7. После проведения технологического процесса освоение скважины и её запуск в работу производят в пределах депрессий, предусмотренных технологическим режимом эксплуатации скважин.

7. ТРЕБОВАНИЯ БЕЗОПАСНОСТИ И ВЛИЯНИЕ НА ОКРУЖАЮЩУЮ СРЕДУ

7.1. Технологический процесс должен осуществляться в соответствии с действующими "Правилами безопасности в нефтегазодобывающей промышленности", утвержденными Госгортехнадзором СССР 31.01.74, "Правилами устройства и безопасной эксплуатации стационарных компрессорных установок, воздухопроводов и газопроводов", М., Металлургия, 1973 г. и "Правилами устройства и безопасной эксплуатации сосудов, работающих под давлением", М., Металлургия, 1974 г., "Общими санитарными правилами по хранению и применению ядовитых реагентов, применяемых в нефтегазодобывающей промышленности", "Отраслевой инструкцией по безопасному ведению работ при применении пенных систем в добыче нефти и газа", ИБТВ 1-103-84.

7.2. К работам с применением пенных систем допускаются лица, обученные согласно "Положению о порядке обучения персонала безопасными методами работы", Единой системы работ по созданию безопасных условий труда, настоящей инструкции и имеющие отметки о допуске к работам в удостоверении о проверке знаний.

7.3. Осуществление технологии ограничения притока вод многокомпонентной пеной на основе моносульфитного черного щелока должна проводиться на скважинах по плану, утвержденному главным инженером предприятия.

7.4. Натр едкий - представляет собой сыпучий кристалл белого цвета. Предельно допустимая концентрация паров в воздухе рабочей зоны составляет 0,5 мг/м3, контролируется по ГОСТ 12.1.014-76 ССБТ.

По степени воздействия на организм человека едкий натр относится ко 2 классу опасности ГОСТ 12.1.005-85.

Натр едкий - пожароопасен.

При попадании на кожу вызывает тяжелейшие глубокие ожоги.

Опасно попадание едкого натра в глаза.

При попадании на кожу щелочи следует обмыть пораженный участок водой в течение 10 мин, наложить примочку из 5 %-ного раствора уксусно-лимонной кислоты.

При попадании щелочи в глаза необходимо тщательно промывать струей воды или физиологическим раствором в течение 10-30 мин.

При работах со щелочью необходимо пользоваться средствами индивидуальной защиты (курткой, брюками, халатом по ГОСТ 12.4.006-78, фартуком по ГОСТ 12.4.029-76, спецобувью по ГОСТ 5375-79, защитными очками по ГОСТ 12.4.013-75, фильтрующими промышленными противогазами с коробкой марки "В" "КД", "БКФ".

7.5. Щелок черный моносульфитный - однородная густая жидкость темно-коричневого цвета, представляет собой смесь лигносульфонатов аммония или натрия, минеральных солей и органических кислот.

Моносульфитный черный щелок обладает сильным аммиачным запахом. При вдыхании паров может возникнуть головокружение, тошнота, раздражение слизистых дыхательных путей и глаз.

Моносульфитный черный щелок при попадании на кожу может вызвать дерматит.

При работе со щелоком необходимо пользоваться защитными очками по ГОСТ 12.4.013-75, прорезиненными фартуками по ГОСТ 12.4.029-76, резиновыми сапогами по ГОСТ 5375-79, а также защитными пастами и мазями ("Айро", "Биологические перчатки" и т.п.).

7.6. По окончании работ оборудование и коммуникации должны быть очищены от химреагентов дизельным топливом или керосином, а затем промыты водой. Пенообразующий раствор и буферная жидкость должны быть закачаны в скважину, а остатки - слиты в специальные емкости для дальнейшей утилизации. При использовании дизельного топлива и керосина следует руководствоваться ГОСТ 1510-76.

7.7. Противопожарные мероприятия при работе с пенообразующим составом проводятся в соответствии с руководством "Ремонтные работы. Правила пожарной безопасности в нефтяной промышленности". Баку, 1976, утв. 03.04.74. Не допускается применение открытого огня. При работе необходимо пользоваться инструментом, не дающим искры при ударе. Все агрегаты, автоцистерны должны быть снабжены искрогасителями.

Средствами пожаротушения являются: песок, кошма, углекислотные огнетушители, порошок ПОВ с интенсивностью подачи 0,8 кг/(м2×с) и расходом 4,3 кг/м2; распыленная вода с интенсивностью подачи 1,0-1,35 кг/(м2×с) и расходом 0,8-1,9 кг/л продукта; воздушно-механическая пена средней кратности на основе 6 %-ного раствора пенообразователя ПО-1Д интенсивностью подачи 0,23 кг/(м2×с).

7.8. При проведении технологических операций необходимо соблюдать следующие мероприятия по охране окружающей среды.

7.8.1. Не допускать сброса пены в водоемы и источники питьевой воды.

7.8.2. Жидкость и пену, выходящие из скважины, рекомендуется подавать:

- в нефтесборный коллектор;

- в специальную емкость для сброса в систему сбора промысловых сточных вод.

8. ОРГАНИЗАЦИЯ ВНЕДРЕНИЯ

8.1. Внедрение технологии осуществляется специализированными бригадами капитального ремонта скважин в соответствии с приказом "О внедрении разработок в области РИР и ОПЗ скважин".

8.2. Организация и контроль за выполнением оргтехмероприятий осуществляется в соответствии с табл. 3.

Таблица 3

Виды работ

Ответственный исполнитель

1. Составление заявок на химреагенты

Главный технолог УПНП и КРС, начальник отдела технологии капитального ремонта скважин объединения

2. Приобретение и обеспечение приема и хранения реагентов

Начальник Управления производственно-технического обслуживания и комплектации оборудования

3. Выбор и предоставление скважин для РИР

Главный инженер, главный геолог, начальник отдела разработки НГДУ

4. Организация и проведение РИР с использованием технологии

Главный инженер, главный технолог УПНП и КРС, старший геолог, мастер цеха капитального ремонта скважин

8.3. Авторский надзор за внедрением технологии осуществляется в соответствии с разделом 5 РД 39-4701482-000-85 "Разработка и внедрение технологических процессов для нефтяной промышленности".

Приложение

В 1985 году в ПО "Татнефть" НГДУ "Актюбанефть" проводились опытно-промышленные работы по испытанию разработанной технологии в объеме 10 скважино-операций. Коэффициент успешности обработок составил 50 %. Продолжительность эффекта от 1 до 5 месяцев, дополнительная добыча нефти за 1985 г. составила 2740 т, а уменьшение объема отбора воды из пласта - 2227 т.

Пример осуществления технологического процесса на скважине № 10902 ПО "Татнефть" НГДУ "Актюбанефть", Павловская площадь.

Геолого-техническое состояние скважины перед РИР.

Интервал перфорации - 1791-1794 м

Эксплуатационный горизонт - ДI

Приемистость пласта - 320 м3/сут.

Диаметр эксплуатационной колонны - 168 мм.

Технологический процесс

1. Спущены в эксплуатационную колонну 73 мм НКТ с пакером и воронкой на глубину 1795 м; установлена устьевая арматура, к которой подсоединены линиями высокого давления цементировочный агрегат, компрессор и аэратор.

2. Нагнетательная линия спрессована на давление 25 МПа.

3. При открытой затрубной задвижке в НКТ закачали нижнюю буферную жидкость (36 %-ный раствор хлористого кальция) в объеме 16 м3.

4. Закрыли затрубную задвижку, установили пакер.

5. В НКТ последовательно закачали по 16 м3 воздуха и 15 м3 пенообразующего раствора в два приема до достижения давления на компрессоре 7-8 МПа.

6. Затем закачали еще 16 м3 воздуха.

7. Поверх воздуха закачали верхнюю буферную жидкость - 36 %-ный раствор хлористого кальция в объеме 16 м3.

8. Закрыли задвижку, скважину выдержали 6 суток, затем приступили к освоению скважины.

9. Результаты обработок представлены в таблице.

Таблица

скважины

Дата проведения обработки

Данные до обработки

Данные после обработки

Результаты обработки

Дебит нефти, т/сут

Дебит воды, т/сут

Обводненность продукции, %

Дебит нефти, т/сут

Дебит воды, т/сут

Обводненность продукции, %

Дополнительная добыча, т

Уменьшение объема воды, т

Продолжительность эффекта, сутки

10902

10.10.1985 г

1,4

173,6

99,2

9,4

155,6

93

240

244

30

Дополнительная добыча нефти от обработки составила 240 т.

СОДЕРЖАНИЕ

1. Общие положения. 2

2. Требования, применяемые к технологическому процессу. 2

3. Технические средства и материалы, необходимые для осуществления технологического процесса. 2

4. Схемы, необходимые для осуществления монтажа и эксплуатации оборудования. 2

5. Подготовка необходимых материалов к работе. 3

6. Технологический процесс. 4

7. Требования безопасности и влияние на окружающую среду. 4

8. Организация внедрения. 5

Приложение. 5